公布日:2023.12.05
申請日:2023.10.08
分類號:C02F11/123(2019.01)I;C02F11/121(2019.01)I;C02F11/00(2006.01)I
摘要
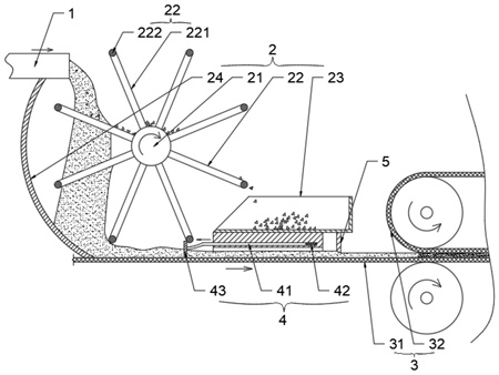
本申請提供了一種帶式污泥壓榨過濾脫水裝置,包括帶式壓榨部、預處理過濾部、污泥輸入管,其中,污泥輸入管內流通有待進行壓榨脫水的污泥;預處理過濾部設置于污泥輸入管的出口下方,預處理過濾部用于濾除污泥內的大塊雜質;帶式壓榨部設置于預處理過濾部的下方,帶式壓榨部用于對完成預處理后的污泥進行壓榨脫水。本申請提供的帶式污泥壓榨過濾脫水裝置,可將污泥中的大塊雜質過濾篩除,使得進入到帶式壓榨部的污泥內無大塊雜質,以便于帶式壓榨部對污泥進行壓榨脫水,確保污泥壓榨脫水效果并保護帶式壓榨部,降低帶式壓榨部在對污泥壓榨脫水過程中的損傷,提高帶式壓榨部的使用壽命。

權利要求書
1.一種帶式污泥壓榨過濾脫水裝置,其特征在于,所述帶式污泥壓榨過濾脫水裝置包括:污泥輸入管,所述污泥輸入管內流通有待進行壓榨脫水的污泥;預處理過濾部,所述預處理過濾部設置于所述污泥輸入管的出口下方,所述預處理過濾部用于濾除污泥內的大塊雜質;帶式壓榨部,所述帶式壓榨部設置于所述預處理過濾部的下方,所述帶式壓榨部用于對完成預處理后的污泥進行壓榨脫水。
2.根據權利要求1所述的一種帶式污泥壓榨過濾脫水裝置,其特征在于,所述預處理過濾部包括:轉軸,所述轉軸可轉動設置于所述污泥輸入管的出口下方;第一動力部,所述第一動力部的動力輸出軸與所述轉軸相連,所述第一動力部驅動所述轉軸旋轉,且所述轉軸靠近所述污泥輸入管一側的線速度方向向上;若干篩選葉片,所述篩選葉片均勻環繞固定在所述轉軸上;收集部,所述收集部固定于所述帶式壓榨部上,且所述收集部位于所述轉軸遠離所述污泥輸入管一側的下方,所述收集部用于收集由所述篩選葉片篩出的大塊雜質;連接濾板,所述連接濾板的上端與所述污泥輸入管的底部相連,所述連接濾板的底部與所述帶式壓榨部接壤。
3.根據權利要求2所述的一種帶式污泥壓榨過濾脫水裝置,其特征在于,還包括自動分散部,所述自動分散部設置于所述收集部上,所述自動分散部包括:分散桿,所述分散桿滑動設置于所述收集部上;彈性件,所述彈性件一端與所述分散桿相連接,所述彈性件的另一端與所述收集部相連接;分散塊,所述分散塊固定于所述分散桿上,所述分散塊的底部滑動配合于所述帶式壓榨部的表面,所述分散塊的底部包括多個楔形分散結構,且所述楔形分散結構的尖端朝向與污泥的運動方向相反;所述分散塊的頂部與所述篩選葉片相互作用,當所述篩選葉片的末端轉動至低點區域時,所述篩選葉片帶動所述分散塊與所述分散桿朝著遠離所述收集部方向運動,直至所述篩選葉片的末端轉動離開低點區域后,所述篩選葉片于所述分散塊脫離。
4.根據權利要求2所述的一種帶式污泥壓榨過濾脫水裝置,其特征在于:還包括撫平部,所述撫平部設置于所述收集部的底部,所述撫平部的底部設置有撫平面,所述撫平面沿著污泥運動方向傾斜向下設置。
5.根據權利要求2所述的一種帶式污泥壓榨過濾脫水裝置,其特征在于,所述篩選葉片包括:若干篩分桿,所述篩分桿相互平行等距設置,所述篩分桿的一端固定于所述轉軸上,所述篩分桿的橫截面呈三角形,當所述篩選葉片轉動至靠近所述污泥輸入管一側時,所述篩分桿的尖端朝上;末端連桿,所述末端連桿與所述篩分桿的另一端相連。
6.根據權利要求5所述的一種帶式污泥壓榨過濾脫水裝置,其特征在于:相鄰的所述篩選葉片上的所述篩分桿交錯設置。
7.根據權利要求1所述的一種帶式污泥壓榨過濾脫水裝置,其特征在于,所述帶式壓榨部包括:下壓榨傳送帶,所述下壓榨傳送帶通過下傳動輥支撐于所述預處理過濾部下方;上壓榨傳送帶,所述上壓榨傳送帶通過上傳動輥支撐于所述下壓榨傳送帶上方,且所述上壓榨傳送帶于所述下壓榨傳送帶同步運動;第二動力部,所述第二動力部驅動所述下傳動輥于所述上傳動輥運轉。
8.根據權利要求7所述的一種帶式污泥壓榨過濾脫水裝置,其特征在于:所述帶式壓榨部還包括刮板部,所述刮板部設置于所述下壓榨傳送帶與所述上壓榨傳送帶輸出端,所述刮板部緊貼所述下壓榨傳送帶與所述上壓榨傳送帶的表面,所述刮板部用于刮除所述下壓榨傳送帶與所述上壓榨傳送帶上壓榨完成的污泥。
9.根據權利要求7所述的一種帶式污泥壓榨過濾脫水裝置,其特征在于:所述帶式壓榨部還包括循環噴淋部,所述循環噴淋部包括壓榨水收集槽、過濾器、泵體、噴淋水管、噴嘴;所述壓榨水收集槽設置于所述下壓榨傳送帶的下方,所述壓榨水收集槽用于收集污泥壓榨出的水分;所述泵體設置于所述壓榨水收集槽內,且所述泵體的輸入端設置有所述過濾器,所述噴淋水管一端與所述泵體的輸出端相連通,所述噴淋水管的另一端設置于所述下壓榨傳送帶與所述上壓榨傳送帶的返程側,所述噴嘴設置于所述噴淋水管上遠離所述泵體的一端,所述噴嘴噴淋方向朝向所述下壓榨傳送帶/所述上壓榨傳送帶。
10.一種帶式污泥壓榨過濾脫水方法,采用了上述權利要求1-9中任意一項所述的帶式污泥壓榨過濾脫水裝置,其特征在于,所述帶式污泥壓榨過濾脫水方法包括以下步驟:S1、利用污泥輸入管向預處理過濾部內持續輸入帶壓榨脫水的污泥;S2、預處理過濾部對污泥進行過濾篩選,將污泥中大塊雜質挑出,避免大塊雜質進入到帶式壓榨部后損傷帶式壓榨部以及影響污泥壓榨脫水效果,并對污泥進行初步過濾脫水;S3、完成預處理的污泥進入到帶式壓榨部內進行壓榨脫水,完成脫水后的污泥從帶式壓榨部的末端排出;S4、利用運輸工具將帶式壓榨部末端的壓榨脫水污泥及時運走,避免污泥堆積影響帶式壓榨部正常工作。
發明內容
本發明的一個目的在于提供一種帶式污泥壓榨過濾脫水裝置,用以解決傳統的帶式壓榨脫水裝置無法預先篩除淤泥中的大塊雜質,導致降低帶式壓榨脫水裝置壓榨脫水效果與壓榨傳送帶的使用壽命。
為了解決上述技術問題,本發明提供了一種帶式污泥壓榨過濾脫水裝置,所述帶式污泥壓榨過濾脫水裝置包括:
污泥輸入管,所述污泥輸入管內流通有待進行壓榨脫水的污泥;
預處理過濾部,所述預處理過濾部設置于所述污泥輸入管的出口下方,所述預處理過濾部用于濾除污泥內的大塊雜質;
帶式壓榨部,所述帶式壓榨部設置于所述預處理過濾部的下方,所述帶式壓榨部用于對完成預處理后的污泥進行壓榨脫水。
在一個實施例中,所述預處理過濾部包括:
轉軸,所述轉軸可轉動設置于所述污泥輸入管的出口下方;
第一動力部,所述第一動力部的動力輸出軸與所述轉軸相連,所述第一動力部驅動所述轉軸旋轉,且所述轉軸靠近所述污泥輸入管一側的線速度方向向上;
若干篩選葉片,所述篩選葉片均勻環繞固定在所述轉軸上;
收集部,所述收集部固定于所述帶式壓榨部上,且所述收集部位于所述轉軸遠離所述污泥輸入管一側的下方,所述收集部用于收集由所述篩選葉片篩出的大塊雜質;
連接濾板,所述連接濾板的上端與所述污泥輸入管的底部相連,所述連接濾板的底部與所述帶式壓榨部接壤。
在一個實施例中,還包括自動分散部,所述自動分散部設置于所述收集部上,所述自動分散部包括:
分散桿,所述分散桿滑動設置于所述收集部上;
彈性件,所述彈性件一端與所述分散桿相連接,所述彈性件的另一端與所述收集部相連接;
分散塊,所述分散塊固定于所述分散桿上,所述分散塊的底部滑動配合于所述帶式壓榨部的表面,所述分散塊的底部包括多個楔形分散結構,且所述楔形分散結構的尖端朝向與污泥的運動方向相反;所述分散塊的頂部與所述篩選葉片相互作用,當所述篩選葉片的末端轉動至低點區域時,所述篩選葉片帶動所述分散塊與所述分散桿朝著遠離所述收集部方向運動,直至所述篩選葉片的末端轉動離開低點區域后,所述篩選葉片于所述分散塊脫離。
在一個實施例中,還包括撫平部,所述撫平部設置于所述收集部的底部,所述撫平部的底部設置有撫平面,所述撫平面沿著污泥運動方向傾斜向下設置。
在一個實施例中,所述篩選葉片包括:
若干篩分桿,所述篩分桿相互平行等距設置,所述篩分桿的一端固定于所述轉軸上,所述篩分桿的橫截面呈三角形,當所述篩選葉片轉動至靠近所述污泥輸入管一側時,所述篩分桿的尖端朝上;
末端連桿,所述末端連桿與所述篩分桿的另一端相連。
在一個實施例中,相鄰的所述篩選葉片上的所述篩分桿交錯設置。
在一個實施例中,所述帶式壓榨部包括:
下壓榨傳送帶,所述下壓榨傳送帶通過下傳動輥支撐于所述預處理過濾部下方;
上壓榨傳送帶,所述上壓榨傳送帶通過上傳動輥支撐于所述下壓榨傳送帶上方,且所述上壓榨傳送帶于所述下壓榨傳送帶同步運動;
第二動力部,所述第二動力部驅動所述下傳動輥于所述上傳動輥運轉。
在一個實施例中,所述帶式壓榨部還包括刮板部,所述刮板部設置于所述下壓榨傳送帶與所述上壓榨傳送帶輸出端,所述刮板部緊貼所述下壓榨傳送帶與所述上壓榨傳送帶的表面,所述刮板部用于刮除所述下壓榨傳送帶與所述上壓榨傳送帶上壓榨完成的污泥。
在一個實施例中,所述帶式壓榨部還包括循環噴淋部,所述循環噴淋部包括壓榨水收集槽、過濾器、泵體、噴淋水管、噴嘴;所述壓榨水收集槽設置于所述下壓榨傳送帶的下方,所述壓榨水收集槽用于收集污泥壓榨出的水分;所述泵體設置于所述壓榨水收集槽內,且所述泵體的輸入端設置有所述過濾器,所述噴淋水管一端與所述泵體的輸出端相連通,所述噴淋水管的另一端設置于所述下壓榨傳送帶與所述上壓榨傳送帶的返程側,所述噴嘴設置于所述噴淋水管上遠離所述泵體的一端,所述噴嘴噴淋方向朝向所述下壓榨傳送帶/所述上壓榨傳送帶。
本發明的另一個目的在于提供一種帶式污泥壓榨過濾脫水方法,采用了上述任意一項實施例中所述的帶式污泥壓榨過濾脫水裝置,所述帶式污泥壓榨過濾脫水方法包括以下步驟:
S1、利用污泥輸入管向預處理過濾部內持續輸入帶壓榨脫水的污泥;
S2、預處理過濾部對污泥進行過濾篩選,將污泥中大塊雜質挑出,避免大塊雜質進入到帶式壓榨部后損傷帶式壓榨部以及影響污泥壓榨脫水效果,并對污泥進行初步過濾脫水;
S3、完成預處理的污泥進入到帶式壓榨部內進行壓榨脫水,完成脫水后的污泥從帶式壓榨部的末端排出;
S4、利用運輸工具將帶式壓榨部末端的壓榨脫水污泥及時運走,避免污泥堆積影響帶式壓榨部正常工作。
本發明實施例中上述的一個或多個技術方案,至少具有如下技術效果或優點:
本發明實施例提供的帶式污泥壓榨過濾脫水裝置,通過在污泥輸入管下方,利用預處理過濾部對即將進入到帶式壓榨部的污泥進行過濾處理,進而將污泥中的大塊雜質過濾篩除,使得進入到帶式壓榨部的污泥內無大塊雜質,以便于帶式壓榨部對污泥進行壓榨脫水,確保污泥壓榨脫水效果并保護帶式壓榨部,降低帶式壓榨部在對污泥壓榨脫水過程中的損傷,提高帶式壓榨部的使用壽命。
(發明人:柴斐斐;郭永翔;楊琦)






