公布日:2023.11.24
申請日:2023.09.26
分類號:C02F9/00(2023.01)I;C02F103/16(2006.01)N;C02F101/20(2006.01)N;C02F1/00(2023.01)N;C02F1/461(2023.01)N
摘要
本發明公開了一種氨基磺酸鎳電鍍廢水回收利用系統,具體涉及廢水回收處理設備技術領域,包括:回收處理箱,所述回收處理箱的頂部設有多個加料管,且回收處理箱的一側設置具有閘門的排廢管,所述回收處理箱的內部形成有相互連通的混合室和過濾室;攪拌混合機構,所述攪拌混合機構設置在所述混合室內;本發明通過設置由橫向攪拌構件和縱向攪拌構件組成的攪拌混合機構,能夠將氨基磺酸鎳電鍍廢水與反應藥劑攪拌均勻,使得氨基磺酸鎳電鍍廢水與反應藥劑之間充分混合,從而實現電鍍廢水的充分反應,大大的增加了電鍍廢水的回收處理效果,并且提高了電鍍廢水的回收處理效率,方便電鍍廢水的回收利用。

權利要求書
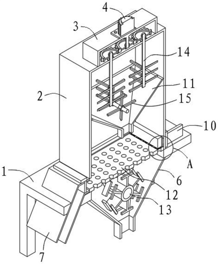
1.一種氨基磺酸鎳電鍍廢水回收利用系統,其特征在于,包括:回收處理箱(2),所述回收處理箱(2)的頂部設有多個加料管(5),且回收處理箱(2)的一側設置具有閘門的排廢管(7),所述回收處理箱(2)的內部形成有相互連通的混合室和過濾室;攪拌混合機構,所述攪拌混合機構設置在所述混合室內,所述攪拌混合機構連接有動力機構,且所述動力機構用于驅動所述攪拌混合機構將混合室內的電鍍廢水進行橫向和縱向攪拌;儲料斗(6),所述儲料斗(6)固定在回收處理箱(2)的底部,且儲料斗(6)與所述過濾室連通,所述儲料斗(6)的底端設置具有電動閥的排料管。
2.根據權利要求1所述的一種氨基磺酸鎳電鍍廢水回收利用系統,其特征在于:所述回收處理箱(2)內置有集料斗(11),且集料斗(11)設置在所述混合室和過濾室之間,所述集料斗(11)的底部設置具有電動閥的下料管,且所述下料管將所述混合室和過濾室連通。
3.根據權利要求2所述的一種氨基磺酸鎳電鍍廢水回收利用系統,其特征在于:所述攪拌混合機構包括橫向攪拌構件(14),且所述橫向攪拌構件(14)包括至少一個轉動設置在所述混合室內的豎向軸桿(141),每個所述豎向軸桿(141)上均套接有若干沿其軸向等間距分布的橫向攪拌桿(142),所述橫向攪拌桿(142)位于集料斗(11)的上方。
4.根據權利要求2所述的一種氨基磺酸鎳電鍍廢水回收利用系統,其特征在于:所述攪拌混合機構還包括縱向攪拌構件(15),且所述縱向攪拌構件(15)包括轉動設置在所述混合室內的橫向軸桿,所述橫向軸桿上安裝有多個長短不一的豎向攪拌桿,且多個所述豎向攪拌桿均位于所述集料斗(11)內。
5.根據權利要求3所述的一種氨基磺酸鎳電鍍廢水回收利用系統,其特征在于:所述動力機構包括驅動構件(4),且所述驅動構件(4)包括安裝在回收處理箱(2)頂端的防護罩(3)及固定在所述防護罩(3)上的第一電機(41);所述第一電機(41)的輸出軸延伸至防護罩(3)內,并安裝有主齒輪(42);所述豎向軸桿(141)的頂端延伸至防護罩(3)內,并固定有與主齒輪(42)相嚙合的副齒輪(43)。
6.根據權利要求4所述的一種氨基磺酸鎳電鍍廢水回收利用系統,其特征在于:所述動力機構還包括安裝在回收處理箱(2)一側的第二電機(8),所述第二電機(8)用于驅動所述橫向軸桿轉動。
7.根據權利要求1所述的一種氨基磺酸鎳電鍍廢水回收利用系統,其特征在于:所述過濾室內安裝有過濾篩板(12),且過濾篩板(12)位于儲料斗(6)的頂部。
8.根據權利要求7所述的一種氨基磺酸鎳電鍍廢水回收利用系統,其特征在于:還包括刮料機構(10),所述刮料機構(10)包括可移動的設置在所述過濾室內的移動板(102)以及固定在回收處理箱(2)相對于排廢管(7)一側的電動推桿(101);所述移動板(102)的底部安裝有刮料板(103);所述電動推桿(101)的伸縮端位于所述過濾室內,并與移動板(102)的一側固定連接,且電動推桿(101)通過移動板(102)帶動刮料板(103)沿所述過濾篩板(12)上往復移動。
9.根據權利要求1所述的一種氨基磺酸鎳電鍍廢水回收利用系統,其特征在于:所述回收處理箱(2)的底部安裝有機架(1),所述儲料斗(6)位于機架(1)內,所述排廢管(7)的一端向下傾斜并貫穿機架(1)。
10.根據權利要求9所述的一種氨基磺酸鎳電鍍廢水回收利用系統,其特征在于:還包括分散機構(13),且所述分散機構(13)包括轉動安裝在儲料斗(6)內的轉輥(131),且轉輥(131)上套接有套筒(132),所述套筒(132)上安裝有多個呈環形陣列分布的葉板(133),且多個葉板(133)遠離套筒(132)的一端均固定有電極棒(134),所述機架(1)的一側安裝有固定板,且所述固定板上安裝有第三電機(9),所述第三電機(9)用于驅動所述轉輥(131)轉動。
發明內容
本發明的目的是提供一種氨基磺酸鎳電鍍廢水回收利用系統,以解決技術中的上述不足之處。
為了實現上述目的,本發明提供如下技術方案:
一種氨基磺酸鎳電鍍廢水回收利用系統,包括:
回收處理箱,所述回收處理箱的頂部設有多個加料管,且回收處理箱的一側設置具有閘門的排廢管,所述回收處理箱的內部形成有相互連通的混合室和過濾室;
攪拌混合機構,所述攪拌混合機構設置在所述混合室內,所述攪拌混合機構連接有動力機構,且所述動力機構用于驅動所述攪拌混合機構將混合室內的電鍍廢水進行橫向和縱向攪拌;
儲料斗,所述儲料斗固定在回收處理箱的底部,且儲料斗與所述過濾室連通,所述儲料斗的底端設置具有電動閥的排料管。
在一種可能的實現方式中,所述回收處理箱內置有集料斗,且集料斗設置在所述混合室和過濾室之間,所述集料斗的底部設置具有電動閥的下料管,且所述下料管將所述混合室和過濾室連通。
在一種可能的實現方式中,所述攪拌混合機構包括橫向攪拌構件,且所述橫向攪拌構件包括至少一個轉動設置在所述混合室內的豎向軸桿,每個所述豎向軸桿上均套接有若干沿其軸向等間距分布的橫向攪拌桿,所述橫向攪拌桿位于集料斗的上方。
在一種可能的實現方式中,所述攪拌混合機構還包括縱向攪拌構件,且所述縱向攪拌構件包括轉動設置在所述混合室內的橫向軸桿,所述橫向軸桿上安裝有多個長短不一的豎向攪拌桿,且多個所述豎向攪拌桿均位于所述集料斗內。
在一種可能的實現方式中,所述動力機構包括驅動構件,且所述驅動構件包括安裝在回收處理箱頂端的防護罩及固定在所述防護罩上的第一電機;
所述第一電機的輸出軸延伸至防護罩內,并安裝有主齒輪;
所述豎向軸桿的頂端延伸至防護罩內,并固定有與主齒輪相嚙合的副齒輪。
在一種可能的實現方式中,所述動力機構還包括安裝在回收處理箱一側的第二電機,所述第二電機用于驅動所述橫向軸桿轉動。
在一種可能的實現方式中,所述過濾室內安裝有過濾篩板,且過濾篩板位于儲料斗的頂部。
在一種可能的實現方式中,還包括刮料機構,所述刮料機構包括可移動的設置在所述過濾室內的移動板以及固定在回收處理箱相對于排廢管一側的電動推桿;
所述移動板的底部安裝有刮料板;
所述電動推桿的伸縮端位于所述過濾室內,并與移動板的一側固定連接,且電動推桿通過移動板帶動刮料板沿所述過濾篩板上往復移動。
在一種可能的實現方式中,所述回收處理箱的底部安裝有機架,所述儲料斗位于機架內,所述排廢管的一端向下傾斜并貫穿機架。
在一種可能的實現方式中,還包括分散機構,且所述分散機構包括轉動安裝在儲料斗內的轉輥,且轉輥上套接有套筒,所述套筒上安裝有多個呈環形陣列分布的葉板,且多個葉板遠離套筒的一端均固定有電極棒,所述機架的一側安裝有固定板,且所述固定板上安裝有第三電機,所述第三電機用于驅動所述轉輥轉動。
在上述技術方案中,本發明提供的技術效果和優點:
1、通過設置由橫向攪拌構件和縱向攪拌構件組成的攪拌混合機構,能夠將氨基磺酸鎳電鍍廢水與反應藥劑攪拌均勻,使得氨基磺酸鎳電鍍廢水與反應藥劑之間充分混合,從而實現電鍍廢水的充分反應,解決了現有的氨基磺酸鎳電鍍廢水回收利用系統存在電鍍廢水和反應藥劑混合不夠充分,容易導致電鍍廢水沒有充分反應,造成電鍍廢水的回收處理效果差的問題,大大的增加了電鍍廢水的回收處理效果,并且提高了電鍍廢水的回收處理效率,方便電鍍廢水的回收利用;
2、通過刮料機構的設置,能夠將過濾篩板上殘留的淤泥清刮,以實現過濾篩板的清理,從而防止過濾篩板堵塞,可保證電鍍廢水反應后快速過濾,提高電鍍廢水的處理效率,進一步方便電鍍廢水的回收利用。
3、通過分散機構的設置,能夠將落進儲料斗中的污水進行分散,使得污水均勻通過儲料斗底部的排料管均勻排出,以避免儲料斗底部的排料管發生堵塞,并且能夠防止污水在儲料斗內沉淀,避免儲料斗內積垢,從而方便電鍍廢水的后續回收處理使用;
4、通過將電極棒安裝在分散機構上,使得電極棒跟隨分散機構的轉動而旋轉,將污水中摻雜的重金屬或貴金屬離子進行有效電離,從而可實現將廢水中的重金屬或貴金屬進行回收,避免資源的浪費,并且能夠進一步方便污水的后續處理,提高電鍍廢水的回收利用效率。
(發明人:關延敏;王健;孫穎濤;鄒柏林;段常樂;魏曉康)






