公布日:2023.11.17
申請日:2023.07.31
分類號:C02F1/04(2023.01)I;C02F1/00(2023.01)I;C02F1/66(2023.01)I;B01D3/36(2006.01)I;B01D5/00(2006.01)I;C02F101/38(2006.01)N
摘要
本發明涉及廢水處理工藝領域,尤其涉及一種含腈廢水處理工藝及其應用。一種含腈廢水處理工藝,步驟包括:(1)含腈廢水的共沸蒸餾;(2)含腈廢水壓力釜中的水解處理。本申請中提供的一種含腈廢水處理工藝,其能夠應對現有含腈廢水處理過程中的不足,成本較氧化法和電解法較低,避免了像生物法不適合工業化的問題,操作簡單,具有優異的市場前景。

權利要求書
1.一種含腈廢水處理工藝,其特征在于:步驟包括:(1)含腈廢水的共沸蒸餾;(2)含腈廢水壓力釜中的水解處理。
2.根據權利要求1所述的含腈廢水處理工藝,其特征在于:所述含腈廢水為含有乙腈、異丁腈、正丁腈、戊腈中至少一種的廢水。
3.根據權利要求2所述的含腈廢水處理工藝,其特征在于:所述含腈廢水的腈類含量為0.1~10%。
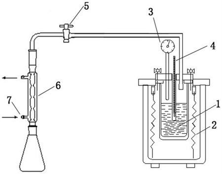
4.根據權利要求3所述的含腈廢水處理工藝,其特征在于:所述含腈廢水的共沸蒸餾的具體操作為:將含腈廢水通過計量泵打入蒸餾容器,在回流條件下,在蒸餾容器中進行共沸蒸餾,分離含有腈類的共沸餾分,收集低腈類含量的蒸餾液。
5.根據權利要求4所述的含腈廢水處理工藝,其特征在于:所述含腈廢水通過計量泵打入蒸餾容器的方式為連續性進料或間歇性進料。
6.根據權利要求5所述的含腈廢水處理工藝,其特征在于:所述共沸蒸餾的溫度為100~120℃,壓力為1~10MPa。
7.根據權利要求6所述的含腈廢水處理工藝,其特征在于:所述含腈廢水壓力釜中的水解處理的具體操作為:將步驟(1)中得到的低腈類含量的蒸餾液加入至壓力釜中,控制壓力釜的壓力和溫度,并且加入水解催化劑進行水解處理。
8.根據權利要求7所述的含腈廢水處理工藝,其特征在于:所述壓力釜的壓力為1~10MPa;所述壓力釜的溫度為120~220℃。
9.根據權利要求8所述的含腈廢水處理工藝,其特征在于:所述水解催化劑為無機堿或無機酸中的至少一種。
10.一種根據權利要求1~9任一項所述的含腈廢水處理工藝的應用,其特征在于:包括該含腈廢水處理工藝在含腈廢水處理設備以及含腈廢水處理產線中的應用。
發明內容
為了解決上述問題,本發明第一方面提供了一種含腈廢水處理工藝,步驟包括:(1)含腈廢水的共沸蒸餾;(2)含腈廢水壓力釜中的水解處理。
作為一種優選的方案,所述含腈廢水為含有乙腈、異丁腈、正丁腈、戊腈中至少一種的廢水。
作為一種優選的方案,所述含腈廢水為含有異丁腈、正丁腈、戊腈中至少一種的廢水。
作為一種優選的方案,所述含腈廢水的腈類含量為0.1~10%。
作為一種優選的方案,所述含腈廢水的腈類含量為2~5%。
作為一種優選的方案,所述含腈廢水的共沸蒸餾的具體操作為:將含腈廢水通過計量泵打入蒸餾容器,在回流條件下,在蒸餾容器中進行共沸蒸餾,分離含有腈類的共沸餾分,收集低腈類含量的蒸餾液。
作為一種優選的方案,所述含腈廢水通過計量泵打入蒸餾容器的方式為連續性進料或間歇性進料。
作為一種優選的方案,所述含腈廢水通過計量泵打入蒸餾容器的方式為連續性進料。
作為一種優選的方案,所述共沸蒸餾的溫度為100~120℃,壓力為1~10MPa。
作為一種優選的方案,所述共沸蒸餾的溫度為104~110℃,壓力為1~2MPa。
作為一種優選的方案,所述共沸蒸餾的溫度為105℃,壓力為1.2MPa。
作為一種優選的方案,所述含腈廢水壓力釜中的水解處理的具體操作為:將步驟(1)中得到的低腈類含量的蒸餾液加入至壓力釜中,控制壓力釜的壓力和溫度,并且加入水解催化劑進行水解處理。
作為一種優選的方案,所述壓力釜的壓力為1~10MPa;所述壓力釜的溫度為120~220℃。
作為一種優選的方案,所述壓力釜的壓力為1~2MPa;所述壓力釜的溫度為170~200℃。
作為一種優選的方案,所述壓力釜的壓力為1MPa;所述壓力釜的溫度為180℃。
作為一種優選的方案,所述水解處理的反應時間為2~24小時;進一步優選為2~6小時。
作為一種優選的方案,所述水解催化劑為無機堿或無機酸中的至少一種。
作為一種優選的方案,所述無機堿為氫氧化鈉、氫氧化鉀、氨水、氨氣、二甲胺、二乙胺、碳酸鈉、碳酸鉀、碳酸氫鈉中的至少一種。
作為一種優選的方案,所述無機堿為氫氧化鈉、氫氧化鉀、氨水中的至少一種。
作為一種優選的方案,所述無機酸為硫酸、鹽酸、磷酸、醋酸中的至少一種。
作為一種優選的方案,所述無機酸為鹽酸。
作為一種優選的方案,所述低腈類含量的蒸餾液與水解催化劑的質量比為100~120:0.1~3。
本申請中,通過共沸蒸餾與高壓水解處理工藝的組合,有效提高了對于含腈廢水,尤其是含異丁腈、正丁腈、戊腈廢水的處理效果,實現了連續化的生產,極大地降低了含腈廢水中的腈類含量至4ppm及以下,并且減少了堿類催化劑的用量。這主要是因為,本申請中的共沸蒸餾可以直接在蒸餾階段就預先大幅減少腈類的含量,之后蒸餾液進一步地在高溫高壓環境下進行氫離子或者氫氧根離子的水解快速反應,實現腈類的快速分解,并且整體的一體化連續工作的方式也能夠進一步地幫助腈類化合物的生產制備。
本發明第二方面提供了一種上述含腈廢水處理工藝的應用,包括該含腈廢水處理工藝在含腈廢水處理設備以及含腈廢水處理產線中的應用。
有益效果:
1、本申請中提供的一種含腈廢水處理工藝,其能夠應對現有含腈廢水處理過程中的不足,成本較氧化法和電解法較低,避免了像生物法不適合工業化的問題,操作簡單,具有優異的市場前景。
2、本申請中提供的一種含腈廢水處理工藝,使用共沸蒸餾與高壓水解處理工藝的組合不僅實現了對于含腈廢水的有效處理,還能實現含腈廢水的連續化生產,減少了設備和人力成本。
3、本申請中提供的一種含腈廢水處理工藝,采用的高壓水解方法,能夠有效控制高含量的含腈廢水的腈類的最終含量≤4ppm,能夠滿足多種排放標準。
4、本申請中提供的一種含腈廢水處理工藝,堿類水解催化劑用量更少,能夠有效減少堿類物質對于設備的腐蝕和廢水中鹽濃度,進一步減少維護成本。
5、本申請中提供的一種含腈廢水處理工藝,其共沸蒸餾可以直接在蒸餾階段就預先大幅減少腈類的含量,之后蒸餾液進一步地在高溫高壓環境下進行氫離子或者氫氧根離子的水解快速反應,實現腈類的快速分解,并且整體的一體化連續工作的方式也能夠進一步地幫助腈類化合物的生產制備。
(發明人:王教飛;范鈞翔;嚴鑫;袁媛;陳蕓蕓)






