公布日:2024.05.14
申請日:2024.03.20
分類號:B01F27/90(2022.01)I;B01F27/85(2022.01)I;B01F27/191(2022.01)I;B01F27/2322(2022.01)I;B01F33/501(2022.01)I;B01F23/70(2022.01)I;B01F35/71(2022.01)I;
B01F35/00(2022.01)I;B01F27/808(2022.01)I;B01D29/03(2006.01)I;B01D29/64(2006.01)I;C02F1/00(2023.01)I
摘要
本發明涉及一種污水處理用污水處理藥劑混合罐,包括混合罐本體,所述混合罐本體的底部固定連接有驅動箱,所述驅動箱的內底壁固定連接有伺服電機,所述伺服電機的輸出軸固定連接有活動軸,所述活動軸的外側固定連接有動力齒輪,所述動力齒輪的左右兩側均嚙合有傳動齒輪,兩個所述傳動齒輪的內側均固定連接有連接軸,兩個所述連接軸的外側均固定連接有攪動葉片,所述活動軸的外側固定連接有活動葉片。該污水處理用污水處理藥劑混合罐,整體結構簡單,實現了藥劑混合罐攪拌效果好的目的,避免混合罐在混合污水和藥劑的過程中出現攪拌死角,混合罐在攪拌污水和藥劑的過程中不需要消耗大量的時間,混合罐可以對污水和藥劑進行有效的混合。

權利要求書
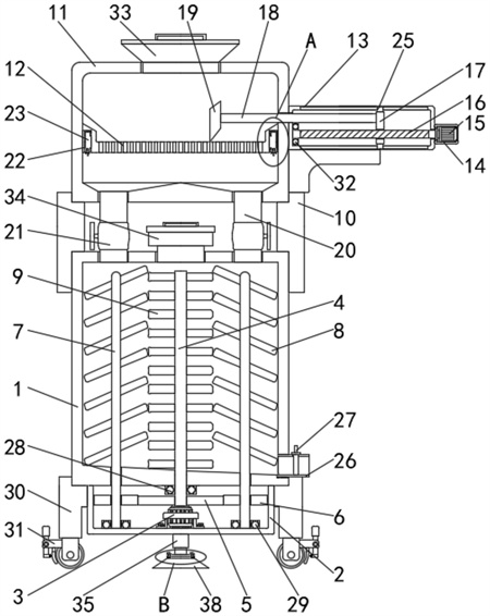
1.一種污水處理用污水處理藥劑混合罐,包括混合罐本體(1),其特征在于:所述混合罐本體(1)的底部固定連接有驅動箱(2),所述驅動箱(2)的內底壁固定連接有伺服電機(3),所述伺服電機(3)的輸出軸固定連接有活動軸(4),所述活動軸(4)的外側固定連接有動力齒輪(5),所述動力齒輪(5)的左右兩側均嚙合有傳動齒輪(6),兩個所述傳動齒輪(6)的內側均固定連接有連接軸(7),兩個所述連接軸(7)的外側均固定連接有攪動葉片(8),所述活動軸(4)的外側固定連接有活動葉片(9);所述混合罐本體(1)的頂部固定連接有支撐塊(10),所述支撐塊(10)的頂部固定連接有過濾箱(11),所述過濾箱(11)的內側活動連接有過濾板(12),所述過濾箱(11)的右側固定連接有固定箱(13),所述固定箱(13)的右側固定連接有電機箱(14),所述電機箱(14)的內側固定連接有驅動電機(15),所述驅動電機(15)的輸出軸固定連接有螺紋桿(16),所述螺紋桿(16)的外側螺紋連接有螺紋塊(17),所述螺紋塊(17)的左側固定連接有活動推桿(18),所述活動推桿(18)的左端固定連接有刮刷板(19)。
2.根據權利要求1所述的一種污水處理用污水處理藥劑混合罐,其特征在于:所述混合罐本體(1)的頂部固定連接有連通管(20),所述連通管(20)的數量為兩個,兩個所述連通管(20)的外側均固定連接有電磁閥(21),兩個所述連通管(20)均與混合罐本體(1)和過濾箱(11)相連通。
3.根據權利要求1所述的一種污水處理用污水處理藥劑混合罐,其特征在于:所述過濾箱(11)的左右兩側壁均固定連接有支撐條(22),所述過濾板(12)的左右兩側均固定連接有滑動條(23),兩個所述支撐條(22)的內側均開設有滑動長槽,兩個所述滑動條(23)分別與兩個滑動長槽滑動連接,兩個所述支撐條(22)的內側均螺紋連接有活動螺栓(24),兩個所述滑動條(23)的內側均開設有螺紋槽,兩個所述活動螺栓(24)分別與兩個螺紋槽螺紋連接。
4.根據權利要求1所述的一種污水處理用污水處理藥劑混合罐,其特征在于:所述螺紋塊(17)的頂部和底部均固定連接有活動滑塊(25),所述固定箱(13)的內頂壁和內底壁均開設有固定長槽,兩個所述活動滑塊(25)分別與兩個固定長槽滑動連接。
5.根據權利要求1所述的一種污水處理用污水處理藥劑混合罐,其特征在于:所述混合罐本體(1)右側的底部固定連接有出料框(26),所述出料框(26)的內側活動連接有出料板(27),所述出料框(26)與混合罐本體(1)相連通,所述攪動葉片(8)的數量為兩組,每組所述攪動葉片(8)的數量均為十四個,所述活動葉片(9)的數量為二十二個。
6.根據權利要求1所述的一種污水處理用污水處理藥劑混合罐,其特征在于:所述活動軸(4)的外側固定連接有第一軸承(28),所述第一軸承(28)與混合罐本體(1)固定連接,兩個所述連接軸(7)的外側均固定連接有第二軸承(29),兩個所述第二軸承(29)均與混合罐本體(1)固定連接。
7.根據權利要求1所述的一種污水處理用污水處理藥劑混合罐,其特征在于:所述混合罐本體(1)的外側固定連接有移動輪(30),所述移動輪(30)的數量為四個,四個所述移動輪(30)的外側均固定連接有剎車器(31),所述過濾箱(11)的正面活動連接有密封門(40)。
8.根據權利要求1所述的一種污水處理用污水處理藥劑混合罐,其特征在于:所述螺紋桿(16)的外側固定連接有第三軸承(32),所述第三軸承(32)與固定箱(13)固定連接,所述過濾板(12)的內側開設有均勻分布的過濾孔,所述刮刷板(19)與過濾板(12)活動連接。9.根據權利要求1所述的一種污水處理用污水處理藥劑混合罐,其特征在于:所述過濾箱(11)的頂部固定連接有連接漏斗(33),所述連接漏斗(33)與過濾箱(11)相連通,所述混合罐本體(1)的頂部固定連接有進料管(34),所述進料管(34)與混合罐本體(1)相連通。
10.根據權利要求1所述的一種污水處理用污水處理藥劑混合罐,其特征在于:所述混合罐本體(1)的底部固定連接有電動推桿(35),所述電動推桿(35)的底端固定連接有固定板(36),所述固定板(36)的底部活動連接有連接板(37),所述連接板(37)的底部固定連接有固定吸盤(38),所述固定板(36)的內側螺紋連接有連接螺釘(39)。
發明內容
(一)解決的技術問題
針對現有技術的不足,本發明提供了一種污水處理用污水處理藥劑混合罐,具備攪拌效果較好等優點,解決了現有的污水處理用污水處理藥劑混合罐存在著攪拌效果較差的缺點,導致混合罐在混合污水和藥劑的過程中容易出現攪拌死角,使得混合罐在攪拌污水和藥劑的過程中需要消耗大量的時間,進而混合罐無法對污水和藥劑進行有效的混合,不能保證混合罐對污水凈化的效果,不方便使用,不能滿足實際使用的需求,降低了混合罐的使用效率和使用效果的問題。
(二)技術方案
為實現上述目的,本發明提供如下技術方案:一種污水處理用污水處理藥劑混合罐,包括混合罐本體,所述混合罐本體的底部固定連接有驅動箱,所述驅動箱的內底壁固定連接有伺服電機,所述伺服電機的輸出軸固定連接有活動軸,所述活動軸的外側固定連接有動力齒輪,所述動力齒輪的左右兩側均嚙合有傳動齒輪,兩個所述傳動齒輪的內側均固定連接有連接軸,兩個所述連接軸的外側均固定連接有攪動葉片,所述活動軸的外側固定連接有活動葉片,所述混合罐本體的頂部固定連接有支撐塊,所述支撐塊的頂部固定連接有過濾箱,所述過濾箱的內側活動連接有過濾板,所述過濾箱的右側固定連接有固定箱,所述固定箱的右側固定連接有電機箱,所述電機箱的內側固定連接有驅動電機,所述驅動電機的輸出軸固定連接有螺紋桿,所述螺紋桿的外側螺紋連接有螺紋塊,所述螺紋塊的左側固定連接有活動推桿,所述活動推桿的左端固定連接有刮刷板。
進一步,所述混合罐本體的頂部固定連接有連通管,所述連通管的數量為兩個,兩個所述連通管的外側均固定連接有電磁閥,兩個所述連通管均與混合罐本體和過濾箱相連通。
進一步,所述過濾箱的左右兩側壁均固定連接有支撐條,所述過濾板的左右兩側均固定連接有滑動條,兩個所述支撐條的內側均開設有滑動長槽,兩個所述滑動條分別與兩個滑動長槽滑動連接,兩個所述支撐條的內側均螺紋連接有活動螺栓,兩個所述滑動條的內側均開設有螺紋槽,兩個所述活動螺栓分別與兩個螺紋槽螺紋連接。
進一步,所述螺紋塊的頂部和底部均固定連接有活動滑塊,所述固定箱的內頂壁和內底壁均開設有固定長槽,兩個所述活動滑塊分別與兩個固定長槽滑動連接。
進一步,所述混合罐本體右側的底部固定連接有出料框,所述出料框的內側活動連接有出料板,所述出料框與混合罐本體相連通,所述攪動葉片的數量為兩組,每組所述攪動葉片的數量均為十四個,所述活動葉片的數量為二十二個。
進一步,所述活動軸的外側固定連接有第一軸承,所述第一軸承與混合罐本體固定連接,兩個所述連接軸的外側均固定連接有第二軸承,兩個所述第二軸承均與混合罐本體固定連接。
進一步,所述混合罐本體的外側固定連接有移動輪,所述移動輪的數量為四個,四個所述移動輪的外側均固定連接有剎車器,所述過濾箱的正面活動連接有密封門。
進一步,所述螺紋桿的外側固定連接有第三軸承,所述第三軸承與固定箱固定連接,所述過濾板的內側開設有均勻分布的過濾孔,所述刮刷板與過濾板活動連接。
進一步,所述過濾箱的頂部固定連接有連接漏斗,所述連接漏斗與過濾箱相連通,所述混合罐本體的頂部固定連接有進料管,所述進料管與混合罐本體相連通。
進一步,所述混合罐本體的底部固定連接有電動推桿,所述電動推桿的底端固定連接有固定板,所述固定板的底部活動連接有連接板,所述連接板的底部固定連接有固定吸盤,所述固定板的內側螺紋連接有連接螺釘。
(三)有益效果
與現有技術相比,本申請的技術方案具備以下有益效果:
1、該污水處理用污水處理藥劑混合罐,通過開啟漏斗蓋,可將需要過濾的污水通過連接漏斗倒入過濾箱的內側,因為過濾板的內側開設有均勻分布的過濾孔,所以污水會通過過濾孔流到過濾箱的內底壁,污水中的顆粒和污泥會留在過濾板的上方,通過驅動電機可以帶動螺紋桿轉動,從而會依次帶動螺紋塊、活動推桿和刮刷板進行左右移動,刮刷板左右移動的過程中可以對過濾板的頂部進行刮刷,避免顆粒和污泥對過濾板造成堵塞,通過兩個電磁閥可以對兩個連通管進行定時的開啟或關閉,從而可以將過濾箱內側過濾好的污水定量的通過兩個連通管放入混合罐本體的內側。
2、該污水處理用污水處理藥劑混合罐,通過開啟密封門,然后通過轉動兩個活動螺栓,可以將兩個活動螺栓分別從兩個滑動條的內側移出,從而可以將過濾板從過濾箱的內側抽出,從而可以對過濾板上方的顆粒和污泥進行清理,通過開啟活動蓋,可將凈化藥劑通過進料管倒入混合罐本體的內側,通過伺服電機可以依次帶動活動軸、二十二個活動葉片和動力齒輪轉動,從而會分別帶動兩個傳動齒輪、兩個連接軸和兩組攪動葉片轉動,兩組攪動葉片和二十二個活動葉片轉動的過程中,可以對混合罐本體內側的凈化藥劑與污水進行充分的混合,進而可以保證污水凈化的效果,將出料板從出料框的內側抽出,可以將混合罐本體內側凈化好的污水通過出料框放出,實現了藥劑混合罐攪拌效果好的目的,避免混合罐在混合污水和藥劑的過程中出現攪拌死角,混合罐在攪拌污水和藥劑的過程中不需要消耗大量的時間,混合罐可以對污水和藥劑進行有效的混合,可以保證混合罐對污水凈化的效果。
3、該污水處理用污水處理藥劑混合罐,通過四個移動輪可以對混合罐本體進行移動,可以將混合罐本體移動到指定的地點進行使用,當需要對混合罐本體進行定位使用時,先通過四個剎車器分別對四個移動輪進行固定,然后通過電動推桿可以依次帶動固定板、連接板和固定吸盤向下移動,固定吸盤向下移動的過程中會與地面相貼合,從而可以混合罐本體進行吸附固定,避免混合罐本體在使用的過程中發生晃動或偏移的現象。
(發明人:雷俊俠;程維來;王翔;李微;鮑偉;李亞昆;王琦;周特)






