公布日:2024.05.14
申請日:2024.04.12
分類號:B01D29/94(2006.01)I;B01D29/70(2006.01)I;B01D29/50(2006.01)I
摘要
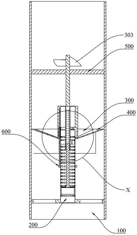
本發明涉及過濾裝置領域,具體涉及一種污水中不溶解雜質的去除裝置,包括水管和處理部,處理部包括收集濾筒、螺旋扇葉、阻擋機構、過濾機構和同步機構;螺旋扇葉安裝于水管內,螺旋扇葉始終有在水流作用下繞第一方向轉動的趨勢。過濾機構包括多個濾網,多個濾網能夠沿第一方向滑動地安裝于收集濾筒上。阻擋機構包括多個實心板。同步機構能夠在多個濾網移動時動作,同步機構動作能夠驅動多個實心板同步移動,且多個實心板和多個濾網的移動方向相反。本發明在通過多個實心板和多個濾網對水流中的雜質過濾的過程中,只有在濾網全部堵塞后才對濾網進行清理,提高了濾網的使用率。

權利要求書
1.一種污水中不溶解雜質的去除裝置,其特征在于:包括水管和處理部,處理部位于水管內,處理部包括收集濾筒、螺旋扇葉、阻擋機構、過濾機構和同步機構;螺旋扇葉安裝于水管內,螺旋扇葉始終有在水流作用下繞第一方向轉動的趨勢,第一方向為豎直方向,初始狀態下限制螺旋扇葉繞第一方向轉動;收集濾筒與水管同軸設置且固定設置于水管內;過濾機構包括多個濾網,多個濾網能夠沿第一方向滑動地安裝于收集濾筒上;阻擋機構包括多個實心板,多個實心板與多個濾網的重力相等,多個實心板與多個濾網之間通過同步機構相連,且多個實心板與多個濾網在初始狀態保持平衡,多個實心板與多個濾網在第一方向上的投影交錯設置,且實心板的投影面積小于濾網的投影面積,當多個濾網的堵塞面積大于多個實心板的面積時,多個濾網能夠在收集濾筒上沿第一方向向下移動;收集濾筒上開設有多個進料口,且多個濾網在收集濾筒上沿第一方向移動能夠使雜質進入進料口內;同步機構能夠在多個濾網移動時動作,同步機構動作能夠驅動多個實心板同步移動,且多個實心板和多個濾網的移動方向相反;多個實心板移動能夠促使螺旋扇葉轉動,螺旋扇葉轉動能夠帶動多個濾網轉動;處理部還包括連接管、連接桿和擋環,連接管和連接桿均沿第一方向設置,連接桿位于收集濾筒內,連接管沿第一方向上的一端安裝于阻擋機構,連接管沿第一方向上的另一端穿過收集濾筒和連接桿相連;連接管內設置有多個棘齒,多個棘齒為彈性齒,連接桿與連接管套接,僅允許連接管和連接桿之間相互靠近;擋環與連接桿相連,且擋環位于連接桿遠離連接管的一側;擋環為環狀結構,擋環能夠沿第一方向移動地設置于收集濾筒內,初始狀態下擋環位于收集濾筒底部;處理部還包括伸縮環,伸縮環包括多個直徑不同的連接環,每兩個相鄰的連接環之間滑動連接,連接桿下端安裝于位于最上方的連接環,最下方的連接環與擋環滑動連接;處理部還包括第一固定環,第一固定環與水管同軸設置且固定安裝于水管內,第一固定環上開設有限位槽,限位槽與第一固定環同軸設置,螺旋扇葉的轉動軸上設置有限位塊,初始狀態下限位塊位于限位槽內,限制螺旋扇葉轉動;當多個濾網在收集濾筒上沿第一方向移動到進料口處時,限位塊與限位槽脫離,允許螺旋扇葉轉動;同步機構包括同步環、多個第一套環、多個第二套環和多個連接柱,收集濾筒上設置有連接塊,同步環與連接塊同步移動且能夠相對轉動;阻擋機構上設置有多個第一套柱,每兩個相鄰的濾網之間設置有一個第二套柱;多個連接柱均沿第一方向設置,多個連接柱下端固定安裝于同步環上端,多個連接柱上端在第一方向上依次穿過第二套柱和第一套柱,每個第二套環與一個第一套柱同步移動且能夠相對轉動;每個第一套環與一個第二套柱同步移動且能夠相對轉動,且第二套環位于第一套環上方;每個連接柱上均開設有一個第一螺旋槽和一個第二螺旋槽,第二螺旋槽位于第一螺旋槽上方;第一套環與第一螺旋槽螺旋配合,第二套環與第二螺旋槽螺旋配合,第一套環上設置有同步桿,第二套環下端設置有用于與同步桿套接的同步管,且初始狀態下第一凸塊與第一螺旋槽的上端抵接,第二凸塊與第二螺旋槽的下端抵接;阻擋機構還包括安裝柱,安裝柱連接螺旋扇葉和多個實心板,第一套柱安裝于安裝柱內。
2.根據權利要求1所述的一種污水中不溶解雜質的去除裝置,其特征在于:實心板為扇形,每個實心板上均設置有擋板,擋板沿第一方向設置,濾網為扇形。
3.根據權利要求1所述的一種污水中不溶解雜質的去除裝置,其特征在于:處理部還包括第二固定環,第二固定環與水管同軸設置且固定安裝于水管內,收集濾筒固定安裝于第二固定環上。
4.根據權利要求1所述的一種污水中不溶解雜質的去除裝置,其特征在于:擋環底部設置為十字交叉結構。
發明內容
本發明提供一種污水中不溶解雜質的去除裝置,以解決現有的污水處理裝置無法對濾網的堵塞程度進行判斷,往往在濾網未完全堵塞時就對濾網進行清理,導致濾網的使用不充分的問題。
本發明的一種污水中不溶解雜質的去除裝置采用如下技術方案:一種污水中不溶解雜質的去除裝置,包括水管和處理部,處理部位于水管內,處理部包括收集濾筒、螺旋扇葉、阻擋機構、過濾機構和同步機構;螺旋扇葉安裝于水管內,螺旋扇葉始終有在水流作用下繞第一方向轉動的趨勢,初始狀態下限制螺旋扇葉繞第一方向轉動;收集濾筒與水管同軸設置且固定設置于水管內;過濾機構包括多個濾網,多個濾網能夠沿第一方向滑動地安裝于收集濾筒上;阻擋機構包括多個實心板,多個實心板與多個濾網的重力相等,多個實心板與多個濾網之間通過同步機構相連,且多個實心板與多個濾網在初始狀態保持平衡,多個實心板與多個濾網在第一方向上的投影交錯設置,且實心板的投影面積小于濾網的投影面積,當多個濾網的堵塞面積大于多個實心板的面積時,多個濾網能夠在收集濾筒上沿第一方向向下移動;收集濾筒上開設有多個進料口,且多個濾網在收集濾筒上沿第一方向移動能夠使雜質進入進料口內;同步機構能夠在多個濾網移動時動作,同步機構動作能夠驅動多個實心板同步移動,且多個實心板和多個濾網的移動方向相反;多個實心板移動能夠促使螺旋扇葉轉動,螺旋扇葉轉動能夠帶動多個濾網轉動。
進一步地,處理部還包括連接管、連接桿和擋環,連接管和連接桿均沿第一方向設置,連接桿位于收集濾筒內,連接管沿第一方向上的一端安裝于阻擋機構,連接管沿第一方向上的另一端穿過收集濾筒和連接桿相連;連接管內設置有多個棘齒,多個棘齒為彈性齒,連接桿與連接管套接,僅允許連接管和連接桿之間相互靠近;擋環與連接桿相連,且擋環位于連接桿遠離連接管的一側;擋環為環狀結構,擋環能夠沿第一方向移動地設置于收集濾筒內,初始狀態下擋環位于收集濾筒底部。
進一步地,處理部還包括伸縮環,伸縮環包括多個直徑不同的連接環,每兩個相鄰的連接環之間滑動連接,連接桿下端安裝于位于最上方的連接環,最下方的連接環與擋環滑動連接。
進一步地,處理部還包括第一固定環,第一固定環與水管同軸設置且固定安裝于水管內,第一固定環上開設有限位槽,限位槽與第一固定環同軸設置,螺旋扇葉的轉動軸上設置有限位塊,初始狀態下限位塊位于限位槽內,限制螺旋扇葉轉動。
進一步地,當多個濾網在收集濾筒上沿第一方向移動到進料口處時,限位塊與限位槽脫離,允許螺旋扇葉轉動。
進一步地,同步機構包括同步環、多個第一套環、多個第二套環和多個連接柱,收集濾筒上設置有連接塊,同步環與連接塊同步移動且能夠相對轉動;阻擋機構上設置有多個第一套柱,每兩個相鄰的濾網之間設置有一個第二套柱;多個連接柱均沿第一方向設置,多個連接柱下端固定安裝于同步環上端,多個連接柱上端在第一方向上依次穿過第二套柱和第一套柱,每個第二套環與一個第一套柱同步移動且能夠相對轉動;每個第一套環與一個第二套柱同步移動且能夠相對轉動,且第二套環位于第一套環上方;每個連接柱上均開設有一個第一螺旋槽和一個第二螺旋槽,第二螺旋槽位于第一螺旋槽上方;第一套環與第一螺旋槽螺旋配合,第二套環與第二螺旋槽螺旋配合,第一套環上設置有同步桿,第二套環下端設置有用于與同步桿套接的同步管,且初始狀態下第一凸塊與第一螺旋槽的上端抵接,第二凸塊與第二螺旋槽的下端抵接。
進一步地,阻擋機構還包括安裝柱,安裝柱連接螺旋扇葉和多個實心板,第一套柱安裝于安裝柱內。
進一步地,實心板為扇形,每個實心板上均設置有擋板,擋板沿第一方向設置,濾網為扇形。
進一步地,處理部還包括第二固定環,第二固定環與水管同軸設置且固定安裝于水管內,收集濾筒固定安裝于第二固定環上。
進一步地,擋環底部設置為十字交叉結構。
本發明的有益效果是:本發明的一種污水中不溶解雜質的去除裝置通過設置收集濾筒、螺旋扇葉、阻擋機構、過濾機構和同步機構相互配合,在水流流動時,多個濾網和多個實心板同時受到水流的沖擊力,當多個濾網上雜物堆積逐漸增加,其受到水流的沖擊力也在逐漸增加,直到多個濾網上雜物的堵塞面積大于實心板的面積時,由于實心板的投影面積小于濾網的投影面積,此時若多個濾網全部堵塞,相當于多個濾網形成了多個實心面,則在水流的沖擊下,多個濾網受到的水流沖擊力也就大于多個實心板受到的沖擊力,此時多個濾網可以在收集濾筒上沿第一方向移動,多個濾網移動使雜質進入進料口內。之后同步機構動作能夠驅動多個實心板移動,且移動的方向與多個濾網的移動方向相反,并進一步通過多個實心板移動解除對螺旋扇葉的限制,螺旋扇葉能夠轉動,使多個濾網轉動著將雜質排入收集濾筒,加快雜質進入收集濾筒的速度,即在通過多個實心板和多個濾網對水流中的雜質過濾的過程中,只有在濾網全部堵塞后才對濾網進行清理,提高了濾網的使用率。
(發明人:陳照;孫宗貴;梁兆國;孫國慶;秦剛)






