公布日:2023.10.13
申請日:2023.07.18
分類號:E03B3/40(2006.01)I;E03B3/02(2006.01)I;E04D13/04(2006.01)I;E04D13/08(2006.01)I;B08B9/087(2006.01)I
摘要
本發明公開了一種建筑雨水收集處理系統,涉及到建筑雨水收集技術領域,包括:儲水窖,所述儲水窖埋藏在土地內部;起吊外殼,所述起吊外殼設置儲水窖的內部,并在多個升降裝置的帶動下調整起吊外殼的高度,且升降裝置向上延伸到儲水窖的上方;驅動裝置;本發明通過彎曲部位的弧形設置在旋轉刮污的同時推動污泥向圓心處移動,方便污泥的抽取和排出;同時彎曲部位能夠改變其高度,在排水的過程中高度上升避免攪動清水,導致清水與污水混合,在清潔時高度下降,避免管道與儲水窖的內底壁首先接觸,導致污水無法正常進入到管道內部,同時避免彎曲部位與儲水窖的內底壁無法正常接觸,影響儲水窖內底壁的清理。

權利要求書
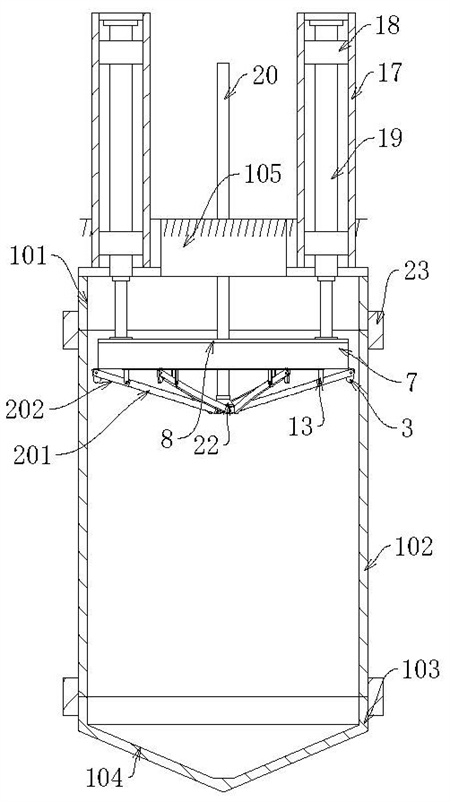
1.一種建筑雨水收集處理系統,其特征在于,包括:儲水窖,所述儲水窖埋藏在土地內部;起吊外殼,所述起吊外殼設置儲水窖的內部,并在多個升降裝置的帶動下調整起吊外殼的高度,且升降裝置向上延伸到儲水窖的上方;驅動裝置,所述驅動裝置安裝在起吊外殼的內部,并驅動旋轉件旋轉,且旋轉件設置起吊外殼的內部與起吊外殼同心設置;多個翹板組件,多個所述翹板組件沿起吊外殼周向均勻分布,且可轉動的安裝在旋轉件的底部,在與儲水窖的內底壁接觸后由水平狀態變為傾斜狀態;所述翹板組件包括翹板、刮板,所述翹板可轉動的交接在旋轉件的底部,所述翹板遠離圓心的一端開設有收納凹槽,所述刮板可轉動的安裝在收納凹槽的內部,并在收納到收納凹槽內部時向外延伸出拐角刮頭,且拐角刮頭與儲水窖的底部拐角處相適配,且刮板在翹板處于水平狀態下降時與儲水窖的內壁接觸,并在旋轉的作用下對內壁進行清理。
2.根據權利要求1所述的建筑雨水收集處理系統,其特征在于:所述翹板由彎曲部位、鉸接部位;所述彎曲部位、鉸接部位一體成型,且彎曲部位向圓心處延伸,所述鉸接部位與刮板鉸接并向圓心外延伸,帶動拐角刮頭與儲水窖的內壁接觸。
3.根據權利要求2所述的建筑雨水收集處理系統,其特征在于:所述刮板的下部設置有弧形面、所述拐角刮頭與收納凹槽之間設置有第一卷簧,所述第一卷簧的兩端分別與收納凹槽內主軸和拐角刮頭固定連接,并在拐角刮頭收納到收納凹槽的內部時蓄力。
4.根據權利要求1所述的建筑雨水收集處理系統,其特征在于:所述起吊外殼包括定位圓環、保護外殼、頂板;所述定位圓環和頂板分別可拆卸的固定在保護外殼的底部和頂部開口處,保護外殼套接在旋轉件的外側,所述頂板與升降裝置固定連接,且定位圓環設置有兩個,兩個定位圓環拼接在旋轉件的外側。
5.根據權利要求1所述的建筑雨水收集處理系統,其特征在于:所述旋轉件包括齒輪環、多個U型桿、中心環、承接環、多個鉸接頭、第二卷簧;所述承接環卡接在定位圓環的外側,并相對于定位圓環的旋轉,所述齒輪環固定在承接環的頂部,并與驅動裝置嚙合,所述中心環位于齒輪環的內部并同心設置,多個所述U型桿沿中心環周向均勻分布,且兩端分別與齒輪環和中心環的頂部固定連接,多個所述鉸接頭呈環形陣列的固定在承接環的底部并與鉸接部位鉸接,所述第二卷簧的兩端分別與鉸接頭的主軸和鉸接部位固定連接。
6.根據權利要求1所述的建筑雨水收集處理系統,其特征在于:所述驅動裝置包括驅動電機、齒輪,所述驅動電機固定在頂板的底部,所述齒輪固定在驅動電機的輸出主軸外側,并與齒輪環嚙合,所述齒輪被適配為驅動齒輪環旋轉的結構。
7.根據權利要求1所述的建筑雨水收集處理系統,其特征在于:所述升降裝置包括防護外殼、兩個固定環、伸縮桿;所述防護外殼固定在儲水窖的頂部,并向上延伸到地面,兩個所述固定環分別固定在防護外殼的內部上下兩端,所述伸縮桿位于防護外殼的內部并被固定環固定,所述伸縮桿向下延伸到儲水窖的內部并與頂板的頂部固定連接,并在伸縮時帶動頂板升降調整高度。
8.根據權利要求1所述的建筑雨水收集處理系統,其特征在于:所述儲水窖的內部由外至內的可滑動的插接有排污管道、所述排污管道穿過中心環并位于中心環的下方,所述排污管道的外側固定安裝有兩個同步限位環,且兩個所述同步限位環分別位于中心環的上方和下方,形成在中心環升降的過程中帶動排污管道同步升降的結構,所述排污管道的底部固定安裝有吸污頭,形成吸污頭的開口處高于傾斜狀態下彎曲部位的最低處,低于水平狀態下彎曲部位最低處的結構。
9.根據權利要求1所述的建筑雨水收集處理系統,其特征在于:所述儲水窖分為上窖體、中窖體、下窖體,所述上窖體和下窖體分別可拆卸的固定在位于中窖體的上下兩個開口處,且通過密封環進行密封連接,所述下窖體的內底壁設置為傾斜斜面、所述上窖體的頂部開口處延伸的地面并固定安裝有井蓋。
10.根據權利要求1所述的建筑雨水收集處理系統,其特征在于:還包括建筑主體、第一導水管道、第二導水管道、過濾器;所述建筑主體建設在地面上,所述建筑主體上的雨水通過第一導水管道運輸到儲水窖的內部,所述儲水窖內部的雨水可以在處理后通過第二導水管道運輸到建筑主體再次利用,所述過濾器固定在第一導水管道的中部,并設置在土地內。
發明內容
本發明的目的在于提供一種建筑雨水收集處理系統,以解決上述背景技術中提出的問題。
為實現上述目的,本發明提供如下技術方案:一種建筑雨水收集處理系統,包括:儲水窖,所述儲水窖埋藏在土地內部;起吊外殼,所述起吊外殼設置儲水窖的內部,并在多個升降裝置的帶動下調整起吊外殼的高度,且升降裝置向上延伸到儲水窖的上方;驅動裝置,所述驅動裝置安裝在起吊外殼的內部,并驅動旋轉件旋轉,且旋轉件設置起吊外殼的內部與起吊外殼同心設置;多個翹板組件,多個所述翹板組件沿起吊外殼周向均勻分布,且可轉動的安裝在旋轉件的底部,在與儲水窖的內底壁接觸后由水平狀態變為傾斜狀態;所述翹板組件包括翹板、刮板,所述翹板可轉動的交接在旋轉件的底部,所述翹板遠離圓心的一端開設有收納凹槽,所述刮板可轉動的安裝在收納凹槽的內部,并在收納到收納凹槽內部時向外延伸出拐角刮頭,且拐角刮頭與儲水窖的底部拐角處相適配,且刮板在翹板處于水平狀態下降時與儲水窖的內壁接觸,并在旋轉的作用下對內壁進行清理。
可選的,所述翹板由彎曲部位、鉸接部位;所述彎曲部位、鉸接部位一體成型,且彎曲部位向圓心處延伸,所述鉸接部位與刮板鉸接并向圓心外延伸,帶動拐角刮頭與儲水窖的內壁接觸。
可選的,所述刮板的下部設置有弧形面、所述拐角刮頭與收納凹槽之間設置有第一卷簧,所述第一卷簧的兩端分別與收納凹槽內主軸和拐角刮頭固定連接,并在拐角刮頭收納到收納凹槽的內部時蓄力。
可選的,所述起吊外殼包括定位圓環、保護外殼、頂板;所述定位圓環和頂板分別可拆卸的固定在保護外殼的底部和頂部開口處,保護外殼套接在旋轉件的外側,所述頂板與升降裝置固定連接,且定位圓環設置有兩個,兩個定位圓環拼接在旋轉件的外側。
可選的,所述旋轉件包括齒輪環、多個U型桿、中心環、承接環、多個鉸接頭、第二卷簧;所述承接環卡接在定位圓環的外側,并相對于定位圓環的旋轉,所述齒輪環固定在承接環的頂部,并與驅動裝置嚙合,所述中心環位于齒輪環的內部并同心設置,多個所述U型桿沿中心環周向均勻分布,且兩端分別與齒輪環和中心環的頂部固定連接,多個所述鉸接頭呈環形陣列的固定在承接環的底部并與鉸接部位鉸接,所述第二卷簧的兩端分別與鉸接頭的主軸和鉸接部位固定連接。
可選的,所述驅動裝置包括驅動電機、齒輪,所述驅動電機固定在頂板的底部,所述齒輪固定在驅動電機的輸出主軸外側,并與齒輪環嚙合,所述齒輪被適配為驅動齒輪環旋轉的結構。
可選的,所述升降裝置包括防護外殼、兩個固定環、伸縮桿;所述防護外殼固定在儲水窖的頂部,并向上延伸到地面,兩個所述固定環分別固定在防護外殼的內部上下兩端,所述伸縮桿位于防護外殼的內部并被固定環固定,所述伸縮桿向下延伸到儲水窖的內部并與頂板的頂部固定連接,并在伸縮時帶動頂板升降調整高度。
可選的,所述儲水窖的內部由外至內的可滑動的插接有排污管道、所述排污管道穿過中心環并位于中心環的下方,所述排污管道的外側固定安裝有兩個同步限位環,且兩個所述同步限位環分別位于中心環的上方和下方,形成在中心環升降的過程中帶動排污管道同步升降的結構,所述排污管道的底部固定安裝有吸污頭,形成吸污頭的開口處高于傾斜狀態下彎曲部位的最低處,低于水平狀態下彎曲部位最低處的結構。
可選的,所述儲水窖分為上窖體、中窖體、下窖體,所述上窖體和下窖體分別可拆卸的固定在位于中窖體的上下兩個開口處,且通過密封環進行密封連接,所述下窖體的內底壁設置為傾斜斜面、所述上窖體的頂部開口處延伸的地面并固定安裝有井蓋。
可選的,還包括建筑主體、第一導水管道、第二導水管道、過濾器;所述建筑主體建設在地面上,所述建筑主體上的雨水通過第一導水管道運輸到儲水窖的內部,所述儲水窖內部的雨水可以在處理后通過第二導水管道運輸到建筑主體再次利用,所述過濾器固定在第一導水管道的中部,并設置在土地內。
本發明的技術效果和優點:1、本發明通過彎曲部位的弧形設置在旋轉刮污的同時推動污泥向圓心處移動,方便污泥的抽取和排出;同時彎曲部位能夠改變其高度,在排水的過程中高度上升避免攪動清水,導致清水與污水混合,在清潔時高度下降,避免管道與儲水窖的內底壁首先接觸,導致污水無法正常進入到管道內部,同時避免彎曲部位與儲水窖的內底壁無法正常接觸,影響儲水窖內底壁的清理。
2、本發明通過刮板的設置能夠在旋轉時對儲水窖的周向內壁進行清理,避免污泥殘留在儲水窖的內壁上,同時在弧形面的作用下與內底壁接觸后或發生轉動收回到收納凹槽的內部,避免刮板限制翹板的下降;通過拐角刮頭的設置能夠對翹板傾斜帶來的空間差進行彌補,同時拐角刮頭與內底壁的拐角處向對應,使殘留在內底壁的拐角處的污泥被同樣清理。
(發明人:王帥瑋;潘富娟;邵明芳;高嘉民;李玉敏;馮穆青;王海龍;劉歡;李紀朋;李宗強)






