公布日:2023.11.03
申請日:2023.06.02
分類號:C02F1/66(2023.01)I;C02F1/00(2023.01)I;C02F103/20(2006.01)N
摘要
本發明公開了一種用于生豬養殖的廢水處理裝置,涉及生豬養殖技術領域,包括底座,底座頂部固定連接有過濾箱,過濾箱內部設有過濾機構,底座頂部設有中和筒,中和筒內部設有中和機構,過濾機構包括電機,電機設于過濾箱頂部前側,電機輸出端固定連接有傳動軸,傳動軸外側套設有往復絲桿,往復絲桿外側套設有滑動塊,往復絲桿與滑動塊通過滾珠絲杠副連接,滑動塊底部固定連接有連接桿,過濾箱頂部開設有活動槽,連接桿底端通過活動槽并延伸至過濾箱內部,連接桿底端固定連接有連接板,本發明的有益效果是:本裝置對生豬養殖產生的廢水進行有效的過濾和中和處理,極大地降低了廢水的污染效果,對環境起到了極大的保護。

權利要求書
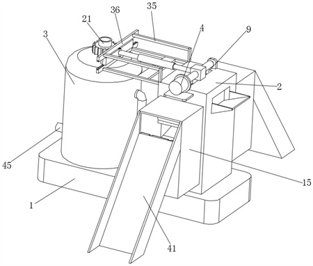
1.一種用于生豬養殖的廢水處理裝置,包括底座(1),其特征在于:所述底座(1)頂部固定連接有過濾箱(2),所述過濾箱(2)內部設有過濾機構,所述底座(1)頂部設有中和筒(3),所述中和筒(3)內部設有中和機構;所述過濾機構包括電機(4),所述電機(4)設于過濾箱(2)頂部前側,所述電機(4)輸出端固定連接有傳動軸(5),所述傳動軸(5)外側套設有往復絲桿(6),所述往復絲桿(6)外側套設有滑動塊(7),所述往復絲桿(6)與滑動塊(7)通過滾珠絲杠副連接,所述滑動塊(7)底部固定連接有連接桿(8),所述過濾箱(2)頂部開設有活動槽(9),所述連接桿(8)底端通過活動槽(9)并延伸至過濾箱(2)內部,所述連接桿(8)底端固定連接有連接板(10),所述連接板(10)底部固定連接有伸縮桿(11),所述伸縮桿(11)底端固定連接有刮板(12),所述過濾箱(2)內部固定嵌設有過濾網(13),所述過濾箱(2)前后兩側開設有通槽(14),所述過濾網(13)前后兩側均固定連接有收集盒(15),兩個所述通槽(14)分別延伸至收集盒(15)內部,兩個所述收集盒(15)內部均設有排料組件;所述中和機構包括第一連桿(16),所述第一連桿(16)通過鉸鏈連接在滑動塊(7)一側,所述第一連桿(16)一端套設有連接管(17),所述連接管(17)一側內部嵌設有第二連桿(18),所述第二連桿(18)一端連接有齒板(19),所述第二連桿(18)與齒板(19)通過鉸鏈活動連接,所述齒板(19)一側設有齒輪(20),所述齒輪(20)與齒板(19)嚙合連接,所述齒輪(20)內部固定嵌設有連通管(21),所述連通管(21)底端延伸至中和筒(3)內部,所述連通管(21)與中和筒(3)通過滾動軸承活動連接,所述連通管(21)底端固定連接有排料板(22),所述排料板(22)底端固定連接有傳動桿(23),所述傳動桿(23)外側固定套設有多個攪拌桿(24)。
2.根據權利要求1所述的一種用于生豬養殖的廢水處理裝置,其特征在于:所述排料組件包括電動推桿(25),所述電動推桿(25)嵌設在收集盒(15)底部,所述電動推桿(25)頂端固定連接有過濾板(26),所述過濾板(26)一側固定連接有兩個T型滑塊(27),所述收集盒(15)一側內壁開設有T型滑槽(28),兩個所述T型滑塊(27)分別嵌設在兩個T型滑槽(28)內部。
3.根據權利要求2所述的一種用于生豬養殖的廢水處理裝置,其特征在于:所述電動推桿(25)頂部一側固定連接有升降桿(29),所述收集盒(15)另一側內壁開設有升降槽(30),所述升降槽(30)內部嵌設有升降板(31),所述升降板(31)底部開設有移動槽,所述移動槽內部固定嵌設有兩個定位桿(32),兩個所述定位桿(32)均嵌設在升降桿(29)內部。
4.根據權利要求1所述的一種用于生豬養殖的廢水處理裝置,其特征在于:所述刮板(12)頂部固定連接有兩個第一彈簧(33),兩個所述第一彈簧(33)分別設于伸縮桿(11)左右兩側。
5.根據權利要求3所述的一種用于生豬養殖的廢水處理裝置,其特征在于:多個所述定位桿(32)外側均套設有第二彈簧(34),多個所述第二彈簧(34)分別設于兩個定位桿(32)頂端。
6.根據權利要求1所述的一種用于生豬養殖的廢水處理裝置,其特征在于:所述過濾箱(2)頂部一側固定連接有固定架(35),所述固定架(35)一側固定連接有兩個限位板(36),兩個所述限位板(36)內部均開設有限位槽(37),兩個所述限位槽(37)內部均嵌設有限位條(38),兩個所述限位條(38)分別固定連接在齒板(19)頂部和底部。7.根據權利要求6所述的一種用于生豬養殖的廢水處理裝置,其特征在于:所述固定架(35)底部固定連接有穩定板(39),所述穩定板(39)頂部連接有轉桿(40),所述轉桿(40)固定連接在連接管(17)底部,所述轉桿(40)與穩定板(39)通過滾動軸承活動連接。
8.根據權利要求1所述的一種用于生豬養殖的廢水處理裝置,其特征在于:兩個所述收集盒(15)外側均固定連接有出料板(41)。
9.根據權利要求2所述的一種用于生豬養殖的廢水處理裝置,其特征在于:兩個所述電動推桿(25)頂端均固定連接有滑塊(42),兩個所述過濾板(26)底部均開設有滑槽,所述滑塊(42)與滑槽相匹配。
10.根據權利要求1所述的一種用于生豬養殖的廢水處理裝置,其特征在于:所述底座(1)內部嵌設有水泵(43),所述水泵(43)輸出端和輸入端均固定連接有排水管(44),兩個所述排水管(44)分別延伸至過濾箱(2)和中和筒(3)內部,所述中和筒(3)一側連接有出水管(45)。
發明內容
為此,本發明提供一種用于生豬養殖的廢水處理裝置,通過使用者將廢水排入過濾箱內部,過濾箱對廢水進行固液分離,同時收集盒將固態垃圾和糞便排出,過來的廢水進入中和筒進行中和處理,以解決豬圈的廢水中殘渣豬糞和其他殘渣,直接排放會造成環境的污染,會對生態環境造成極大的破壞的問題。
為了實現上述目的,本發明提供如下技術方案:一種用于生豬養殖的廢水處理裝置,包括底座,所述底座頂部固定連接有過濾箱,所述過濾箱內部設有過濾機構,所述底座頂部設有中和筒,所述中和筒內部設有中和機構;
所述過濾機構包括電機,所述電機設于過濾箱頂部前側,所述電機輸出端固定連接有傳動軸,所述傳動軸外側套設有往復絲桿,所述往復絲桿外側套設有滑動塊,所述往復絲桿與滑動塊通過滾珠絲杠副連接,所述滑動塊底部固定連接有連接桿,所述過濾箱頂部開設有活動槽,所述連接桿底端通過活動槽并延伸至過濾箱內部,所述連接桿底端固定連接有連接板,所述連接板底部固定連接有伸縮桿,所述伸縮桿底端固定連接有刮板,所述過濾箱內部固定嵌設有過濾網,所述過濾箱前后兩側開設有通槽,所述過濾網前后兩側均固定連接有收集盒,兩個所述通槽分別延伸至收集盒內部,兩個所述收集盒內部均設有排料組件;
所述中和機構包括第一連桿,所述第一連桿通過鉸鏈連接在滑動塊一側,所述第一連桿一端套設有連接管,所述連接管一側內部嵌設有第二連桿,所述第二連桿一端連接有齒板,所述第二連桿與齒板通過鉸鏈活動連接,所述齒板一側設有齒輪,所述齒輪與齒板嚙合連接,所述齒輪內部固定嵌設有連通管,所述連通管底端延伸至中和筒內部,所述連通管與中和筒通過滾動軸承活動連接,所述連通管底端固定連接有排料板,所述排料板底端固定連接有傳動桿,所述傳動桿外側固定套設有多個攪拌桿。
優選的,所述排料組件包括電動推桿,所述電動推桿嵌設在收集盒底部,所述電動推桿頂端固定連接有過濾板,所述過濾板一側固定連接有兩個T型滑塊,所述收集盒一側內壁開設有T型滑槽,兩個所述T型滑塊分別嵌設在兩個T型滑槽內部。
優選的,所述電動推桿頂部一側固定連接有升降桿,所述收集盒另一側內壁開設有升降槽,所述升降槽內部嵌設有升降板,所述升降板底部開設有移動槽,所述移動槽內部固定嵌設有兩個定位桿,兩個所述定位桿均嵌設在升降桿內部。
優選的,所述刮板頂部固定連接有兩個第一彈簧,兩個所述第一彈簧分別設于伸縮桿左右兩側。
優選的,多個所述定位桿外側均套設有第二彈簧,多個所述第二彈簧分別設于兩個定位桿頂端。
優選的,所述過濾箱頂部一側固定連接有固定架,所述固定架一側固定連接有兩個限位板,兩個所述限位板內部均開設有限位槽,兩個所述限位槽內部均嵌設有限位條,兩個所述限位條分別固定連接在齒板頂部和底部。
優選的,所述固定架底部固定連接有穩定板,所述穩定板頂部連接有轉桿,所述轉桿固定連接在連接管底部,所述轉桿與穩定板通過滾動軸承活動連接。
優選的,兩個所述收集盒外側均固定連接有出料板。
優選的,兩個所述電動推桿頂端均固定連接有滑塊,兩個所述過濾板底部均開設有滑槽,所述滑塊與滑槽相匹配。
優選的,所述底座內部嵌設有水泵,所述水泵輸出端和輸入端均固定連接有排水管,兩個所述排水管分別延伸至過濾箱和中和筒內部,所述中和筒一側連接有出水管。
本發明的有益效果是:
1、本發明通過使用者將廢水排入過濾箱內部,過濾箱對廢水進行固液分離,同時收集盒將固態垃圾和糞便排出,過來的廢水進入中和筒進行中和處理,以解決豬圈的廢水中殘渣豬糞和其他殘渣,直接排放會造成環境的污染,會對生態環境造成極大的破壞的問題,本裝置對生豬養殖產生的廢水進行有效的過濾和中和處理,極大地降低了廢水的污染效果,對環境起到了極大的保護;
2、另外本裝置通過聯動的結構進行過濾和中和同時工作,使得對廢水處理的效率極大地提升,同時本裝置有效地進行廢水的固液分離,便于使用者對廢水和廢料進行分類處理,極大地提高了處理的效率,同時也降低了收集處理的成本,也給養殖者帶來極大的收益。
(發明人:崔恒進;殷萍;張琴)






