公布日:2023.11.07
申請日:2023.10.07
分類號:B01J20/26(2006.01)I;B01J20/30(2006.01)I;C02F9/00(2023.01)I;C02F1/56(2023.01)I;C02F11/145(2019.01)I;C02F11/147(2019.01)I;C02F1/66(2023.01)N;C02F1
/28(2023.01)N;C02F1/38(2023.01)N;C02F1/44(2023.01)N;C02F1/00(2023.01)N;C02F101/20(2006.01)N;C02F103/18(2006.01)N
摘要
本發明提供一種螯合劑、燃煤電廠脫硫廢水的工業化處理系統及處理方法,屬于脫硫廢水處理技術領域,所述螯合劑包括:4-氨基-3-苯基丁酸鹽酸鹽、DL-3,4-二羥基苯基二醇、4,4'-二氯二苯砜和納米SiO2改性聚丙烯酸樹脂。所述系統包括:螯合劑配制單元、脫硫廢水反應單元、過濾單元、中和反應單元、固液分離單元、脫硫污泥處理單元和鹽液回收單元;方法包括:利用螯合劑去除脫硫廢水中的重金屬離子;過濾絮凝狀沉淀;調節脫硫廢水的pH值;分離含鹽漿液與脫硫污泥;脫硫污泥脫水處理;含鹽漿液濃縮、蒸發和干燥處理。通過本發明提供的方法,脫硫污泥中的各重金屬離子去除率均接近100%,脫硫污泥中的水分含量低于50%。

權利要求書
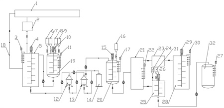
1.一種燃煤電廠脫硫廢水的工業化處理方法,其特征在于,所述燃煤電廠脫硫廢水的工業化處理方法通過燃煤電廠脫硫廢水的工業化處理系統實現,包括以下步驟:向脫硫廢水中加入重金屬離子螯合劑,通過不斷攪拌使重金屬離子螯合劑與脫硫廢水中的重金屬離子發生螯合反應,生成帶有絮凝狀沉淀的脫硫廢水;所述重金屬離子螯合劑通過以下方式配制:將4-氨基-3-苯基丁酸鹽酸鹽、DL-3,4-二羥基苯基二醇、4,4'-二氯二苯砜和納米SiO2改性聚丙烯酸樹脂進行混合,并不斷攪拌,直到各反應物發生螯合反應,制備獲得重金屬離子螯合劑;其中,所述4-氨基-3-苯基丁酸鹽酸鹽、所述DL-3,4-二羥基苯基二醇、所述4,4'-二氯二苯砜和所述納米SiO2改性聚丙烯酸樹脂的第一預定質量比為(1.2~3.5)∶(2.1~3.8):(1.4~2.5):(5.0~9.5);在重金屬離子螯合劑和脫硫廢水中的重金屬離子發生螯合反應的過程中,向脫硫廢水中通入45℃~50℃的煙氣;過濾螯合反應后的脫硫廢水中的絮凝狀沉淀,獲得去除重金屬離子后的脫硫廢水;向去除重金屬離子后的脫硫廢水中加入堿性物質,通過不斷攪拌使堿性物質與脫硫廢水發生中和反應,獲得pH值為7~13的脫硫廢水;將pH值為7~13的脫硫廢水進行固液分離,分別獲得含鹽漿液和脫硫污泥;去除脫硫污泥中的水分含量;將含鹽漿液進行濃縮、蒸發和干燥處理,獲得含鹽固體粉末;所述燃煤電廠脫硫廢水的工業化處理系統包括:螯合劑配制單元、脫硫廢水反應單元、過濾單元、中和反應單元、固液分離單元、脫硫污泥處理單元、鹽液回收單元、煙氣通道和煙氣降溫單元;其中,所述螯合劑配制單元用于將4-氨基-3-苯基丁酸鹽酸鹽、DL-3,4-二羥基苯基二醇、4,4'-二氯二苯砜和納米SiO2改性聚丙烯酸樹脂進行混合,并不斷攪拌,直到各反應物發生螯合反應,制備獲得重金屬離子螯合劑;所述脫硫廢水反應單元的入口與所述螯合劑配制單元的出口相連通,用于將重金屬離子螯合劑與脫硫廢水進行混合并發生螯合反應;所述煙氣通道用于輸送燃煤電廠引風機排放的煙氣,所述煙氣包括:二氧化碳、硫化物、氮氧化物、空氣、煙塵和氨;所述煙氣降溫單元的入口與所述煙氣通道相連通,用于將煙氣溫度降溫至45℃~50℃;所述煙氣降溫單元的出口與所述脫硫廢水反應單元的入口相連通,用于向脫硫廢水中通入降溫處理后的煙氣;所述過濾單元的入口與所述脫硫廢水反應單元的出口相連通,用于過濾螯合反應后的脫硫廢水中的絮凝狀沉淀,獲得去除重金屬離子后的脫硫廢水;所述中和反應單元的入口與所述過濾單元的出口相連通,用于將堿性物質與去除重金屬離子后的脫硫廢水進行混合并發生中和反應,獲得調節pH值后的脫硫廢水;所述固液分離單元的入口與所述中和反應單元的出口相連通,用于將調節pH值后的脫硫廢水中的含鹽漿液和脫硫污泥進行固液分離;所述脫硫污泥處理單元的入口與所述固液分離單元的污泥出口相連通,用于去除脫硫污泥中的水分含量;所述鹽液回收單元的入口與所述固液分離單元的鹽液出口相連通,用于將含鹽漿液進行濃縮、蒸發和干燥處理,獲得含鹽固體粉末。
2.根據權利要求1所述的燃煤電廠脫硫廢水的工業化處理方法,其特征在于,所述螯合劑配制單元包括:第一原料罐、第二原料罐、第三原料罐、第四原料罐和螯合劑配制罐;所述第一原料罐、所述第二原料罐、所述第三原料罐、所述第四原料罐分別與所述螯合劑配制罐的入口相連通;所述第一原料罐用于存放4-氨基-3-苯基丁酸鹽酸鹽;所述第二原料罐用于存放DL-3,4-二羥基苯基二醇;所述第三原料罐用于存放4,4'-二氯二苯砜;所述第四原料罐用于存放納米SiO2改性聚丙烯酸樹脂;所述螯合劑配制罐用于將4-氨基-3-苯基丁酸鹽酸鹽、DL-3,4-二羥基苯基二醇、4,4'-二氯二苯砜和納米SiO2改性聚丙烯酸樹脂按照第一預定質量比配制為重金屬離子螯合劑;所述螯合劑配制罐上還安裝有攪拌器,攪拌器用于對螯合劑配制罐中的各反應物進行充分攪拌。
3.根據權利要求1所述的燃煤電廠脫硫廢水的工業化處理方法,其特征在于,所述煙氣降溫單元包括:干冰儲存箱和干冰噴射器;其中,所述干冰噴射器安裝在所述干冰儲存箱上,所述干冰儲存箱的入口與所述煙氣通道相連通,所述干冰儲存箱的出口與所述脫硫廢水反應單元的入口相連通。
4.根據權利要求1所述的燃煤電廠脫硫廢水的工業化處理方法,其特征在于,所述固液分離單元包括:離心沉淀機、過濾膜和抽水泵;所述過濾膜橫向安裝在所述離心沉淀機的內部,且過濾膜包括按照從下至上順序設置的不銹鋼過濾網、纖維過濾膜和微米級超濾膜;所述抽水泵的入口與所述離心沉淀機的鹽液出口相連通,所述抽水泵的出口與所述鹽液回收單元的入口相連通。
5.根據權利要求1所述的燃煤電廠脫硫廢水的工業化處理方法,其特征在于,所述脫硫污泥處理單元包括:第五原料罐、第六原料罐、脫硫污泥處理罐和脫硫污泥脫水罐;所述第五原料罐用于存放改性硅鈣渣;所述第六原料罐用于存放脫水劑;所述第五原料罐、所述第六原料罐分別與所述脫硫污泥處理罐的入口相連通,所述脫硫污泥處理罐用于充分混合改性硅鈣渣、脫水劑和脫硫污泥;所述脫硫污泥脫水罐與所述脫硫污泥處理罐的出口相連通,用于將混合后的脫硫污泥進行機械脫水。
6.根據權利要求1所述的燃煤電廠脫硫廢水的工業化處理方法,其特征在于,所述燃煤電廠脫硫廢水的工業化處理系統還包括:在線檢測單元和控制單元,所述在線檢測單元包括:第一檢測模塊、第二檢測模塊、第三檢測模塊、第四檢測模塊、第五檢測模塊和第六檢測模塊;所述第一檢測模塊用于檢測脫硫廢水反應單元中的氣壓和溫度;所述第二檢測模塊用于檢測螯合劑配制單元中的各反應物濃度;所述第三檢測模塊用于檢測中和反應單元中的pH值;所述第四檢測模塊用于檢測固液分離單元中的鹽濃度;所述第五檢測模塊用于檢測脫硫污泥處理單元中的脫硫污泥含水量;所述第六檢測模塊用于檢測鹽液回收單元中的鹽液含水量;所述控制單元用于接收所述在線檢測單元輸出的多項檢測數據,并輸出相應的控制決策。
7.根據權利要求1所述的燃煤電廠脫硫廢水的工業化處理方法,其特征在于,所述去除脫硫污泥中的水分含量,包括:先向脫硫污泥中依次加入改性硅鈣渣和脫水劑,不斷攪拌后,再針對混合后的脫硫污泥進行機械脫水,獲得水分含量低于50%的脫硫污泥。
8.根據權利要求7所述的燃煤電廠脫硫廢水的工業化處理方法,其特征在于,所述改性硅鈣渣和脫硫污泥中固相物質的第二預定質量比為(0.1~0.3)∶(1~1.2);所述脫水劑和脫硫污泥中固相物質的第三預定質量比為(0.05~0.1)∶(1~1.2)。
9.一種應用于權利要求1~8任一項所述的燃煤電廠脫硫廢水的工業化處理方法的重金屬離子螯合劑,其特征在于,所述重金屬離子螯合劑通過以下方式配制:將4-氨基-3-苯基丁酸鹽酸鹽、DL-3,4-二羥基苯基二醇、4,4'-二氯二苯砜和納米SiO2改性聚丙烯酸樹脂進行混合,并不斷攪拌,直到各反應物發生螯合反應,制備獲得重金屬離子螯合劑;其中,所述4-氨基-3-苯基丁酸鹽酸鹽、所述DL-3,4-二羥基苯基二醇、所述4,4'-二氯二苯砜和所述納米SiO2改性聚丙烯酸樹脂的第一預定質量比為(1.2~3.5)∶(2.1~3.8):(1.4~2.5):(5.0~9.5)。
發明內容
針對現有技術中前期脫硫廢水處理工藝與后續脫硫廢水副產物-脫硫污泥處理工藝是分開進行的,無法實現燃煤電廠脫硫廢水及其副產物-脫硫污泥的工業化連續處理,且脫硫污泥中重金屬元素的處理方式存在一定局限性的技術問題,本發明提供了一種螯合劑、燃煤電廠脫硫廢水的工業化處理系統及處理方法,采用該螯合劑能夠極大提高重金屬離子去除率,采用該工業化處理系統及處理方法能夠實現脫硫廢水和脫硫污泥的連續化處理,不僅能夠有效去除脫硫污泥中的重金屬離子,還能夠提高脫硫污泥脫水率,降低脫硫污泥粘性。
為實現上述目的,本發明第一方面提供了一種燃煤電廠脫硫廢水的工業化處理系統,所述工業化處理系統包括:螯合劑配制單元、脫硫廢水反應單元、過濾單元、中和反應單元、固液分離單元、脫硫污泥處理單元和鹽液回收單元;其中,所述螯合劑配制單元用于將4-氨基-3-苯基丁酸鹽酸鹽、DL-3,4-二羥基苯基二醇、4,4'-二氯二苯砜和納米SiO2改性聚丙烯酸樹脂配制為重金屬離子螯合劑;所述脫硫廢水反應單元的入口與所述螯合劑配制單元的出口相連通,用于將重金屬離子螯合劑與脫硫廢水進行混合并發生螯合反應;所述過濾單元的入口與所述脫硫廢水反應單元的出口相連通,用于過濾螯合反應后的脫硫廢水中的絮凝狀沉淀,獲得去除重金屬離子后的脫硫廢水;所述中和反應單元的入口與所述過濾單元的出口相連通,用于將堿性物質與去除重金屬離子后的脫硫廢水進行混合并發生中和反應,獲得調節pH值后的脫硫廢水;所述固液分離單元的入口與所述中和反應單元的出口相連通,用于將調節pH值后的脫硫廢水中的含鹽漿液和脫硫污泥進行固液分離;所述脫硫污泥處理單元的入口與所述固液分離單元的污泥出口相連通,用于去除脫硫污泥中的水分含量;所述鹽液回收單元的入口與所述固液分離單元的鹽液出口相連通,用于將含鹽漿液進行濃縮、蒸發和干燥處理,獲得含鹽固體粉末。
在本發明的一個示例性實施例中,所述螯合劑配制單元可以包括:第一原料罐、第二原料罐、第三原料罐、第四原料罐和螯合劑配制罐;所述第一原料罐、所述第二原料罐、所述第三原料罐、所述第四原料罐分別與所述螯合劑配制罐的入口相連通;所述第一原料罐用于存放4-氨基-3-苯基丁酸鹽酸鹽;所述第二原料罐用于存放DL-3,4-二羥基苯基二醇;所述第三原料罐用于存放4,4'-二氯二苯砜;所述第四原料罐用于存放納米SiO2改性聚丙烯酸樹脂;所述螯合劑配制罐用于將4-氨基-3-苯基丁酸鹽酸鹽、DL-3,4-二羥基苯基二醇、4,4'-二氯二苯砜和納米SiO2改性聚丙烯酸樹脂按照第一預定質量比配制為重金屬離子螯合劑;其中,所述4-氨基-3-苯基丁酸鹽酸鹽、所述DL-3,4-二羥基苯基二醇、所述4,4'-二氯二苯砜和所述納米SiO2改性聚丙烯酸樹脂的第一預定質量比為(1.2~3.5)∶(2.1~3.8):(1.4~2.5):(5.0~9.5)。
在本發明的一個示例性實施例中,所述工業化處理系統還可以包括:煙氣通道和煙氣降溫單元;所述煙氣通道用于輸送燃煤電廠引風機排放的煙氣,所述煙氣包括:二氧化碳、硫化物、氮氧化物、空氣、煙塵和氨;所述煙氣降溫單元的入口與所述煙氣通道相連通,用于將煙氣溫度降溫至45℃~50℃;所述煙氣降溫單元的出口與所述脫硫廢水反應單元的入口相連通,用于向脫硫廢水中通入降溫處理后的煙氣。
在本發明的一個示例性實施例中,所述煙氣降溫單元可以包括:干冰儲存箱和干冰噴射器;其中,干冰噴射器安裝在干冰儲存箱上,干冰儲存箱的入口與所述煙氣通道相連通,干冰儲存箱的出口與所述脫硫廢水反應單元的入口相連通。
在本發明的一個示例性實施例中,所述固液分離單元可以包括:離心沉淀機、過濾膜和抽水泵;所述過濾膜橫向安裝在所述離心沉淀機的內部,且過濾膜包括按照從下至上順序設置的不銹鋼過濾網、纖維過濾膜和微米級超濾膜;所述抽水泵的入口與所述離心沉淀機的鹽液出口相連通,所述抽水泵的出口與所述鹽液回收單元的入口相連通。
在本發明的一個示例性實施例中,所述脫硫污泥處理單元可以包括:第五原料罐、第六原料罐、脫硫污泥處理罐和脫硫污泥脫水罐;所述第五原料罐用于存放改性硅鈣渣;所述第六原料罐用于存放脫水劑;所述第五原料罐、所述第六原料罐分別與所述脫硫污泥處理罐的入口相連通,所述脫硫污泥處理罐用于充分混合改性硅鈣渣、脫水劑和脫硫污泥;所述脫硫污泥脫水罐與所述脫硫污泥處理罐的出口相連通,用于將混合后的脫硫污泥進行機械脫水。
在本發明的一個示例性實施例中,所述工業化處理系統還可以包括:在線檢測單元,所述在線檢測單元可以包括:第一檢測模塊、第二檢測模塊、第三檢測模塊、第四檢測模塊、第五檢測模塊和第六檢測模塊;所述第一檢測模塊用于檢測脫硫廢水反應單元中的氣壓和溫度;所述第二檢測模塊用于檢測螯合劑配制單元中的各反應物濃度;所述第三檢測模塊用于檢測中和反應單元中的pH值;所述第四檢測模塊用于檢測固液分離單元中的鹽濃度;所述第五檢測模塊用于檢測脫硫污泥處理單元中的脫硫污泥含水量;所述第六檢測模塊用于檢測鹽液回收單元中的鹽液含水量。
在本發明的一個示例性實施例中,所述工業化處理系統還可以包括:控制單元;所述控制單元用于接收所述在線檢測單元輸出的多項檢測數據,并輸出相應的控制決策。
本發明第二方面提供了一種重金屬離子螯合劑,所述重金屬離子螯合劑包括:4-氨基-3-苯基丁酸鹽酸鹽、DL-3,4-二羥基苯基二醇、4,4'-二氯二苯砜和納米SiO2改性聚丙烯酸樹脂;其中,所述4-氨基-3-苯基丁酸鹽酸鹽、所述DL-3,4-二羥基苯基二醇、所述4,4'-二氯二苯砜和所述納米SiO2改性聚丙烯酸樹脂的第一預定質量比為(1.2~3.5)∶(2.1~3.8):(1.4~2.5):(5.0~9.5)。
本發明第三方面提供了一種燃煤電廠脫硫廢水的工業化處理方法,所述工業化處理方法通過上述的工業化處理系統實現,包括以下步驟:向脫硫廢水中加入重金屬離子螯合劑,通過不斷攪拌使重金屬離子螯合劑與脫硫廢水中的重金屬離子發生螯合反應,生成帶有絮凝狀沉淀的脫硫廢水;過濾螯合反應后的脫硫廢水中的絮凝狀沉淀,獲得去除重金屬離子后的脫硫廢水;向去除重金屬離子后的脫硫廢水中加入堿性物質,通過不斷攪拌使堿性物質與脫硫廢水發生中和反應,獲得pH值為7~13的脫硫廢水;將pH值為7~13的脫硫廢水進行固液分離,分別獲得含鹽漿液和脫硫污泥;去除脫硫污泥中的水分含量;將含鹽漿液進行濃縮、蒸發和干燥處理,獲得含鹽固體粉末。
在本發明的另一個示例性實施例中,所述去除脫硫污泥中的水分含量,可以包括:先向脫硫污泥中依次加入改性硅鈣渣和脫水劑,不斷攪拌后,再針對混合后的脫硫污泥進行機械脫水,獲得水分含量低于50%的脫硫污泥。
在本發明的另一個示例性實施例中,所述改性硅鈣渣和脫硫污泥中固相物質的第二預定質量比可以為(0.1~0.3)∶(1~1.2);所述脫水劑和脫硫污泥中固相物質的第三預定質量比可以為(0.05~0.1)∶(1~1.2)。
在本發明的另一個示例性實施例中,可以在重金屬離子螯合劑和脫硫廢水中的重金屬離子發生螯合反應的過程中,向脫硫廢水中通入45℃~50℃的煙氣。
通過本發明提供的技術方案,本發明至少具有如下技術效果:
(1)本發明通過配制一種新型的重金屬離子螯合劑,極大地提高了重金屬離子的去除率(各重金屬離子去除率均接近100%),該重金屬離子螯合劑對于重金屬離子的吸附容量較高,能夠較強的吸附重金屬離子;
(2)本發明將經過降溫處理后的低溫煙氣作為螯合反應的催化劑,不僅加快了螯合反應速率,輔助提高重金屬離子吸附效果,還實現了燃煤電廠煙氣的循環利用;
(3)本發明通過設計一種采用離心沉淀機+過濾膜+大功率抽水泵的結構形式的固液分離器,不僅實現了含鹽漿液和脫硫污泥的高效分離,還輔助降低了最終脫水后的脫硫污泥中的水分含量;
(4)本發明通過改性硅鈣渣和脫水劑與脫硫污泥進行物理結合,提高了脫硫污泥的整體脫水性能,并在機械脫水的協同作用下,最終實現將脫硫污泥的水分含量降低至50%以下,從而降低了脫硫污泥的粘性;
(5)本發明通過設置控制單元和在線檢測單元,將燃煤電廠脫硫廢水處理與智能化控制相結合,實現了脫硫廢水工業化快速與準確處理;
(6)本發明通過脫硫廢水和脫硫污泥的連續化處理,不僅能實現脫硫廢水及其副產物-脫硫污泥的零排放,而且處理周期短、效率高且效果好,有利于重金屬、含鹽固體粉末和污泥固體回收,對環境友好,無二次污染。
(發明人:孫江穎)






