公布日:2023.10.10
申請日:2023.07.10
分類號:B01D21/02(2006.01)I;B01D21/24(2006.01)I
摘要
本發明公開一種水處理澄清器,包括澄清水箱,該澄清水箱的底部設置為水平的平面形式,且澄清水箱的底部還安裝有抽泥管,澄清水箱的上端又對應安裝有進液管,所述澄清水箱的上方設置有固定板,該固定板上對應安裝有升降機構,升降機構的升降桿向下穿過固定板并對應在桿端安裝有分隔板。本發明中上方的澄清水和下方已經沉淀的污泥可以通過設置的分隔板被相應分隔開,無論上方的澄清水和下方的污泥如何處理都不會相應影響,既可以對上方的澄清水進行抽取處理也可以放藥后進行中和處理等均不會收到下方的污泥的影響;而下方對污泥的處理同樣不會影響上方的澄清水,結構設計十分巧妙,使用方便合理。

權利要求書
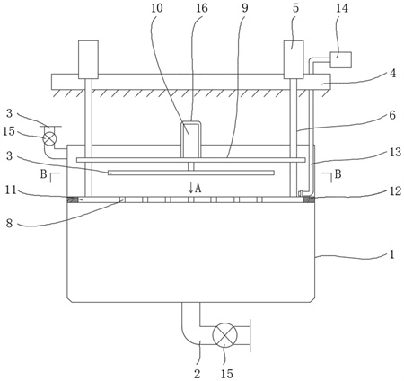
1.一種水處理澄清器,其特征在于:包括澄清水箱(1),該澄清水箱(1)的底部設置為水平的平面形式,且澄清水箱(1)的底部還安裝有抽泥管(2),澄清水箱(1)的上端又對應安裝有進液管(3),從進液管(3)進入的污水對應在澄清水箱(1)中進行靜置澄清;所述澄清水箱(1)的上方設置有一固定板(4),該固定板(4)上對應安裝有升降機構(5),所述升降機構(5)的升降桿(6)向下穿過固定板(4)并對應在桿端安裝有分隔板(7),該分隔板(7)的形狀尺寸與澄清水箱(1)的內部形狀尺寸相適配,升降機構(5)可帶動分隔板(7)下降到澄清水箱(1)內,且所述的分隔板(7)上還設置有若干均布的過水孔(8);所述的分隔板(7)和固定板(4)之間還設置有一升降支架(9),所述的升降支架(9)對應固定在升降桿(6)上,使得升降支架(9)和分隔板(7)可同步上下升降移動;且所述的升降支架(9)上還安裝有豎向的電動推桿(10),該電動推桿(10)的主軸向下伸出,且軸端安裝有堵孔板(11),該堵孔板(11)設置在升降支架(9)與分隔板(7)之間,且所述的堵孔板(11)全面覆蓋住分隔板(7)上的過水孔(8)。
2.根據權利要求1所述的一種水處理澄清器,其特征在于:所述的澄清水箱(1)設置為圓筒狀水箱,所述的分隔板(7)設置為圓形板體結構;所述分隔板(7)上的過水孔(8)為環形均布設置。
3.根據權利要求2所述的一種水處理澄清器,其特征在于:所述分隔板(7)的邊緣位置處還安裝有一圈堵水墊(12)。
4.根據權利要求1所述的一種水處理澄清器,其特征在于:所述的固定板(4)上還安裝有抽水管(13),該抽水管(13)對應連接安裝有抽水泵(14),抽水管(13)的下端對應固定在分隔板(7)上,且相應設置抽水管(13)的位置,堵孔板(11)向下移動后不會壓住抽水管(13)。
5.根據權利要求4所述的一種水處理澄清器,其特征在于:所述的抽水管(13)設置為可伸縮調節高度的彈簧管,使得抽水管(13)可隨分隔板(7)上下移動。
6.根據權利要求1所述的一種水處理澄清器,其特征在于:所述的進液管(3)和抽泥管(2)上均安裝有電磁閥(15);且抽泥管(2)上還安裝有抽泥泵。
7.根據權利要求1所述的一種水處理澄清器,其特征在于:所述固定板(4)上的升降機構(5)共設置有左右對稱的兩組,所述的升降支架(9)上還安裝有用于保護電動推桿(10)的防水罩(16)。
發明內容
本發明的目的是針對現有技術存在的不足,提供一種水處理澄清器;其技術方案如下:
一種水處理澄清器,包括澄清水箱,該澄清水箱的底部設置為水平的平面形式,且澄清水箱的底部還安裝有抽泥管,澄清水箱的上端又對應安裝有進液管,從進液管進入的污水對應在澄清水箱中進行靜置澄清。
所述澄清水箱的上方設置有一固定板,該固定板上對應安裝有升降機構,所述升降機構的升降桿向下穿過固定板并對應在桿端安裝有分隔板,該分隔板的形狀尺寸與澄清水箱的內部形狀尺寸相適配,升降機構可帶動分隔板下降到澄清水箱內,且所述的分隔板上還設置有若干均布的過水孔。
所述的分隔板和固定板之間還設置有一升降支架,所述的升降支架對應固定在升降桿上,使得升降支架和分隔板可同步上下升降移動;且所述的升降支架上還安裝有豎向的電動推桿,該電動推桿的主軸向下伸出,且軸端安裝有堵孔板,該堵孔板設置在升降支架與分隔板之間,且所述的堵孔板全面覆蓋住分隔板上的過水孔。
進一步地,所述的澄清水箱設置為圓筒狀水箱,所述的分隔板設置為圓形板體結構;所述分隔板上的過水孔為環形均布設置。
進一步地,所述分隔板的邊緣位置處還安裝有一圈堵水墊。
進一步地,所述的固定板上還安裝有抽水管,該抽水管對應連接安裝有抽水泵,抽水管的下端對應固定在分隔板上,且相應設置抽水管的位置,堵孔板向下移動后不會壓住抽水管。
進一步地,所述的抽水管設置為可伸縮調節高度的彈簧管,使得抽水管可隨分隔板上下移動。
進一步地,所述的進液管和抽泥管上均安裝有電磁閥;且抽泥管上還安裝有抽泥泵。
進一步地,所述固定板上的升降機構共設置有左右對稱的兩組,所述的升降支架上還安裝有用于保護電動推桿的防水罩。
有益效果:本發明具有以下有益效果:
1)本發明中上方的澄清水和下方已經沉淀的污泥可以通過設置的分隔板被相應分隔開,那么無論上方的澄清水和下方的污泥如何處理都不會相應影響,既可以對上方的澄清水進行抽取處理也可以放藥后進行中和處理等均不會收到下方的污泥的影響;而下方對污泥的處理同樣不會影響上方的澄清水,結構設計十分巧妙,使用方便合理;
2)本發明中下方已經沉淀澄清的污泥可以通過抽泥泵直接從抽泥管中抽取出來,同時上方的升降機構可同時下壓整體分隔板,一方面解決壓力問題,另外一方面加快污泥的抽取,且相應設置過水孔的分布,以及在分隔板的邊緣位置處安裝堵水墊,不會在分隔板下降的時候,有污泥從縫隙漏出,結構合理使用方便;
3)本發明中上方已經澄清的水體通過設置的抽水管進行抽取,且本發明將抽水管直接固定在分隔板上,分隔板無論下降到各種位置,分隔板上方區域的水體都是清水,因此可以非常方便的抽取上方的澄清水,并且還需要將抽水管設置成彈簧管結構,不會影響抽水管的上下移動,使用方便。
(發明人:陳科文;陳竹)






