公布日:2023.09.22
申請日:2023.06.07
分類號:C02F11/13(2019.01)I;B01D53/26(2006.01)I;B08B1/00(2006.01)I;C02F11/00(2006.01)I
摘要
本發明公開了一種封閉循環處理模塊及帶此模塊的污泥干化系統及工藝,包括封閉箱,所述封閉箱的底部中間固定設置有排料端,所述封閉箱的內腔設置有干化處理組件,所述封閉箱的前端左右兩側均固定設置有熱風機,本發明涉及污泥干化技術領域。該封閉循環處理模塊及帶此模塊的污泥干化系統及工藝,通過擠出管、刀片、齒條以及第一齒輪之間的相互配合,能將擠出的污泥切成小塊的泥球,小塊的泥球能與熱空氣充分接觸,進而使污泥中的水分快速分離出來,實現徹底干化的目的,通過貫通盒、吹氣管、弧形罩以及吹氣口之間的相互配合,能延長小塊泥球落進弧形罩中的時間,使泥球表面徹底干化,避免之后出現粘連的情況。

權利要求書
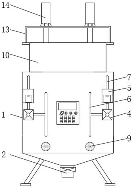
1.一種封閉循環處理模塊,包括封閉箱,其特征在于:所述封閉箱的底部中間固定設置有排料端,所述封閉箱的內腔設置有干化處理組件,所述封閉箱的前端左右兩側均固定設置有熱風機,所述封閉箱的前端左右兩側且位于對應熱風機的上方均固定設置有容納盒,兩個所述熱風機的排氣端均固定連通有T型管,兩個所述熱風機的進氣端均與相鄰容納盒的內部固定連通,兩個所述容納盒的頂部均固定連通有抽氣管,兩個所述抽氣管的頂部均與封閉箱的內部固定連通,兩個所述容納盒的內部均填充有干燥劑顆粒,所述封閉箱前端下部的左右兩側均固定設置有第一伺服電機。
2.根據權利要求1所述的一種封閉循環處理模塊,其特征在于:所述干化處理組件包括兩個貫通盒,兩個所述貫通盒的前后端均通過支桿與封閉箱的內壁固定連接,兩個所述貫通盒的內壁一圈均開設有匯通腔,所述匯通腔的前端與對應T型管的頂部固定連通,所述貫通盒的內壁均勻固定設置有若干與匯通腔相連通的吹氣管,兩個所述貫通盒的頂部前后端均開設有滑槽,所述貫通盒的頂部左右兩側均固定設置有清潔套機構,每個所述滑槽的內部均滑動設置有滑塊,前部兩個滑塊的頂部之間以及后部兩個滑塊的頂部之間均固定設置有連桿,左部兩個所述連桿之間以及右部兩個連桿之間均固定設置有刀片。
3.根據權利要求2所述的一種封閉循環處理模塊,其特征在于:前部所述連桿的前端之間以及后部兩個連桿的后端之間均固定設置有齒條,兩個所述貫通盒的前部之間以及后部之間均固定設置有承載板,每個所述承載板的頂部均固定設置有第二伺服電機,所述第二伺服電機的輸出端固定設置有第一齒輪,所述第一齒輪與相鄰齒條嚙合連接。
4.根據權利要求2所述的一種封閉循環處理模塊,其特征在于:所述貫通盒的內腔下部前后壁之間固定設置有導向條機構,所述貫通盒的底部前后端均固定設置有連板,兩個所述連板之間固定貫穿有轉軸,所述轉軸固定連接在封閉箱的內腔前后壁之間,所述轉軸的外部轉動套設有弧形罩,所述弧形罩的內壁開設有通氣腔,所述通氣腔的前端與對應T型管的底部通過軟管固定連通,所述通氣腔靠近貫通盒的一側均勻開設有若干吹氣口。
5.根據權利要求4所述的一種封閉循環處理模塊,其特征在于:所述弧形罩的底部前后端均固定設置有弧形齒條,所述封閉箱內腔左右兩側的前后壁之間均轉動設置有軸桿,所述軸桿的前端與對應第一伺服電機的輸出端固定連接,所述軸桿的外壁前后端均固定套設有第二齒輪,所述第二齒輪的頂部與對應弧形齒條的底部相嚙合,所述轉軸的底部均勻固定設置有若干攪拌桿。
6.根據權利要求2所述的一種封閉循環處理模塊,其特征在于:每個所述清潔套機構均包括清潔刮套,所述清潔刮套的底部固定連接在貫通盒的頂部,所述清潔刮套的內腔遠離刀片的一側均勻固定設置有若干第一彈簧,若干所述第一彈簧靠近刀片的一側之間固定設置有推條。
7.根據權利要求4所述的一種封閉循環處理模塊,其特征在于:所述導向條機構包括支撐條,所述支撐條固定連接在貫通盒內腔下部的前后壁之間,所述支撐條的內部從前到后均勻開設有若干緩沖腔,每個所述緩沖腔的內部均滑動貫穿有T型桿,所述T型桿的底部與緩沖腔的底部之間通過第二彈簧固定連接,所述T型桿的頂部固定設置有弧形導向罩。
8.根據權利要求1所述的一種帶有封閉循環處理模塊的污泥干化系統,包括污泥放置箱,其特征在于:所述污泥放置箱的底部固定連接在封閉箱的頂部,所述污泥放置箱的底部左右兩側從前到后均固定貫穿有若干擠出管,每個所述擠出管的底部均貫穿封閉箱的頂部,所述污泥放置箱和擠出管的內壁均固定貫穿有若干電熱絲。
9.根據權利要求8所述的一種帶有封閉循環處理模塊的污泥干化系統,其特征在于:所述污泥放置箱的頂部左右兩側之間固定設置有支架,所述支架的頂部左右兩側均固定設置有液壓桿,兩個所述液壓桿的底部之間固定設置有滑動貫穿污泥放置箱內部的推板。
10.一種實施權利要求9所述帶有封閉循環處理模塊的污泥干化系統的干化工藝,其特征在于:該工藝包括以下步驟:步驟一、電熱絲通電發熱,將污泥放置在污泥放置箱的內部,然后啟動液壓桿,帶動推板下移,使推板位于污泥放置箱的內部,電熱絲對污泥放置箱中的污泥進行加熱,使污泥實現初步的脫水干化;步驟二、然后再次啟動液壓桿,將推板向下推動,慢慢向下擠壓污泥,最底部的污泥被擠入擠出管中,經過擠出管的過程中,污泥進一步脫水干化,然后在干化處理組件的作用下,從擠出管中被擠出的污泥先被切成泥球,泥球下落經過干化處理組件的內部;步驟三、熱風機工作,通過T型管向干化處理組件中吹入熱氣,吹向經過干化處理組件中的泥球,使泥球實現徹底的脫水干化,潮濕的熱氣被熱風機通過抽氣管再次抽吸出來,先經過容納盒的內部,在干燥劑顆粒的作用下,潮濕的熱氣被干燥,干燥之后的熱氣繼續吹向封閉箱的內部實現循環。
發明內容
針對現有技術的不足,本發明提供了一種封閉循環處理模塊及帶此模塊的污泥干化系統及工藝,解決了使污泥與熱空氣的接觸面積有限,無法使污泥中的水分快速分離出來,存在干化不徹底的情況的問題。
為實現以上目的,本發明通過以下技術方案予以實現:一種封閉循環處理模塊,包括封閉箱,所述封閉箱的底部中間固定設置有排料端,所述封閉箱的內腔設置有干化處理組件,所述封閉箱的前端左右兩側均固定設置有熱風機,所述封閉箱的前端左右兩側且位于對應熱風機的上方均固定設置有容納盒,兩個所述熱風機的排氣端均固定連通有T型管,兩個所述熱風機的進氣端均與相鄰容納盒的內部固定連通,兩個所述容納盒的頂部均固定連通有抽氣管,兩個所述抽氣管的頂部均與封閉箱的內部固定連通,兩個所述容納盒的內部均填充有干燥劑顆粒,所述封閉箱前端下部的左右兩側均固定設置有第一伺服電機。
優選的,所述干化處理組件包括兩個貫通盒,兩個所述貫通盒的前后端均通過支桿與封閉箱的內壁固定連接,兩個所述貫通盒的內壁一圈均開設有匯通腔,所述匯通腔的前端與對應T型管的頂部固定連通,所述貫通盒的內壁均勻固定設置有若干與匯通腔相連通的吹氣管,兩個所述貫通盒的頂部前后端均開設有滑槽,所述貫通盒的頂部左右兩側均固定設置有清潔套機構,每個所述滑槽的內部均滑動設置有滑塊,前部兩個滑塊的頂部之間以及后部兩個滑塊的頂部之間均固定設置有連桿,左部兩個所述連桿之間以及右部兩個連桿之間均固定設置有刀片。
優選的,前部所述連桿的前端之間以及后部兩個連桿的后端之間均固定設置有齒條,兩個所述貫通盒的前部之間以及后部之間均固定設置有承載板,每個所述承載板的頂部均固定設置有第二伺服電機,所述第二伺服電機的輸出端固定設置有第一齒輪,所述第一齒輪與相鄰齒條嚙合連接。
優選的,所述貫通盒的內腔下部前后壁之間固定設置有導向條機構,所述貫通盒的底部前后端均固定設置有連板,兩個所述連板之間固定貫穿有轉軸,所述轉軸固定連接在封閉箱的內腔前后壁之間,所述轉軸的外部轉動套設有弧形罩,所述弧形罩的內壁開設有通氣腔,所述通氣腔的前端與對應T型管的底部通過軟管固定連通,所述通氣腔靠近貫通盒的一側均勻開設有若干吹氣口。
優選的,所述弧形罩的底部前后端均固定設置有弧形齒條,所述封閉箱內腔左右兩側的前后壁之間均轉動設置有軸桿,所述軸桿的前端與對應第一伺服電機的輸出端固定連接,所述軸桿的外壁前后端均固定套設有第二齒輪,所述第二齒輪的頂部與對應弧形齒條的底部相嚙合,所述轉軸的底部均勻固定設置有若干攪拌桿。
優選的,每個所述清潔套機構均包括清潔刮套,所述清潔刮套的底部固定連接在貫通盒的頂部,所述清潔刮套的內腔遠離刀片的一側均勻固定設置有若干第一彈簧,若干所述第一彈簧靠近刀片的一側之間固定設置有推條。
優選的,所述導向條機構包括支撐條,所述支撐條固定連接在貫通盒內腔下部的前后壁之間,所述支撐條的內部從前到后均勻開設有若干緩沖腔,每個所述緩沖腔的內部均滑動貫穿有T型桿,所述T型桿的底部與緩沖腔的底部之間通過第二彈簧固定連接,所述T型桿的頂部固定設置有弧形導向罩。
一種帶有封閉循環處理模塊的污泥干化系統,包括污泥放置箱,所述污泥放置箱的底部固定連接在封閉箱的頂部,所述污泥放置箱的底部左右兩側從前到后均固定貫穿有若干擠出管,每個所述擠出管的底部均貫穿封閉箱的頂部,所述污泥放置箱和擠出管的內壁均固定貫穿有若干電熱絲。
優選的,所述污泥放置箱的頂部左右兩側之間固定設置有支架,所述支架的頂部左右兩側均固定設置有液壓桿,兩個所述液壓桿的底部之間固定設置有滑動貫穿污泥放置箱內部的推板。
本發明還提供了一種帶有封閉循環處理模塊的污泥干化系統的干化工藝,具體工藝包括以下步驟:
步驟一、電熱絲通電發熱,將污泥放置在污泥放置箱的內部,然后啟動液壓桿,帶動推板下移,使推板位于污泥放置箱的內部,電熱絲對污泥放置箱中的污泥進行加熱,使污泥實現初步的脫水干化;
步驟二、然后再次啟動液壓桿,將推板向下推動,慢慢向下擠壓污泥,最底部的污泥被擠入擠出管中,經過擠出管的過程中,污泥進一步脫水干化,然后在干化處理組件的作用下,從擠出管中被擠出的污泥先被切成泥球,泥球下落經過干化處理組件的內部;
步驟三、熱風機工作,通過T型管向干化處理組件中吹入熱氣,吹向經過干化處理組件中的泥球,使泥球實現徹底的脫水干化,潮濕的熱氣被熱風機通過抽氣管再次抽吸出來,先經過容納盒的內部,在干燥劑顆粒的作用下,潮濕的熱氣被干燥,干燥之后的熱氣繼續吹向封閉箱的內部實現循環。
有益效果
本發明提供了一種封閉循環處理模塊及帶此模塊的污泥干化系統及工藝。與現有技術相比具備以下有益效果:
1、一種封閉循環處理模塊及帶此模塊的污泥干化系統及工藝,通過擠出管、刀片、齒條以及第一齒輪之間的相互配合,能將擠出的污泥切成小塊的泥球,小塊的泥球能與熱空氣充分接觸,進而使污泥中的水分快速分離出來,實現徹底干化的目的。
2、一種封閉循環處理模塊及帶此模塊的污泥干化系統及工藝,通過貫通盒、吹氣管、弧形罩以及吹氣口之間的相互配合,能延長小塊泥球落進弧形罩中的時間,使泥球表面徹底干化,避免之后發生粘連。
3、一種封閉循環處理模塊及帶此模塊的污泥干化系統及工藝,通過清潔刮套、第一彈簧以及推條之間的相互配合,能及時將刀片表面粘附的污泥刮除,刮下的污泥最終被推條再次推出,保證清潔刮套和刀片之后的正常使用。
4、一種封閉循環處理模塊及帶此模塊的污泥干化系統及工藝,通過容納盒、T型管、抽氣管以及干燥劑顆粒之間的相互配合,使熱風能循環利用,降低熱量流失,提高能源的利用率。
(發明人:葉向東;方曉敏;張侃;柴慧建;盛程浩;李志洲;張志偉;王著匯)






