公布日:2023.09.15
申請日:2023.08.09
分類號:B01D21/32(2006.01)I;B01D21/24(2006.01)I
摘要
本申請涉及污泥排放技術領域,公開了一種適用于沉淀池污泥排放的控制裝置和控制方法,包括:第一金屬管設于沉淀池內,內設加熱電阻,兩端分別與沉淀池兩側壁滑動連接;第一電機驅動第一金屬管在水平方向移動;紅外熱成像攝像頭實時獲取第一金屬管表面的熱成像圖像;控制模塊分別第一電機、加熱電阻、紅外熱成像攝像頭和閥門連接。第一金屬管移動過程中,紅外熱成像攝像頭實時獲取第一金屬管的熱成像圖像,控制器根據熱成像圖像確定第一金屬管所在位置的污泥是否達到第一金屬管所在位置,根據熱成像圖像暗淡的區域控制第一金屬管所在位置對應的排泥口處的閥門開啟,實現沉淀池精準化排泥,提升沉淀池排泥效果差,并且自動化控制,降低人力成本。

權利要求書
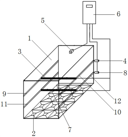
1.一種適用于沉淀池污泥排放的控制裝置,所述沉淀池(1)的底部設有沿所述沉淀池(1)底部的長度方向依次排列的多組排泥口組,每組所述排泥口組包括沿所述沉淀池(1)底部的寬度方向依次排列的多個排泥口(2),每個所述排泥口(2)處均設有閥門(201),其特征在于,包括:第一金屬管(3),設于所述沉淀池(1)內,所述第一金屬管(3)的兩端分別與所述沉淀池(1)的兩側壁滑動連接,所述第一金屬管(3)內設有加熱電阻;第一電機(4),與所述第一金屬管(3)連接,用于驅動所述第一金屬管(3)在水平方向移動;紅外熱成像攝像頭(5),所述紅外熱成像攝像頭(5)設于所述沉淀池(1)的沉淀區填料以下,用于實時獲取所述第一金屬管(3)表面的熱成像圖像;控制模塊(6),分別所述第一電機(4)、所述加熱電阻、所述紅外熱成像攝像頭(5)和所述閥門(201)連接。
2.根據權利要求1所述的適用于沉淀池污泥排放的控制裝置,其特征在于,還包括第一清洗環和第二電機,所述第一清洗環套接于所述第一金屬管(3)的外周面,所述第二電機分別與所述第一清洗環和所述控制模塊(6)連接,用于驅動所述第一清洗環在所述第一金屬管(3)的長度方向滑動,以清洗覆蓋在所述第一金屬管(3)外周面上污泥。
3.根據權利要求1所述的適用于沉淀池污泥排放的控制裝置,其特征在于,還包括第二金屬管(7)、第三電機(8)、套接于所述第二金屬管(7)外周面的第二清洗環和第四電機,所述第二金屬管(7)位于所述第一金屬管(3)下方,且所述第二金屬管(7)與所述第一金屬管(3)相平行,所述第二金屬管(7)的兩端分別與所述沉淀池(1)的兩側壁滑動連接,所述第二金屬管(7)內設有加熱電阻,所述第三電機(8)分別與所述第二金屬管(7)和所述控制模塊(6)連接,用于驅動所述第二金屬管(7)在水平方向移動,所述第四電機分別與所述第二清洗環和所述控制模塊(6)連接,用于驅動所述第二清洗環在所述第二金屬管(7)的長度方向滑動,以清洗覆蓋在所述第二金屬管(7)外周面上污泥。
4.根據權利要求1所述的適用于沉淀池污泥排放的控制裝置,其特征在于,所述沉淀池(1)的底部還連接有多個排泥管道,多個所述排泥管道沿所述第一金屬管(3)的移動方向依次排列,每個所述排泥管道上設有支列閥門(13)。
5.根據權利要求3所述的適用于沉淀池污泥排放的控制裝置,其特征在于,所述沉淀池(1)的兩側壁設有第一導軌槽(9)、第二導軌槽(10)、第三導軌槽(11)、第四導軌槽(12),所述第一導軌槽(9)滑動連接有第一固定夾片,所述第二導軌槽(10)滑動連接有第二固定夾片,所述第三導軌槽(11)滑動連接有第三固定夾片,所述第四導軌槽(12)滑動連接有第四固定夾片,所述第一金屬管(3)的兩端分別與所述第一固定夾片和所述第二固定夾片連接,所述第二金屬管(7)的兩端分別與所述第三固定夾片和所述第四固定夾片連接。
6.根據權利要求1所述的適用于沉淀池污泥排放的控制裝置,其特征在于,所述紅外熱成像攝像頭(5)為防水攝像頭,且所述防水攝像頭的鏡面設有自清洗毛刷。
7.根據權利要求3所述的適用于沉淀池污泥排放的控制裝置,其特征在于,所述第一金屬管(3)和所述第二金屬管(7)的內部均勻分布有多個所述加熱電阻。
8.一種適用于沉淀池污泥排放的控制方法,其特征在于,應用于權利要求1至7任一項所述的適用于沉淀池污泥排放的控制裝置,包括:控制第一電機(4)驅動沉淀池(1)內的第一金屬管(3)在水平方向移動;實時獲取紅外熱成像攝像頭(5)拍攝的所述第一金屬管(3)表面的第一熱成像圖像;判斷當前第一熱成像圖像中的各區域是否清晰;若所述當前第一熱成像圖像的各區域均暗淡時,控制所述第一電機(4)暫停,確定所述當前第一熱成像圖像對應的所述第一金屬管(3)所在的當前位置,以及所述當前位置對應的目標排泥口組,控制所述目標排泥口組中的所有排泥口(2)處的閥門(201)均開啟,以排放污泥;若所述當前第一熱成像圖像的部分區域暗淡時,控制所述第一電機(4)暫停,確定所述當前第一熱成像圖像中暗淡的目標區域,以及所述目標區域對應的所述第一金屬管(3)的目標位置,根據所述目標位置確定所述目標排泥口組中的目標排泥口,并控制所述目標排泥口處的目標閥門開啟,以排放污泥。
9.根據權利要求8所述的適用于沉淀池污泥排放的控制方法,其特征在于,在所述排放污泥后,還包括:控制第二電機驅動第一清洗環在所述第一金屬管(3)的長度方向滑動,以清洗覆蓋在所述第一金屬管(3)外周面上污泥,并實時獲取所述第一金屬管(3)表面的第二熱成像圖像,在所述第二熱成像圖像清晰完整之后,進入所述的控制第一電機(4)驅動沉淀池(1)內的第一金屬管(3)在水平方向移動的步驟。
10.根據權利要求9所述的適用于沉淀池污泥排放的控制方法,其特征在于,所述控制所述第一電機(4)暫停時,還包括:控制第三電機(8)驅動第二金屬管(7)移動至所述第一金屬管(3)所在的所述當前位置的正下方位置;控制第四電機驅動第二清洗環在所述第二金屬管(7)的長度方向滑動,以清洗覆蓋在所述第二金屬管(7)外周面上污泥,并實時獲取所述第二金屬管(7)表面的第三熱成像圖像,直至所述第三熱成像圖像清晰完整時,控制所述閥門(201)或所述目標閥門關閉。
發明內容
本申請的目的是提供一種適用于沉淀池污泥排放的控制裝置和控制方法,用于解決沉淀池排泥不夠精準,沉淀池排泥效果差以及人力成本高的問題。
為解決上述技術問題,本申請提供一種適用于沉淀池污泥排放的控制裝置,所述沉淀池的底部設有沿所述沉淀池底部的長度方向依次排列的多組排泥口組,每組所述排泥口組包括沿所述沉淀池底部的寬度方向依次排列的多個排泥口,每個所述排泥口處均設有閥門,包括:
第一金屬管,設于所述沉淀池內,所述第一金屬管的兩端分別與所述沉淀池的兩側壁滑動連接,所述第一金屬管內設有加熱電阻;
第一電機,與所述第一金屬管連接,用于驅動所述第一金屬管在水平方向移動;
紅外熱成像攝像頭,所述紅外熱成像攝像頭設于所述沉淀池的沉淀區填料以下,用于實時獲取所述第一金屬管表面的熱成像圖像;
控制模塊,分別所述第一電機、所述加熱電阻、所述紅外熱成像攝像頭和所述閥門連接。
可選的,還包括第一清洗環和第二電機,所述第一清洗環套接于所述第一金屬管的外周面,所述第二電機分別與所述第一清洗環和所述控制模塊連接,用于驅動所述第一清洗環在所述第一金屬管的長度方向滑動,以清洗覆蓋在所述第一金屬管外周面上污泥。
可選的,還包括第二金屬管、第三電機、套接于所述第二金屬管外周面的第二清洗環和第四電機,所述第二金屬管位于所述第一金屬管下方,且所述第二金屬管與所述第一金屬管相平行,所述第二金屬管的兩端分別與所述沉淀池的兩側壁滑動連接,所述第二金屬管內設有加熱電阻,所述第三電機分別與所述第二金屬管和所述控制模塊連接,用于驅動所述第二金屬管在水平方向移動,所述第四電機分別與所述第二清洗環和所述控制模塊連接,用于驅動所述第二清洗環在所述第二金屬管的長度方向滑動,以清洗覆蓋在所述第二金屬管外周面上污泥。
可選的,所述沉淀池的底部還連接有多個排泥管道,多個所述排泥管道沿所述第一金屬管的移動方向依次排列,每個所述排泥管道上設有支列閥門。
可選的,所述沉淀池的兩側壁設有第一導軌槽、第二導軌槽、第三導軌槽、第四導軌槽,所述第一導軌槽滑動連接有第一固定夾片,所述第二導軌槽滑動連接有第二固定夾片,所述第三導軌槽滑動連接有第三固定夾片,所述第四導軌槽滑動連接有第四固定夾片,所述第一金屬管的兩端分別與所述第一固定夾片和所述第二固定夾片連接,所述第二金屬管的兩端分別與所述第三固定夾片和所述第四固定夾片連接。
可選的,所述紅外熱成像攝像頭為防水攝像頭,且所述防水攝像頭的鏡面設有自清洗毛刷。
可選的,所述第一金屬管和所述第二金屬管的內部均勻分布有多個所述加熱電阻。
本申請還提供一種適用于沉淀池污泥排放的控制方法,應用于上述的適用于沉淀池污泥排放的控制裝置,包括:
控制第一電機驅動沉淀池內的第一金屬管在水平方向移動;
實時獲取紅外熱成像攝像頭拍攝的所述第一金屬管表面的第一熱成像圖像;
判斷當前第一熱成像圖像中的各區域是否清晰;
若所述當前第一熱成像圖像的各區域均暗淡時,控制所述第一電機暫停,確定所述當前第一熱成像圖像對應的所述第一金屬管所在的當前位置,以及所述當前位置對應的目標排泥口組,控制所述目標排泥口組中的所有排泥口處的閥門均開啟,以排放污泥;
若所述當前第一熱成像圖像的部分區域暗淡時,控制所述第一電機暫停,確定所述當前第一熱成像圖像中暗淡的目標區域,以及所述目標區域對應的所述第一金屬管的目標位置,根據所述目標位置確定所述目標排泥口組中的目標排泥口,并控制所述目標排泥口處的目標閥門開啟,以排放污泥。
可選的,在所述排放污泥后,還包括:
控制第二電機驅動第一清洗環在所述第一金屬管的長度方向滑動,以清洗覆蓋在所述第一金屬管外周面上污泥,并實時獲取所述第一金屬管表面的第二熱成像圖像,在所述第二熱成像圖像清晰完整之后,進入所述的控制第一電機驅動沉淀池內的第一金屬管在水平方向移動的步驟。
可選的,所述控制所述第一電機暫停時,還包括:
控制第三電機驅動第二金屬管移動至所述第一金屬管所在的所述當前位置的正下方位置;
控制第四電機驅動第二清洗環在所述第二金屬管的長度方向滑動,以清洗覆蓋在所述第二金屬管外周面上污泥,并實時獲取所述第二金屬管表面的第三熱成像圖像,直至所述第三熱成像圖像清晰完整時,控制所述閥門或所述目標閥門關閉。
本申請所提供的一種適用于沉淀池污泥排放的控制裝置,沉淀池的底部設有沿沉淀池底部的長度方向依次排列的多組排泥口組,每組排泥口組包括沿沉淀池底部的寬度方向依次排列的多個排泥口,每個排泥口處均設有閥門,包括:第一金屬管,設于沉淀池內,第一金屬管的兩端分別與沉淀池的兩側壁滑動連接,第一金屬管內設有加熱電阻;第一電機,與第一金屬管連接,用于驅動第一金屬管在水平方向移動;紅外熱成像攝像頭,紅外熱成像攝像頭設于沉淀池的沉淀區填料以下,用于實時獲取第一金屬管表面的熱成像圖像;控制模塊,分別第一電機、加熱電阻、紅外熱成像攝像頭和閥門連接。在第一金屬管移動過程中,紅外熱成像攝像頭實時獲取第一金屬管的熱成像圖像,控制器可以根據熱成像圖像確定第一金屬管所在位置的污泥是否達到第一金屬管位于沉淀池的高度,并且可以根據熱成像圖像暗淡的區域控制第一金屬管所在位置對應的排泥口處的閥門開啟,能夠實現沉淀池精準化排泥,提升沉淀池排泥效果差,有效控制沉淀池內不同區域的泥量高低,并且自動化控制,能夠降低人力成本。
本申請所提供的一種適用于沉淀池污泥排放的控制方法等有益效果與裝置對應,效果如上。
(發明人:尤良洲;衡世權;晉銀佳;邱敏;徐展;蘭永龍)






