公布日:2023.10.20
申請日:2023.08.16
分類號:C02F1/02(2023.01)I;C02F1/04(2023.01)I;B09B3/35(2022.01)I;B09B3/40(2022.01)I;B02C18/14(2006.01)I;B02C18/16(2006.01)I
摘要
本發明公開了一種高鹽高濃廢水蒸發‑熱解零排處理系統,具體是一種破碎熱裂解裝置包括前軸座、前機械密封、前封板、長破碎刀、短破碎刀、進料口、筒體、前支撐架、保溫層、排氣口、后封板、后機械密封、后軸座、氣體緩沖腔機殼、內隔板、出料口、主軸、后支撐架,所述主軸左端安裝在前軸座上,前軸座安裝在前支撐架上,前支撐架安裝在前封板上,主軸與前封板之間通過前機械密封安裝相連,前封板右側安裝筒體,筒體外包裹保溫層,筒體上安裝進料口真空與薄層蒸發,二次濃縮干燥相結合,極大提高蒸發效率,另一方真空密閉處理,可以有效防止揮發性有毒物質外泄,確保安全和環保;本發明可以對含焦油MVR蒸發母液直接進行無害化處理,焦油回收率能達到80%‑90%,真正實現廢水零排放。

權利要求書
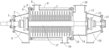
1.一種破碎熱裂解裝置,其特征在于:包括前軸座(1)、前機械密封(2)、前封板(3)、長破碎刀(4)、短破碎刀(5)、進料口(6)、筒體(7)、前支撐架(8)、保溫層(9)、排氣口(10)、后封板(11)、后機械密封(12)、后軸座(13)、氣體緩沖腔機殼(14)、內隔板(15)、出料口(16)、主軸(17)、后支撐架(18),所述主軸(17)左端安裝在前軸座(1)上,前軸座(1)安裝在前支撐架(8)上,前支撐架(8)安裝在前封板(3)上,主軸(17)與前封板(3)之間通過前機械密封(2)安裝相連,前封板(3)右側安裝筒體(7),筒體(7)外包裹保溫層(9),筒體(7)上安裝進料口(6),筒體(7)下安裝出料口(16),主軸(17)上安裝多個長破碎刀(4)和短破碎刀(5),長破碎到和短破碎刀(5)均位于筒體(7)內,筒體(7)右側安裝內隔板(15),內隔板(15)右側安裝氣體緩沖腔機殼(14),氣體緩沖腔上設有排氣口(10),氣體緩沖腔機殼(14)右側安裝后封板(11),主軸(17)通過后機械密封(12)與后封板(11)安裝相連,后封板(11)右側安裝后支撐架(18),主軸(17)右端通過軸承(24)座安裝在后支撐架(18)內,所述主軸(17)上對稱安裝第二鋼柱(19),第二鋼柱(19)另一端安裝底座(23),底座(23)內安裝軸承(24),軸承(24)的內圈內安裝容納槽(25),容納槽(25)內對稱安裝L型支架(20),L型支架(20)上安裝輥軸(21),輥軸(21)上安裝多個清理刷(22),清理刷(22)抵觸到筒體(7)內側壁上,主軸(17)上對稱安裝第一鋼柱(26),第一鋼柱(26)上安裝輪箱(29),輪箱(29)內設有繞鏈輪(28),繞鏈輪(28)安裝在輪軸(27)上,輪軸(27)左右兩端安裝在法蘭軸承(24)上,法蘭軸承(24)安裝在輪箱(29)內,繞鏈輪(28)上纏繞鏈條刀(30),鏈條刀(30)上開設有鏈條刀(30)出口,鏈條刀(30)從鏈條刀(30)出口伸出輪箱(29),輪箱(29)上安裝刀架,刀架位于鏈條刀(30)出口側面,刀架上交錯安裝多個刮刀(35),刮刀(35)能刮除鏈條刀(30)表面的污垢附著,刀架(34)上安裝多個塑料毛刷(36),塑料毛刷(36)與刮刀(35)間隔排列,繞鏈輪(28)側面安裝彈簧連接片(31),彈簧連接片(31)安裝在高彈彈簧(32)上與高彈彈簧(32)相連,高彈彈簧(32)另一端安裝在輪箱(29)內底部,輪箱(29)下安裝三角支撐架(33),三角支撐架(33)另一端安裝在第一鋼柱(26)側面,所述清理刷(22)采用硬質毛刷制成。
2.一種采用權利要求1所述的破碎熱裂解裝置的高鹽高濃廢水蒸發-熱解處理工藝,其特征在于,在步驟包括:a.進料:將MVR蒸發母液,通過預熱器預熱后,預熱器溫度控制在50~70℃;b.一級蒸發:采用蒸汽壓力0.3~0.6MPa,筒內壓力為-0.08~-0.096MPa,將一級預熱好的高鹽高濃高有機物通過真空負壓抽到系統中,通過主軸(17)帶動攪拌器及其上面圓盤,使圓盤表面形成薄層蒸發的換熱面;c.二級蒸發:將一級薄層蒸發器預處理后的高鹽廢水,達到飽和濃液后,再進行進一步干燥蒸發,控制蒸發溫度為90~100℃;d.一級蒸發和二級蒸發提供汽液分離器相連,實現有機物與鹽的分離,蒸發的有機物或者凝水通過換熱器進行換熱后形成凝液得到回收;e.采用權利要求1所述的一種破碎熱裂解裝置進行處理,通過二次蒸發后形成的固渣,通過進料系統輸送到破碎熱裂解裝置,并控制主爐溫度為400℃-500℃,反應時間為10-20min,其中系統中產生的尾氣通過除塵器、二級深度冷凝、吸附器處理;該尾氣包含熱解后煙氣含有裂解后的小分子有機物、不凝氣及水分、未完全反應的有機氣體分子。
發明內容
本發明的目的在于提供一種高鹽高濃廢水蒸發-熱解零排處理系統,以解決上述背景技術中提出的問題,通過蒸發-熱解零排處理達到資源化﹑無害化的目的。
本發明提供如下技術方案:一種破碎熱裂解裝置,包括前軸座、前機械密封、前封板、長破碎刀、短破碎刀、進料口、筒體、前支撐架、保溫層、排氣口、后封板、后機械密封、后軸座、氣體緩沖腔機殼、內隔板、出料口、主軸、后支撐架,所述主軸左端安裝在前軸座上,前軸座安裝在前支撐架上,前支撐架安裝在前封板上,主軸與前封板之間通過前機械密封安裝相連,前封板右側安裝筒體,筒體外包裹保溫層,筒體上安裝進料口,筒體下安裝出料口,主軸上安裝多個長破碎刀和短破碎刀,長破碎到和短破碎刀均位于筒體內,筒體右側安裝內隔板,內隔板右側安裝氣體緩沖腔機殼,氣體緩沖腔上設有排氣口,氣體緩沖腔機殼右側安裝后封板,主軸通過后機械密封與后封板安裝相連,后封板右側安裝后支撐架,主軸右端通過軸承座安裝在后支撐架內。
優選的,所述主軸左端通過前軸座安裝在前支撐架內。
優選的,所述主軸上對稱安裝四排長破碎刀和四排短破碎刀。
優選的,所述主軸上對稱安裝第二鋼柱,第二鋼柱另一端安裝底座,底座內安裝軸承,軸承的內圈內安裝容納槽,容納槽內對稱安裝L型支架,L型支架上安裝輥軸,輥軸上安裝多個清理刷,清理刷抵觸到筒體內側壁上,主軸上對稱安裝第一鋼柱,第一鋼柱上安裝輪箱,輪箱內設有繞鏈輪,繞鏈輪安裝在輪軸上,輪軸左右兩端安裝在法蘭軸承上,法蘭軸承安裝在輪箱內,繞鏈輪上纏繞鏈條刀,鏈條刀上開設有鏈條刀出口,鏈條刀從鏈條刀出口伸出輪箱,輪箱上安裝刀架,刀架位于鏈條刀出口側面,刀架上交錯安裝多個刮刀,刮刀能刮除鏈條刀表面的污垢附著,刀架上安裝多個塑料毛刷,塑料毛刷與刮刀間隔排列,繞鏈輪側面安裝彈簧連接片,彈簧連接片安裝在高彈彈簧上與高彈彈簧相連,高彈彈簧另一端安裝在輪箱內底部,輪箱下安裝三角支撐架,三角支撐架另一端安裝在第一鋼柱側面。
優選的,所述鏈條刀與主軸保持平行,鏈條刀可以采用割草機鏈條刀。
優選的,所述清理刷采用硬質毛刷制成。
優選的,所述清理刷采用鋼絲球制成,鋼絲球纏繞在輥軸上。
采用破碎熱裂解裝置的高鹽﹑高濃高有機物蒸發-熱解處理工藝,步驟包括:
1)進料:將MVR蒸發母液,通過預熱器預熱后,預熱器溫度控制在50~70℃;
2)一級蒸發:采用蒸汽壓力0.3~0.6MPa,筒內壓力為-0.08~-0.096MPa,將一級預熱好的高鹽高濃高有機物通過真空負壓抽到系統中,通過主軸帶動攪拌器及其上面圓盤,使圓盤表面形成薄層蒸發的換熱面;
3)二級蒸發:將一級薄層蒸發器預處理后的高鹽廢水,達到飽和濃液后,再進行進一步干燥蒸發,控制蒸發溫度為90~100℃;
4)一級蒸發和二級蒸發提供汽液分離器相連,實現有機物與鹽的分離,蒸發的有機物或者凝水通過換熱器進行換熱后形成凝液得到回收;
5)采用一種破碎熱裂解裝置進行處理,通過二次蒸發后形成的固渣,通過進料系統輸送到破碎熱裂解裝置,并控制主爐溫度為400℃-500℃,反應時間為10-20min,其中系統中產生的尾氣通過除塵器、二級深度冷凝、吸附器處理;該尾氣包含熱解后煙氣含有裂解后的小分子有機物、不凝氣及水分、未完全反應的有機氣體分子。
與現有技術相比,本發明的有益效果是:
1、本發明一種破碎熱裂解裝置,增加了鏈條刀,鏈條刀隨著主軸旋轉中,與長破碎刀和短破碎刀一起切割破碎固渣,鏈條刀在遇到較大固渣時,會被拉伸,使鏈輪發生小角度旋轉,使高彈彈簧隨著彈簧連接片發生彎曲或者拉伸形變,避免鏈條刀崩斷,同時高彈彈簧在自身恢復力的作用下,恢復到初始形態,使鏈輪發生小角度反向旋轉,提高了鏈條刀的破碎能力,鏈條刀隨著高彈彈簧的恢復力回到輪箱中,同時與刮刀發生刮擦,且塑料毛刷對其進行清理,能去掉鏈條刀表面的污垢附著;主軸轉動帶動第二鋼柱旋轉,使底座旋轉,使L型支架和清理刷隨著主軸旋轉,同時L型支架下端安裝在軸承內,使其能在軸承內旋轉,使清理刷自轉,使清理刷同時具備兩種旋轉模式,清理刷與筒體內壁相貼并隨著旋轉對筒體內壁進行清理,兩種旋轉模式使清理效果更好。
2、真空與薄層蒸發,二次濃縮干燥相結合,極大提高蒸發效率,另一方真空密閉處理,可以有效防止揮發性有毒物質外泄,確保安全和環保;本發明可以對含焦油MVR蒸發母液直接進行無害化處理,焦油回收率能達到80%-90%,真正實現廢水零排放。
(發明人:查曉峰;王廷暉)






