公布日:2024.04.02
申請日:2022.09.26
分類號:B01D29/96(2006.01)I;B01D29/90(2006.01)I;B01D29/01(2006.01)I
摘要
本發明公開了一種連續式一體化污水處理裝置,包括:污水處理箱以及安裝于污水處理箱頂部的污水進水機構,污水處理箱的內部安裝有對稱設置的兩個污水過濾機構,污水處理箱的內部且對應兩個污水過濾機構的位置安裝有與污水過濾機構相匹配的兩個驅動機構,污水處理箱的兩側且對應兩個污水過濾機構的位置均安裝有卡接機構,其中,污水進水機構用于對污水的通入;其中,污水過濾機構用于對污水的過濾。本發明當污水處理裝置在長時間使用后濾網上吸附較多的雜質時,可以關閉單側的截止閥,從而保證另一側可以繼續進行過濾,因此不需要停機即可實現對濾網的更換,從而保證了對污水的連續處理,也因此提高了污水的處理效率。

權利要求書
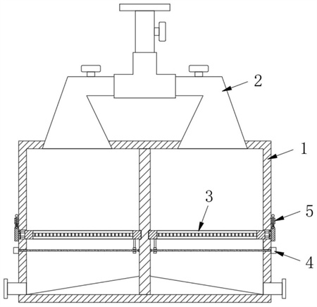
1.一種連續式一體化污水處理裝置,其特征在于,包括:污水處理箱(1)以及安裝于所述污水處理箱(1)頂部的污水進水機構(2),所述污水處理箱(1)的內部安裝有對稱設置的兩個污水過濾機構(3),所述污水處理箱(1)的內部且對應兩個所述污水過濾機構(3)的位置安裝有與所述污水過濾機構(3)相匹配的兩個驅動機構(4),所述污水處理箱(1)的兩側且對應兩個所述污水過濾機構(3)的位置均安裝有卡接機構(5);其中,所述污水進水機構(2)用于對污水的通入;其中,所述污水過濾機構(3)用于對污水的過濾;其中,所述驅動機構(4)用于對污水過濾機構(3)的清理;其中,所述卡接機構(5)用于對污水過濾機構(3)進行限位固定。
2.根據權利要求1所述的一種連續式一體化污水處理裝置,其特征在于:所述污水處理箱(1)頂部的兩側均開設有進水口(101),所述污水處理箱(1)兩側的底部均固定連接有出水管(102),所述污水處理箱(1)的內壁上固定連接有密封隔板(103),且所述密封隔板(103)將所述污水處理箱(1)分割為兩個腔室,所述污水處理箱(1)的兩側均開設有通槽(104)。
3.根據權利要求2所述的一種連續式一體化污水處理裝置,其特征在于:所述污水進水機構(2)包括兩個進水斗(201),兩個所述進水斗(201)對稱安裝在所述污水處理箱(1)的頂部且對應兩個所述進水口(101)的位置,兩個所述進水斗(201)的頂部均固定連接有進水支管(202),兩個所述進水支管(202)之間通過三通閥(203)相互連通,所述三通閥(203)的頂部安裝有進水主管(204),兩個所述進水支管(202)以及進水主管(204)上均安裝有截止閥。
4.根據權利要求3所述的一種連續式一體化污水處理裝置,其特征在于:所述污水過濾機構(3)包括與所述通槽(104)相匹配的密封擋板(301),所述密封擋板(301)的側面固定連接有對稱設置的兩個連接柱(302),兩個所述連接柱(302)遠離所述密封擋板(301)的一端通過濾框(303)固定連接,所述濾框(303)通過所述密封擋板(301)密封安裝于所述污水處理箱(1)的側面且對應所述通槽(104)的位置,所述濾框(303)的內壁上固定連接有過濾網(304)。
5.根據權利要求4所述的一種連續式一體化污水處理裝置,其特征在于:所述驅動機構(4)包括固定連接在所述污水處理箱(1)側面的正反轉電機(401),所述正反轉電機(401)的輸出軸上固定連接有螺紋軸(402),所述螺紋軸(402)上螺紋連接有螺紋套(403),所述螺紋套(403)的頂部固定連接有連接桿(404),且所述連接桿(404)的頂部與所述濾框(303)的底部固定連接。
6.根據權利要求5所述的一種連續式一體化污水處理裝置,其特征在于:所述卡接機構(5)包括固定連接在所述污水處理箱(1)側面的兩個安裝滑套(501),兩個所述安裝滑套(501)上均滑動連接有滑動卡桿(502),兩個所述滑動卡桿(502)的底部均固定連接有連接塊(503),兩個所述連接塊(503)的底部均固定連接有卡塊(504),所述密封擋板(301)的頂部且對應兩個所述卡塊(504)的位置均開設有與所述卡塊(504)相匹配的固定槽(506)。
7.根據權利要求6所述的一種連續式一體化污水處理裝置,其特征在于:所述密封隔板(103)的兩側且對應所述濾框(303)的位置均開設有與所述濾框(303)相匹配的限位卡槽(3031)。
8.根據權利要求7所述的一種連續式一體化污水處理裝置,其特征在于:所述密封擋板(301)靠近所述連接柱(302)的一側固定連接有與所述通槽(104)相匹配的密封圈(3011)。
9.根據權利要求8所述的一種連續式一體化污水處理裝置,其特征在于:所述驅動機構(4)還包括兩個限位滑桿(4031),兩個所述限位滑桿(4031)的一端均固定連接在所述污水處理箱(1)的內壁上,兩個所述限位滑桿(4031)的另一端均與所述密封隔板(103)的側面固定連接,兩個所述限位滑桿(4031)上均滑動連接有限位滑套(4032),且所述限位滑套(4032)靠近所述螺紋套(403)的一側與所述螺紋套(403)的側面固定連接。
10.根據權利要求9所述的一種連續式一體化污水處理裝置,其特征在于:所述卡接機構(5)還包括操作連桿(5021),且所述操作連桿(5021)固定連接在兩個所述滑動卡桿(502)的頂部。
發明內容
本發明的目的是:提供一種連續式一體化污水處理裝置,當污水處理裝置在長時間使用后濾網上吸附較多的雜質時,可以關閉單側的截止閥,從而保證另一側可以繼續進行過濾,因此不需要停機即可實現對濾網的更換,從而保證了對污水的連續處理,也因此提高了污水的處理效率。
為了達到上述目的,本發明采用如下技術方案:
一種連續式一體化污水處理裝置,包括:
污水處理箱以及安裝于所述污水處理箱頂部的污水進水機構,所述污水處理箱的內部安裝有對稱設置的兩個污水過濾機構,所述污水處理箱的內部且對應兩個所述污水過濾機構的位置安裝有與所述污水過濾機構相匹配的兩個驅動機構,所述污水處理箱的兩側且對應兩個所述污水過濾機構的位置均安裝有卡接機構;
其中,所述污水進水機構用于對污水的通入;
其中,所述污水過濾機構用于對污水的過濾;
其中,所述驅動機構用于對污水過濾機構的清理;
其中,所述卡接機構用于對污水過濾機構進行限位固定。
優選地,所述污水處理箱頂部的兩側均開設有進水口,所述污水處理箱兩側的底部均固定連接有出水管,所述污水處理箱的內壁上固定連接有密封隔板,且所述密封隔板將所述污水處理箱分割為兩個腔室,所述污水處理箱的兩側均開設有通槽。
優選地,所述污水進水機構包括兩個進水斗,兩個所述進水斗對稱安裝在所述污水處理箱的頂部且對應兩個所述進水口的位置,兩個所述進水斗的頂部均固定連接有進水支管,兩個所述進水支管之間通過三通閥相互連通,所述三通閥的頂部安裝有進水主管,兩個所述進水支管以及進水主管上均安裝有截止閥。
優選地,所述污水過濾機構包括與所述通槽相匹配的密封擋板,所述密封擋板的側面固定連接有對稱設置的兩個連接柱,兩個所述連接柱遠離所述密封擋板的一端通過濾框固定連接,所述濾框通過所述密封擋板密封安裝于所述污水處理箱的側面且對應所述通槽的位置,所述濾框的內壁上固定連接有過濾網。
優選地,所述驅動機構包括固定連接在所述污水處理箱側面的正反轉電機,所述正反轉電機的輸出軸上固定連接有螺紋軸,所述螺紋軸上螺紋連接有螺紋套,所述螺紋套的頂部固定連接有連接桿,且所述連接桿的頂部與所述濾框的底部固定連接。
優選地,所述卡接機構包括固定連接在所述污水處理箱側面的兩個安裝滑套,兩個所述安裝滑套上均滑動連接有滑動卡桿,兩個所述滑動卡桿的底部均固定連接有連接塊,兩個所述連接塊的底部均固定連接有卡塊,所述密封擋板的頂部且對應兩個所述卡塊的位置均開設有與所述卡塊相匹配的固定槽。
優選地,所述密封隔板的兩側且對應所述濾框的位置均開設有與所述濾框相匹配的限位卡槽。
優選地,所述密封擋板靠近所述連接柱的一側固定連接有與所述通槽相匹配的密封圈。
優選地,所述驅動機構還包括兩個限位滑桿,兩個所述限位滑桿的一端均固定連接在所述污水處理箱的內壁上,兩個所述限位滑桿的另一端均與所述密封隔板的側面固定連接,兩個所述限位滑桿上均滑動連接有限位滑套,且所述限位滑套靠近所述螺紋套的一側與所述螺紋套的側面固定連接。
優選地,所述卡接機構還包括操作連桿,且所述操作連桿固定連接在兩個所述滑動卡桿的頂部。
與現有技術相比,本發明的優點和積極效果在于:
1、本發明,設置的污水進水機構由進水斗、進水支管、三通閥以及進水主管構成,在使用時,處理量較大時,可以采用兩個進水斗進行供水,從而提高過濾效率,當處理量較小時,可以采用單側進水,從而在保證了過濾的同時,降低了能耗,并且在對濾網進行更換時,采用單側進水,并對另一側的過濾網進行拆卸更換或清理即可;
2、本發明,設置的驅動機構由正反轉電機、螺紋軸、螺紋套以及連接桿構成,通過正反轉電機帶動螺紋軸轉動,并在螺紋套的螺紋作用下,能夠帶動螺紋套上的連接桿往復移動,因此方便將濾框抽出污水處理箱,從而方便對濾框上的過濾網進行清理或更換;
3、本發明,設置的卡接機構由安裝滑套、滑動卡桿、連接塊、卡塊、套簧以及固定槽構成,在密封擋板安裝于污水處理箱側面時,能夠實現對密封擋板的穩定固定,從而增加了密封擋板安裝于污水處理箱側面的穩定性,也因此保證了過濾網對污水過濾時的穩定性。
(發明人:李云峰;虞素飛;張建鵬;汪洋;譚亮)






