公布日:2023.09.08
申請日:2023.06.30
分類號:B01D25/12(2006.01)I;B01D25/38(2006.01)I
摘要
本發明涉及一種隔膜壓濾機中心孔積泥清除裝置包括推送液壓桿、驅動部、適應清潔頭、導向頭、連接管和濾板,驅動部固接在推送液壓桿的移動端上,適應清潔頭固接在驅動部上,適應清潔頭上設置有導向頭,適應清潔頭滑動連接在連接管中,連接管固接在濾板上,連接管上設置有截止閥,適應清潔頭能改變外徑大小,適應清潔頭能圍繞自身中心軸自轉。本發明的有益效果是:1、能夠在清除含水量多的污泥同時進行旋轉推送,高效清潔濾板中心孔含水量污泥。2、能夠針對不同孔徑的中心孔進行清潔。3、在針對不同孔徑的中心孔調整清潔部分的同時能夠調整后部推出部分,有效的防止清潔下的含水率高的污泥。

權利要求書
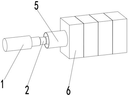
1.一種隔膜壓濾機中心孔積泥清除裝置,其特征在于:包括推送液壓桿(1)、驅動部(2)、適應清潔頭(3)、導向頭(4)、連接管(5)和濾板(6),驅動部(2)固接在推送液壓桿(1)的移動端上,適應清潔頭(3)固接在驅動部(2)上,適應清潔頭(3)上設置有導向頭(4),適應清潔頭(3)滑動連接在連接管(5)中,連接管(5)固接在濾板(6)上,連接管(5)上設置有截止閥,適應清潔頭(3)能改變外徑大小,適應清潔頭(3)能圍繞自身中心軸自轉。
2.根據權利要求1所述的一種隔膜壓濾機中心孔積泥清除裝置,其特征在于:所述的驅動部(2)包括伸縮封閉外殼(21)、驅動清潔電機(22)、清洗頭調整電機(23)、驅動齒輪(24)和從動齒輪(25),驅動清潔電機(22)和清洗頭調整電機(23)均固接在伸縮封閉外殼(21)中,驅動齒輪(24)固接在驅動清潔電機(22)輸出軸上,驅動齒輪(24)和從動齒輪(25)嚙合傳動。
3.根據權利要求2所述的一種隔膜壓濾機中心孔積泥清除裝置,其特征在于:所述的適應清潔頭(3)包括調整絲桿(31)、驅動軸(32)、驅動軸齒輪(321)、反旋軸(33)、反旋傳動齒輪(331)、傳動齒輪(34)、封閉脹圈(35)和密封推送上卡板(36),密封推送上卡板(36)與調整絲桿(31)通過螺紋傳動,密封推送上卡板(36)轉動連接在伸縮封閉外殼(21)上,從動齒輪(25)固接在驅動軸(32)上,反旋傳動齒輪(331)固接在反旋軸(33)上,驅動軸齒輪(321)固接在驅動軸(32)上,驅動軸齒輪(321)和反旋傳動齒輪(331)通過多個傳動齒輪(34)嚙合傳動,驅動軸(32)轉動連接在反旋軸(33)中。
4.根據權利要求3所述的一種隔膜壓濾機中心孔積泥清除裝置,其特征在于:所述的適應清潔頭(3)還包括彈性錐形脹圈(35)、底層推沙環(351)、伸縮軸向限定環(352)和推送下卡板(353),彈性錐形脹圈(35)設置在推送下卡板(353)和密封推送上卡板(36)之間,伸縮軸向限定環(352)固接在密封推送上卡板(36)的底部,多個傳動齒輪(34)均轉動連接在伸縮軸向限定環(352)上,底層推沙環(351)固接在反旋軸(33)上。
5.根據權利要求4所述的一種隔膜壓濾機中心孔積泥清除裝置,其特征在于:所述的密封推送上卡板(36)底部設置有卡槽(361)。
6.根據權利要求5所述的一種隔膜壓濾機中心孔積泥清除裝置,其特征在于:所述的彈性錐形脹圈(35)上下兩側錐角分別為30°和60°。
7.根據權利要求6所述的一種隔膜壓濾機中心孔積泥清除裝置,其特征在于:所述的適應清潔頭(3)還包括調整電機(301)、調整端板(37)、固定端板(371)、連接桿(38)、滑塊(39)、橫連桿(310)、延伸推桿(311)和清洗旋轉外殼(313),調整電機(301)輸出軸固接在調整端板(37)上,調整端板(37)固接在清洗旋轉外殼(313)中,清洗旋轉外殼(313)固接在底層推沙環(351)上,多個連接桿(38)均固接在調整端板(37)上,多個橫連桿(310)分別轉動連接在多個連接桿(38)上,多個橫連桿(310)分別轉動連接在多個滑塊(39)上,多個滑塊(39)上均固接有延伸推桿(311),固定端板(371)固接在清洗旋轉外殼(313)上,多個滑塊(39)均滑動連接在固定端板(371)上,多個延伸推桿(311)均滑動連接在清洗旋轉外殼(313)上,調整電機(301)固接在清洗旋轉外殼(313)上。
8.根據權利要求7所述的一種隔膜壓濾機中心孔積泥清除裝置,其特征在于:所述的適應清潔頭(3)還包括延伸清洗板(312)和清潔刮板(321),延伸清洗板(312)上固接有多個清潔刮板(321),多個延伸清洗板(312)分別固接在多個延伸推桿(311)上,多個延伸清洗板(312)均滑動連接在清洗旋轉外殼(313)上。
9.根據權利要求8所述的一種隔膜壓濾機中心孔積泥清除裝置,其特征在于:多個所述的清潔刮板(321)呈“V”字形。
發明內容
針對現有技術中的問題,本發明提供了一種隔膜壓濾機中心孔積泥清除裝置。
本發明解決其技術問題所采用的技術方案是:
一種隔膜壓濾機中心孔積泥清除裝置包括推送液壓桿、驅動部、適應清潔頭、導向頭、連接管和濾板,驅動部固接在推送液壓桿的移動端上,適應清潔頭固接在驅動部上,適應清潔頭上設置有導向頭,適應清潔頭滑動連接在連接管中,連接管固接在濾板上,連接管上設置有截止閥,適應清潔頭能改變外徑大小,適應清潔頭能圍繞自身中心軸自轉。
所述的驅動部包括伸縮封閉外殼、驅動清潔電機、清洗頭調整電機、驅動齒輪和從動齒輪,驅動清潔電機和清洗頭調整電機均固接在伸縮封閉外殼中,驅動齒輪固接在驅動清潔電機輸出軸上,驅動齒輪和從動齒輪嚙合傳動。
所述的適應清潔頭包括調整絲桿、驅動軸、驅動軸齒輪、反旋軸、反旋傳動齒輪、傳動齒輪、封閉脹圈和密封推送上卡板,密封推送上卡板與調整絲桿通過螺紋傳動,密封推送上卡板轉動連接在伸縮封閉外殼上,從動齒輪固接在驅動軸上,反旋傳動齒輪固接在反旋軸上,驅動軸齒輪固接在驅動軸上,驅動軸齒輪和反旋傳動齒輪通過多個傳動齒輪嚙合傳動,驅動軸轉動連接在反旋軸中。
所述的適應清潔頭還包括彈性錐形脹圈、底層推沙環、伸縮軸向限定環和推送下卡板,彈性錐形脹圈設置在推送下卡板和密封推送上卡板之間,伸縮軸向限定環固接在密封推送上卡板的底部,多個傳動齒輪均轉動連接在伸縮軸向限定環上,底層推沙環固接在反旋軸上。
所述的密封推送上卡板底部設置有卡槽。
所述的彈性錐形脹圈上下兩側錐角分別為30°和60°。
所述的所述的適應清潔頭還包括調整電機、調整端板、固定端板、連接桿、滑塊、橫連桿、延伸推桿和清洗旋轉外殼,調整電機輸出軸固接在調整端板上,調整端板固接在清洗旋轉外殼中,清洗旋轉外殼固接在底層推沙環上,多個連接桿均固接在調整端板上,多個橫連桿分別轉動連接在多個連接桿上,多個橫連桿分別轉動連接在多個滑塊上,多個滑塊上均固接有延伸推桿,多個滑塊均滑動連接在固定端板上,固定端板固接在清洗旋轉外殼上,多個延伸推桿均滑動連接在清洗旋轉外殼上,調整電機固接在清洗旋轉外殼上。
所述的適應清潔頭還包括延伸清洗板和清潔刮板,延伸清洗板上固接有多個清潔刮板,多個延伸清洗板分別固接在多個延伸推桿上,多個延伸清洗板均滑動連接在清洗旋轉外殼上。
多個所述的清潔刮板呈“V”字形。
本發明的有益效果是:
(1)能夠在清除含水量多的污泥同時進行旋轉推送,高效清潔濾板中心孔含水量污泥。
(2)能夠針對不同孔徑的中心孔進行清潔。
(3)在針對不同孔徑的中心孔調整清潔部分的同時能夠調整后部推出部分,有效的防止清潔下的含水率高的污泥。
(發明人:周茂林;陳柏校;俞洪春;宋立斌;沈飛凱)






