公布日:2023.09.05
申請日:2023.05.06
分類號:E02F5/28(2006.01)I;E02F3/88(2006.01)I;E02F3/90(2006.01)I;E02F3/92(2006.01)I;E02F7/10(2006.01)I;E02F7/06(2006.01)I;E02F7/00(2006.01)I;E02F7/02
(2006.01)I;E02F7/04(2006.01)I
摘要
本發明涉及水底抽污設備技術領域,公開了一種拖拽式水底表層半沉降淤泥清除裝置,包括抽污機構,所述抽污機構通過船舶上的拖拽機構與船舶軟連接、并由船拖拽向前移動使得抽污口處在淤泥的表層,拖拽機構包括底板、前傾板及抽污倉,所述抽污倉的抽污口處設有刮泥粉碎裝置,刮泥粉碎裝置包括兩個旋轉軸,兩個旋轉軸上分別固定套裝有若干滾刀片,兩個旋轉軸互為反向轉動,將表層污泥刮送至抽污倉的抽污口,并將污泥中固體物碾壓粉碎。抽真空倉頂部設有抽污泵,由抽污泵啟動時的抽負壓作用,將淤泥表層半沉降泥漿抽送到船艙里,專門針對對水質危害最大的淤泥表層稀泥漿的清除,以達到改善水質的目的。

權利要求書
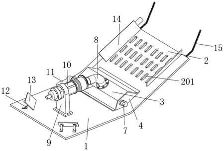
1.一種拖拽式水底表層半沉降淤泥清除裝置,包括底板(1)和前傾板(2)組成的抽污機構,抽污機構通過拖拽機構與船舶連接,底板(1)和前傾板(2)連接處的頂部設有抽污倉,抽污倉的底部設有進污槽,底板(1)的頂部設有抽污泵(10),抽污泵(10)將抽污倉內的污染物抽送至船舶上,其特征在于,所述抽污倉內設有刮泥粉碎裝置,所述刮泥粉碎裝置將污泥和水的混合物刮送至抽污泵(10)的抽污口,并對固體污染物進行粉碎。
2.根據權利要求1所述的拖拽式水底表層半沉降淤泥清除裝置,其特征在于,刮泥粉碎裝置包括設置抽污倉內的兩個旋轉軸(5),兩個所述旋轉軸(5)上分別固定套裝有若干滾刀片(6),且若干滾刀片(6)在旋轉軸(5)的圓柱面上曲線驅動陣列分布,兩個旋轉軸(5)上的滾刀片(6)依次交錯排列設置,所述旋轉軸(5)由設在抽污倉外側的驅動機組(7)驅動旋轉。
3.根據權利要求2所述的拖拽式水底表層半沉降淤泥清除裝置,其特征在于,所述抽污倉內設有分別位于兩個滾刀片(6)上方的軸瓦套(18),兩個軸瓦套(18)之間預留有間隙。
4.根據權利要求2所述的拖拽式水底表層半沉降淤泥清除裝置,其特征在于,所述前傾板(2)的底部設有第一液壓桿(16),所述第一液壓桿(16)的活塞軸固定連接有朝向滾刀片(6)的切刀(17),且切刀(17)的刀口貼向前傾板(2)的底部,且切刀(17)的刀口與滾刀片(6)錯位。
5.根據權利要求1所述的拖拽式水底表層半沉降淤泥清除裝置,其特征在于,所述抽污倉包括框板(3)和兩個隔板(4),所述框板(3)固定安裝在底板(1)和前傾板(2)連接處的頂部,兩個隔板(4)固定安裝在所述框板(3)的兩端。
6.根據權利要求5所述的拖拽式水底表層半沉降淤泥清除裝置,其特征在于,所述底板(1)的頂部固定安裝有支撐板(9),抽污泵(10)固定安裝在支撐板(9)上,所述框板(3)頂端的中部固定連接有導管(8),所述導管(8)的一端與抽污倉的內腔接通,且導管(8)的另一端與抽污泵(10)的抽污口接通,所述抽污泵(10)的排水口接通有排污管(11)。
7.根據權利要求6所述的拖拽式水底表層半沉降淤泥清除裝置,其特征在于,所述底板(1)的頂部固定安裝有遠離前傾板(2)一側的兩組支架(12),且兩組支架(12)分設在支撐板(9)的兩側,每組支架(12)上均固定連接有導流壓板(13),兩個所述導流壓板(13)的一面均朝向抽污泵(10),且兩個導流壓板(13)傾斜設置,所述前傾板(2)上開設有若干位于抽污倉上方的通水孔(201)。
8.根據權利要求1所述的拖拽式水底表層半沉降淤泥清除裝置,其特征在于,所述刮泥粉碎裝置包括兩個轉輥(19),兩個所述轉輥(19)同步且互為反向旋轉,兩個所述轉輥(19)的圓柱面上均設有齒槽,且兩個轉輥(19)的齒端靠近而不接觸,所述轉輥(19)的外側開設有四個滑槽(191),四個滑槽(191)圓周陣列分布在轉輥(19)的圓柱面上,其中兩個相鄰的滑槽(191)內分別活動套裝有第一壓板(20),另外兩個相鄰的滑槽(191)內分別活動套裝有第二壓板(21),所述第一壓板(20)與第二壓板(21)之間固定連接有聯動軸(22),且兩個聯動軸(22)相互錯位,所述第二壓板(21)和聯動軸(22)的形狀大小均相同,且第二壓板(21)的外側為弧面設計,當第一壓板(20)完全進入滑槽(191)內時,所述第二壓板(21)的外弧面恰好延伸出轉輥(19)齒端的外側。
9.根據權利要求8所述的拖拽式水底表層半沉降淤泥清除裝置,其特征在于,所述抽污倉內設有兩個定位軸(23),且兩個定位軸(23)分設在兩個轉輥(19)的一側,兩個定位軸(23)的兩端與抽污倉兩側的隔板(4)連接,兩個所述定位軸(23)上分別活動套裝有壓濾件(24),且壓濾件(24)朝向轉輥(19)的一側為弧面設置,所述壓濾件(24)的內弧壁與轉輥(19)齒端的間距值和第二壓板(21)外弧側的半徑值相同,兩個所述壓濾件(24)的一端活動套裝有靠近進污槽處的限位軸(26),隔板(4)的內壁上設有與限位軸(26)一端活動套接的弧形槽(401),所述弧形槽(401)對限位軸(26)的移動進行限位,使壓濾件(24)能夠穩定的以定位軸(23)為軸心旋轉,所述隔板(4)的內壁上固定安裝于彈性伸縮桿(25),所述彈性伸縮桿(25)的一端與壓濾件(24)的一側轉動連接,壓濾件(24)上開設有靠近進污槽處的通槽(241)。
10.根據權利要求1所述的拖拽式水底表層半沉降淤泥清除裝置,其特征在于,所述拖拽機構包括固定架(30),所述固定架(30)固定安裝在船舶上,所述固定架(30)的一端轉動連接有第一連板(29),所述第一連板(29)遠離固定架(30)的一端轉動連接有擺動連桿(27),所述固定架(30)的底部轉動連接有第二液壓桿(28),所述第二液壓桿(28)的輸出軸轉動連接有三角連板(31),且三角連板(31)的一角與第一連板(29)遠離擺動連桿(27)的一端轉動連接,所述三角連板(31)的另一角轉動連接有第二連板(32),所述第二連板(32)遠離三角連板(31)的一端與擺動連桿(27)靠近第一連板(29)的一端轉動連接,所述擺動連桿(27)遠離第一連板(29)的一端設置與擺動連桿(27)和固定架(30)之間相同的轉動結構設置,且拖拽裝置遠離固定架(30)一端的擺動連桿(27)與前傾板(2)固定連接。
發明內容
本申請提出了一種拖拽式水底表層半沉降淤泥清除裝置,具備抽污效率高和抽污、排污管路不易堵塞的優點,用以解決現有技術存在的上述所述問題。
為達到上述目的,本申請采用如下技術方案:一種拖拽式水底表層半沉降淤泥清除裝置,包括底板和前傾板組成的抽污機構,抽污機構通過拖拽機構與船舶連接,底板和前傾板連接處的頂部設有抽污倉,抽污倉的底部設有進污槽,底板的頂部設有抽污泵,抽污泵將抽污倉內的污染物抽送至船舶上,所述抽污倉內設有刮泥粉碎裝置,所述刮泥粉碎裝置將污泥和水的混合物刮送至抽污泵的抽污口,并對固體污染物進行粉碎。
進一步,刮泥粉碎裝置包括設置抽污倉內的兩個旋轉軸,兩個所述旋轉軸上分別固定套裝有若干滾刀片,且若干滾刀片在旋轉軸的圓柱面上曲線驅動陣列分布,兩個旋轉軸上的滾刀片依次交錯排列設置,所述旋轉軸由設在抽污倉外側的驅動機組驅動旋轉。
進一步,所述抽污倉內設有分別位于兩個滾刀片上方的軸瓦套,兩個軸瓦套之間預留有間隙。
進一步,所述前傾板的底部設有第一液壓桿,所述第一液壓桿的活塞軸固定連接有朝向滾刀片的切刀,且切刀的刀口貼向前傾板的底部,且切刀的刀口與滾刀片錯位
進一步,所述抽污倉包括框板和兩個隔板,所述框板固定安裝在底板和前傾板連接處的頂部,兩個隔板固定安裝在所述框板的兩端。
進一步,所述底板的頂部固定安裝有支撐板,抽污泵固定安裝在支撐板上,所述框板頂端的中部固定連接有導管,所述導管的一端與抽污倉的內腔接通,且導管的另一端與抽污泵的抽污口接通,所述抽污泵的排水口接通有排污管。
進一步,所述底板的頂部固定安裝有遠離前傾板一側的兩組支架,且兩組支架分設在支撐板的兩側,每組支架上均固定連接有導流壓板,兩個所述導流壓板的一面均朝向抽污泵,且兩個導流壓板傾斜設置,所述前傾板上開設有若干位于抽污倉上方的通水孔。
進一步,所述刮泥粉碎裝置包括兩個轉輥,兩個所述轉輥同步且互為反向旋轉,兩個所述轉輥的圓柱面上均設有齒槽,且兩個轉輥的齒端靠近而不接觸,所述轉輥的外側開設有四個滑槽,四個滑槽圓周陣列分布在轉輥的圓柱面上,其中兩個相鄰的滑槽內分別活動套裝有第一壓板,另外兩個相鄰的滑槽內分別活動套裝有第二壓板,所述第一壓板與第二壓板之間固定連接有聯動軸,且兩個聯動軸相互錯位,所述第二壓板和聯動軸的形狀大小均相同,且第二壓板的外側為弧面設計,當第一壓板完全進入滑槽內時,所述第二壓板的外弧面恰好延伸出轉輥齒端的外側。
進一步,所述抽污倉內設有兩個定位軸,且兩個定位軸分設在兩個轉輥的一側,兩個定位軸的兩端與抽污倉兩側的隔板連接,兩個所述定位軸上分別活動套裝有壓濾件,且壓濾件朝向轉輥的一側為弧面設置,所述壓濾件的內弧壁與轉輥齒端的間距值和第二壓板外弧側的半徑值相同,兩個所述壓濾件的一端活動套裝有靠近進污槽處的限位軸,隔板的內壁上設有與限位軸一端活動套接的弧形槽,所述弧形槽對限位軸的移動進行限位,使壓濾件能夠穩定的以定位軸為軸心旋轉,所述隔板的內壁上固定安裝于彈性伸縮桿,所述彈性伸縮桿的一端與壓濾件的一側轉動連接,壓濾件上開設有靠近進污槽處的通槽。
進一步,所述拖拽機構包括固定架,所述固定架固定安裝在船舶上,所述固定架的一端轉動連接有第一連板,所述第一連板遠離固定架的一端轉動連接有擺動連桿,所述固定架的底部轉動連接有第二液壓桿,所述第二液壓桿的輸出軸轉動連接有三角連板,且三角連板的一角與第一連板遠離擺動連桿的一端轉動連接,所述三角連板的另一角轉動連接有第二連板,所述第二連板遠離三角連板的一端與擺動連桿靠近第一連板的一端轉動連接,所述擺動連桿遠離第一連板的一端設置與擺動連桿和固定架之間相同的轉動結構設置,且拖拽裝置遠離固定架一端的擺動連桿與前傾板固定連接。
有益效果
1、本申請提供的一種拖拽式水底表層半沉降淤泥清除裝置,通過底板和前傾板組成的抽污機構在水底由船舶拉拽進行移動,利用底板在水底的沉降層移動,并配合設置在抽污機構上的抽污倉在抽污泵啟動時的抽負壓作用,使得水底半沉降層的污泥和水的混合污染物被抽送到船舶上,并利用設置在抽污倉內由旋轉軸和滾刀片構成的刮泥粉碎裝置,在抽污倉底部的進污槽處起到往抽污倉刮泥的作用,提高單位時間內負壓抽污時,固體污染物的占比量,進而提高抽污效率,并且,兩個滾刀片相互交錯設置,控制旋轉時的旋轉方向相反,對一般固體物污染物進行粉碎,避免固體污染物體積較大,造成抽污排污管路堵塞的問題。
2、本申請提供的一種拖拽式水底表層半沉降淤泥清除裝置,通過底板上設置有位于抽污泵兩側的導流壓板,配合前傾板上開設若干通水孔,使得抽污機構在被拉拽移動時,水流經過通水孔流向導流壓板,通過兩個導流壓板傾斜且朝向抽污泵的結構設置,利用水流對導流壓板的壓力使得抽污機構在行進過程中保持穩定,以便抽污工作的正常進行。
3、本申請提供的一種拖拽式水底表層半沉降淤泥清除裝置,通過兩個轉輥及其上的第一壓板、第二壓板組成的刮泥粉碎裝置,且兩個轉輥的外側開設齒槽,從而利用兩個轉輥旋轉時,兩個轉輥齒端的污染物進行粉碎剪切,實現防固體污染物堵塞的效果,還避免轉軸上纏繞固體污染物的問題,無需再額外設置剪切設備剪斷纏繞的固體污染物,還通過兩個第一壓板、第二壓板接觸后在擠壓力作用下進入滑槽內,從而使得第一壓板、第二壓板的外弧側縮進滑槽內,減少污染物甩向兩側的量,使得更多的污染物進入導管內,從而在不改變排污流量的情況下,使得污染物的占比提高,進而提高抽污的效率,避免抽污排污時,水的占比較大,導致抽污效率不高的問題。
4、本申請提供的一種拖拽式水底表層半沉降淤泥清除裝置,通過抽污倉內設置與兩個轉輥相作用的壓濾件,并使得壓濾件能夠穩定的以定位軸為軸心旋轉,在兩個轉輥旋轉過程中,兩個轉輥上的兩個第一壓板從接觸到分離,會使得與之聯動的第二壓板移動,從而作用于壓濾件的內弧壁,兩個第二壓板從接觸到分離,會使得與之聯動的第一壓板移動,從而作用于壓濾件的內弧壁,使得壓濾件以定位軸為軸心往復旋轉擺動,與相互擠壓時的兩個第一壓板之間配合,對該區間的污泥和水進行一定程度的擠壓,使得水能夠從排出,從而提高了經過兩個轉輥之間的污泥占比,減小水的占比,進一步提高了污泥的抽排效率。
(發明人:劉華松)






