公布日:2023.09.05
申請日:2023.07.10
分類號:C02F11/125(2019.01)I;C02F1/00(2023.01)I;C02F3/00(2023.01)I;B01D29/03(2006.01)I;B01D29/86(2006.01)I;C02F103/20(2006.01)N
摘要
本發明公開了一種用于廢水處理的疊螺式污泥脫水系統及處理方法,其中,包括置于地面的疊螺式污泥脫水機、與疊螺式污泥脫水機連通的進水管以及與進水管遠離疊螺式污泥脫水機一端連通的濾池,濾池底部設有出水口,進水管與出水口連通,疊螺式污泥脫水機遠離地面的一側與進水管連通,進水管上設有控制進水管通閉的閥門,濾池內還設有用于過濾豬毛的濾網,濾網的水平高度比出水口高且覆蓋出水口,濾池內還設有攪拌器。本申請具有通過濾池過濾養豬廢水中的豬毛,減少豬毛進入疊螺式污泥脫水機進而減少疊螺式污泥脫水機損壞的效果。

權利要求書
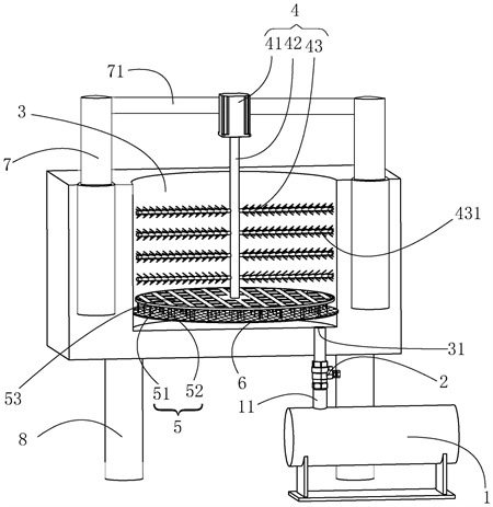
1.一種用于廢水處理的疊螺式污泥脫水系統,其特征在于,包括置于地面的疊螺式污泥脫水機(1)、與疊螺式污泥脫水機(1)連通的進水管(11)以及與進水管(11)遠離疊螺式污泥脫水機(1)一端連通的濾池(3),所述濾池(3)底部設有出水口(31),所述進水管(11)與出水口(31)連通,所述疊螺式污泥脫水機(1)遠離地面的一側與進水管(11)連通,所述進水管(11)上設有控制進水管(11)通閉的閥門(2),所述濾池(3)內還設有用于過濾豬毛的濾網(6),所述濾網(6)的水平高度比出水口(31)高且覆蓋出水口(31),所述濾池(3)內還設有攪拌器(4)。
2.根據權利要求1所述的一種用于廢水處理的疊螺式污泥脫水系統,其特征在于,所述攪拌器(4)位于濾網(6)遠離出水口(31)的一側,所述攪拌器(4)包括若干攪拌槳(43)以及驅動若干攪拌槳(43)轉動的電機(41),所述電機(41)的輸出軸固定連接有轉軸(42),所述轉軸(42)遠離電機(41)的一端伸入濾池(3)中,若干所述攪拌槳(43)均與轉軸(42)固定連接,所述轉軸(42)正對濾池(3)底部的中心,所述轉軸(42)遠離電機(41)的一端置于濾網(6)上方。
3.根據權利要求2所述的一種用于廢水處理的疊螺式污泥脫水系統,其特征在于,所述轉軸(42)靠近濾網(6)的一端還設置有毛刷(5),所述毛刷(5)包括固定于轉軸(42)上的固定板(51)以及固定于固定板(51)上的毛體(52),所述固定板(51)與轉軸(42)靠近濾網(6)的一端固定連接,所述毛體(52)與濾網(6)靠近攪拌器(4)的一側抵接。
4.根據權利要求3所述的一種用于廢水處理的疊螺式污泥脫水系統,其特征在于,所述固定板(51)的形狀與濾池(3)底壁的形狀一致,所述固定板(51)與濾池(3)側壁留有間隙,所述毛體(52)覆蓋濾網(6)。
5.根據權利要求3-4任一所述的一種用于廢水處理的疊螺式污泥脫水系統,其特征在于,所述固定板(51)上開有若干通孔(53)。
6.根據權利要求3-4所述的一種用于廢水處理的疊螺式污泥脫水系統,其特征在于,所述毛體(52)的材料為柔性材料。
7.根據權利要求2-4任一所述的一種用于廢水處理的疊螺式污泥脫水系統,其特征在于,所述攪拌槳(43)的外側壁還設有用于卡住豬毛的毛刺(431)。
8.根據權利要求7所述的一種用于廢水處理的疊螺式污泥脫水系統,其特征在于,所述毛刺(431)設有若干,若干所述毛刺(431)均勻分布于攪拌槳(43)的外側壁。
9.根據權利要求2-4任一所述的一種用于廢水處理的疊螺式污泥脫水系統,其特征在于,所述攪拌器(4)可升降,所述濾池(3)上設有驅動攪拌器(4)升降的液壓驅動件(7)。
10.一種利用如權利要求1-9任一所述的用于廢水處理的疊螺式污泥脫水系統的廢水處理方法,其特征在于,包括以下步驟:步驟1,利用清水將豬圈中的養豬廢水清掃至排水溝中;步驟2,將排水溝中的養豬廢水排入濾池(3)中過濾;步驟3,經過濾池(3)過濾的養豬廢水流入疊螺式污泥脫水機(1)中,對豬糞進行脫水壓縮凝塊;步驟4,將凝塊的豬糞烘干后進行存貯,同時經過疊螺式污泥脫水機(1)過濾的濾液流入生物池中進行降解;步驟5,將生物池中降解完成的濾液排入河流中。
發明內容
為了減少豬毛粘黏于疊螺式污泥脫水機的動靜環片中的情況,本申請提供一種用于廢水處理的疊螺式污泥脫水系統及處理方法。
第一方面,本申請提供一種用于廢水處理的疊螺式污泥脫水系統,采用如下的技術方案:一種用于廢水處理的疊螺式污泥脫水系統,包括置于地面的疊螺式污泥脫水機、與疊螺式污泥脫水機連通的進水管以及與進水管遠離疊螺式污泥脫水機一端連通的濾池,所述濾池底部設有出水口,所述進水管與出水口連通,所述疊螺式污泥脫水機遠離地面的一側與進水管連通,所述進水管上設有控制進水管通閉的閥門,所述濾池內還設有用于過濾豬毛的濾網,所述濾網的水平高度比出水口高且覆蓋出水口,所述濾池內還設有攪拌器。
通過采用上述技術方案,當需要處理養豬廢水時,將養豬廢水排入濾池中,濾池暫時儲存養豬廢水的過程中,養豬廢水中的豬糞團可分散溶于水中,使得粘附于豬糞團中的豬毛分散漂浮于濾池的養豬廢水中,減少了養豬廢水中的豬毛因粘附于豬糞團中不容易過濾的情況。
濾網覆蓋于出水口,濾網阻礙豬毛落入出水口中,當濾池中的養豬廢水通過出水口與進水管流入疊螺式污泥脫水機中,減少了豬毛跟隨養豬廢水流入疊螺式污泥脫水機中導致疊螺式污泥脫水機使用壽命縮短的情況。
當需要過濾養豬廢水時,啟動攪拌器,攪拌器將濾池中的養豬廢水攪拌,攪拌器攪拌濾池中的養豬廢水,使得養豬廢水中的豬毛受攪拌器攪動漂浮于養豬廢水中,從而使得豬毛不容易向出水口流動而附著于濾網上,同時,還使得豬毛更加不容易從進水管流動至疊螺式污泥脫水機中而對疊螺式污泥脫水機的使用壽命造成影響。同時,攪拌器攪拌濾池中的養豬廢水,使得排入濾池中的豬糞團更容易在受到攪拌器的攪動力的作用下,快速分散于濾池的養豬廢水中,有利于減少豬糞容易成團的情況,從而有利于減少為了保障豬毛的過濾效果而設置網孔細密的濾網而對豬糞的過濾產生影響的情況,有利于更好地減少豬糞成團因而導致養豬廢水排完后豬糞團堆積于濾網的情況,從而減少了豬糞團停留于濾池的時間,使得養豬廢水中的有害細菌腐敗分解的時間縮短,減少了有害細菌腐敗分解產生的氨氣的量,提高了養豬場中的環境質量。
優選的,所述攪拌器位于濾網遠離出水口的一側,所述攪拌器包括若干攪拌槳以及驅動若干攪拌槳轉動的電機,所述電機的輸出軸固定連接有轉軸,所述轉軸遠離電機的一端伸入濾池中,若干所述攪拌槳均與轉軸固定連接,所述轉軸正對濾池底部的中心,所述轉軸遠離電機的一端置于濾網上方。
通過采用上述技術方案,轉軸正對濾池底部的中心,固定于轉軸上的若干攪拌槳更均勻的分布于濾池中,使得若干攪拌槳轉動時更全面地攪拌濾池中的養豬廢水,使得養豬廢水中的豬糞團更容易因收到均勻分布的攪拌槳攪拌而快速分散,減少了濾池中的攪拌槳分布不均勻導致濾池中部分空間受到攪拌槳攪拌的力度小而存在豬糞團的情況,進而更加不容易出現因需要網孔較小的濾網過濾豬毛而導致豬糞團也被濾網過濾掉,導致豬糞的回收利用率下降的情況,同時,還不容易導致豬糞團堵塞濾網而影響過濾效率的情況。同時轉軸正對濾池底部的中心,攪拌槳與轉軸固定連接,使得轉軸聯動攪拌槳轉動的過程中,攪拌槳與濾網側壁間距一致,從而使得攪拌槳轉動過程中更容易充分攪拌濾池中的養豬廢水,提高攪拌器對養豬廢水的攪拌效果,從而提高養豬廢水的過濾效率。
優選的,所述轉軸靠近濾網的一端還設置有毛刷,所述毛刷包括固定于轉軸上的固定板以及固定于固定板上的毛體,所述固定板與轉軸靠近濾網的一端固定連接,所述毛體與濾網靠近攪拌器的一側抵接。
通過采用上述技術方案,當電機啟動時,電機驅動轉軸轉動,轉軸聯動毛刷轉動,當毛刷轉動時,毛刷掃刷濾網靠近毛刷的一側,使得附著于濾網靠近毛刷一側的豬毛被毛刷掃刷而向濾池中漂浮,減小了豬毛大量附著于濾網上導致豬糞顆粒不容易穿透濾網的情況,從而有利于提高濾池對養豬廢水的過濾效果。
優選的,所述固定板的形狀與濾池底壁的形狀一致,所述固定板與濾池側壁留有間隙,所述毛體覆蓋濾網。
通過采用上述技術方案,豬毛受到毛刷掃刷的時候向濾池中漂浮,而濾池中的養豬廢水同時向濾池底部的出水口流動,使得漂浮于養豬廢水中的豬毛跟隨養豬廢水向濾池底部流動,使得豬毛繼續向濾網靠近。通過濾網覆蓋濾池底壁的設置,使得濾網在毛刷隨電機轉動的過程中均可隨時被掃刷,從而使得濾網上更加不容易沉積以及黏附有豬毛,有利于減少濾網局部掃刷的間隔時間過長而導致豬毛未向濾池漂浮又重新附著于濾網的情況。
優選的,所述固定板上開有若干通孔。
通過采用上述技術方案,使得毛刷掃刷濾網時,被掃刷下來的豬毛更容易通過通孔向濾池中漂浮,有利于減少固定板的面積過大并覆蓋了濾網而導致豬毛被掃刷下來后受到阻擋,難以重新漂浮至濾池內的情況。
優選的,所述毛體的材料為柔性材料。
通過采用上述技術方案,當毛體掃刷濾網時,柔軟的毛體與濾網擠壓會彎曲,從而有利于減小毛體在掃刷過程中對濾網造成的損傷,進而有利于更好地減少濾網因毛體的掃刷導致被刮傷而導致濾網的濾孔變大,進而導致豬毛的過濾效果受到影響的情況;同時,柔軟毛體有利于更充分地與濾網的網孔接觸,從而使得被卡在網孔中的豬毛更容易被清理干凈,使得毛刷的清理效果更好。
優選的,所述攪拌槳的外側壁還設有用于卡住豬毛的毛刺。
通過采用上述技術方案,當攪拌槳攪動濾池內的養豬廢水時,攪拌槳聯動設置于攪拌槳表面的毛刺在濾池內轉動,毛刺在濾池中轉動時,容易使得漂浮于濾池中的豬毛卡入毛刺中,從而有利于減少自由漂浮于濾池中的豬毛的量,使得豬毛更加不容易順著水流向濾池底部流動,進而有利于減少豬毛在濾網堆積附著而阻礙豬糞顆粒穿透濾網的情況,還有利于減少豬毛積聚黏附在濾網上而導致濾網難以清理的情況。同時毛刺轉動時攪拌濾池中的養豬廢水,使得養豬廢水中的豬糞團更容易分散溶于養豬廢水中,從而更加不容易出現因需要網孔較小的濾網過濾豬毛而導致豬糞團也被濾網過濾掉,從而提高豬糞的回收利用率,另外,還不容易導致豬糞團堵塞濾網而影響過濾效率的情況。
優選的,所述毛刺設有若干,若干所述毛刺均勻分布于攪拌槳的外側壁。
通過采用上述技術方案,若干攪拌槳的表面均均勻設置有毛刺,使得濾池不同高度均設置有毛刺,使得漂浮于濾池中的豬毛更容易卡入毛刺中。同時,增加了濾池中毛刺的數量,還有利于增加豬毛卡入毛刺中的數量,從而有利于更好地減少漂浮于濾池中的豬毛的數量,使得濾池中的豬毛更加不容易跟隨水流向濾網靠近堆積附著而阻礙豬糞顆粒穿透濾網,同時若干攪拌槳上的毛刺轉動時攪拌濾池中的養豬廢水,使得養豬廢水中的豬糞團更容易分散溶于養豬廢水中,從而更加不容易出現因需要網孔較小的濾網過濾豬毛而導致豬糞團也被濾網過濾掉,進一步提高豬糞的回收利用率,另外,還不容易導致豬糞團堵塞濾網而影響過濾效率的情況。
優選的,所述攪拌器可升降,所述濾池上設有驅動攪拌器升降的液壓驅動件。
通過采用上述技術方案,當濾池中的養豬廢水排放完成后,需要清理濾池時,通過液壓驅動件驅動攪拌器上升至離開濾池空間,使得固定于攪拌器上的毛刷以及毛刺均被聯動帶出濾池空間,從而濾池的清洗更加不容易受到攪拌器、毛刷以及毛刺的阻礙。同時,通過先將攪拌器上升至濾池的空間之外,再對毛刺以及毛刷上黏附的豬毛進行清理,使得豬毛的清理更加不容易受到濾池空間的阻礙,從而使得豬毛的清理操作更加簡單方便,還使得豬毛在清理過程中更加不容易掉落至濾池中而導致豬毛通過進水管排出至疊螺式污泥脫水機中對疊螺式污泥脫水機造成影響的情況。
第二方面,本申請提供一種利用上述用于廢水處理的疊螺式污泥脫水系統的處理方法,采用如下的技術方案:一種用于廢水處理的疊螺式污泥脫水系統的處理方法,包括以下步驟:步驟1,利用清水將豬圈中的養豬廢水清掃至排水溝中;步驟2,將排水溝中的養豬廢水排入濾池中過濾;步驟3,經過濾池過濾的養豬廢水流入疊螺式污泥脫水機中,對豬糞進行脫水壓縮凝塊;步驟4,將凝塊的豬糞烘干后進行存貯,同時經過疊螺式污泥脫水機過濾的濾液流入生物池中進行降解;步驟5,將生物池中降解完成的濾液排入河流中。
通過采用上述技術方案,養豬廢水經過濾池過濾后流入疊螺式污泥脫水機中,過濾后的養豬廢水基本不含豬毛,不容易對疊螺式污泥脫水機造成損害。養豬廢水經過疊螺式污泥脫水機脫水凝塊后,將養豬廢水中的豬糞凝塊,便于烘干制成有機肥,實現養豬廢水變廢為寶的功能。疊螺式污泥脫水機排出的廢水,污染物含量少,經過污水處理系統處理后即可排入河流中,達到了環保排放的要求,使得養豬場的污水排放不容易影響自然環境。
綜上所述,本申請包括以下至少一種有益技術效果:1.通過設置疊螺式污泥脫水機與濾池的出水口連接,濾網覆蓋出水口,濾池內設置攪拌器。濾網阻礙豬毛落入出水口中,減少了豬毛跟隨養豬廢水流入疊螺式污泥脫水機中導致疊螺式污泥脫水機使用壽命縮短的情況。粘附于豬糞團中的豬毛經過攪拌器攪拌而分散漂浮于濾池的養豬廢水中,減少了養豬廢水中的豬毛因粘附于豬糞團中不容易過濾的情況。攪拌器攪拌濾池中的養豬廢水,使得排入濾池中的豬糞團更容易在受到攪拌器的攪動力的作用下,快速分散于濾池的養豬廢水中,有利于減少豬糞容易成團的情況,從而有利于減少為了保障豬毛的過濾效果而設置網孔細密的濾網而對豬糞的過濾產生影響的情況,有利于更好地減少豬糞成團因而導致養豬廢水排完后豬糞團堆積于濾網的情況,從而減少了豬糞團停留于濾池的時間,使得養豬廢水中的有害細菌腐敗分解的時間縮短,減少了有害細菌腐敗分解產生的氨氣的量,提高了養豬場中的環境質量。
2.通過設置濾網、毛刷和毛刺,以及毛刷設置有若干通孔。漂浮于濾池空間中的豬毛卡入毛刺,濾網阻礙未卡入毛刺的豬毛向出水口流動,使得養豬廢水中的豬毛不容易進入疊螺式污泥脫水機,導致疊螺式污泥脫水機容易損壞的情況,同時濾網和毛刺不容易阻礙溶于養豬廢水中的豬糞向出水口流動,使得毛刺和濾網不容易影響溶于養豬廢水的豬糞的流入疊螺式污泥脫水機的效率。經過毛刺減少濾池空間中跟隨水流向濾池底部的豬毛,減少濾網附近的豬毛,使得豬毛不容易附著于濾網。當濾池中的養豬廢水向濾池底部的出水口流動時,豬毛順著養豬廢水的水流向濾池底部流動,電機驅動轉軸轉動的過程中,轉軸聯動毛刷轉動,毛刷掃刷濾網靠近毛刷的一側,使得豬毛不容易在順著水流向濾池底部流動的過程中附著于濾網表面而導致豬糞顆粒不容易穿透濾網的情況,同時毛刷掃刷濾網的過程中,附著于濾網的豬毛容易穿過毛刷的通孔向高于毛刷的方向漂浮,減少了濾網附近的豬毛的量,減少了豬毛因大量聚集在濾網附近而容易附著于濾網的情況。
(發明人:林國寧)






