公布日:2024.03.26
申請日:2024.01.11
分類號:B01D17/02(2006.01)I;C02F1/40(2023.01)I
摘要
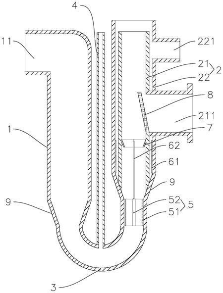
本發明涉及一種用于分離采油污水的油水分離裝置,包括U形管道,U形管道兩側的豎直部分分別為進水管和排水排油管,底部彎曲部分的內徑小于兩側豎直部分的內徑以形成喉管,喉管的中間部分的朝上側連通有朝上設置的通氣管,進水管的上端部設置有進水口,喉管的尾部配置有脈沖電暈放電組件,排水排油管為雙層結構;其中,在雙層結構的內層和外層之間的空間的底部設置有與內層之間留有空隙的電極圈,電極圈的軸心位置設置有電極桿,內層的正對電極圈的位置設置有多個篩孔,內層的位于電極圈上方的位置開設有排水口,外層開設有排油口,排水口低于進水口。本發明采用帶電氣浮的方法實現采油污水的油水徹底分離,且結構簡單,能耗低。

權利要求書
1.一種用于分離采油污水的油水分離裝置,其特征在于,包括U形管道,所述U形管道兩側的豎直部分分別為進水管(1)和排水排油管(2),底部彎曲部分的內徑小于兩側豎直部分的內徑以形成喉管(3),所述喉管(3)的中間部分的朝上側連通有朝上設置的通氣管(4),所述進水管(1)的上端部設置有進水口(11),所述喉管(3)的尾部配置有脈沖電暈放電組件(5),所述排水排油管(2)為雙層結構;其中,在雙層結構的內層(21)和外層(22)之間的空間的底部設置有與內層(21)之間留有空隙的電極圈(61),所述電極圈(61)的軸心位置設置有電極桿(62),所述內層(21)的正對所述電極圈(61)的位置設置有多個篩孔,所述內層(21)的位于所述電極圈(61)上方的位置開設有排水口(211),所述外層(22)開設有排油口(221),所述排水口(211)低于所述進水口(11)。
2.根據權利要求1所述的用于分離采油污水的油水分離裝置,其特征在于,所述脈沖電暈放電組件(5)包括筒電極(51)和同軸棒(52),所述同軸棒(52)位于所述筒電極(51)內,并與所述同軸棒(52)同軸設置。
3.根據權利要求1所述的用于分離采油污水的油水分離裝置,其特征在于,還包括擋油圈(7),所述擋油圈(7)的上端安裝在所述內層(21)的位于所述篩孔上方的位置,所述擋油圈(7)自上而下向內傾斜。
4.根據權利要求1所述的用于分離采油污水的油水分離裝置,其特征在于,還包括擋水板(8),所述擋水板(8)的下端部安裝在所述內層(21)的位于所述排水口(211)正下方的位置,自下而上向內傾斜。
5.根據權利要求1所述的用于分離采油污水的油水分離裝置,其特征在于,所述內層(21)的上端與所述進水口(11)的上沿相齊平,所述外層(22)高于所述內層(21)。
6.根據權利要求1所述的用于分離采油污水的油水分離裝置,其特征在于,所述外層(22)和所述內層(21)之間間隔2至3cm。
7.根據權利要求1所述的用于分離采油污水的油水分離裝置,其特征在于,所述進水管(1)和所述排水排油管(2)分別通過錐形過渡段(9)連接所述喉管(3)。
發明內容
本發明要解決的技術問題是克服現有技術的缺陷,提供一種用于分離采油污水的油水分離裝置,它采用帶電氣浮的方法實現采油污水的油水徹底分離,且結構簡單,能耗低。
為了解決上述技術問題,本發明的技術方案是:一種用于分離采油污水的油水分離裝置,包括U形管道,所述U形管道兩側的豎直部分分別為進水管和排水排油管,底部彎曲部分的內徑小于兩側豎直部分的內徑以形成喉管,所述喉管的中間部分的朝上側連通有朝上設置的通氣管,所述進水管的上端部設置有進水口,所述喉管的尾部配置有脈沖電暈放電組件,所述排水排油管為雙層結構;其中,
在雙層結構的內層和外層之間的空間的底部設置有與內層之間留有空隙的電極圈,所述電極圈的軸心位置設置有電極桿,所述內層的正對所述電極圈的位置設置有多個篩孔,所述內層的位于所述電極圈上方的位置開設有排水口,所述外層開設有排油口,所述排水口低于所述進水口。
進一步提供了一種脈沖電暈放電組件的具體結構,所述脈沖電暈放電組件包括筒電極和同軸棒,所述同軸棒位于所述筒電極內,并與所述同軸棒同軸設置。
進一步為了使得帶電顆粒能盡可能多地通過篩孔進入外層和內層之間的空間,用于分離采油污水的油水分離裝置還包括擋油圈,所述擋油圈的上端安裝在所述內層的位于所述篩孔上方的位置,所述擋油圈自上而下向內傾斜。
進一步,用于分離采油污水的油水分離裝置還包括擋水板,所述擋水板的下端部安裝在所述內層的位于所述排水口正下方的位置,自下而上向內傾斜。
進一步為了使浮到內層頂部的油滴能夠進入內層和外層之間的空間,所述內層的上端與所述進水口的上沿相齊平,所述外層高于所述內層。
進一步,所述外層和所述內層之間間隔2至3cm。
進一步為了可以更好地在喉管處形成文丘里效應,所述進水管和所述排水排油管分別通過錐形過渡段連接所述喉管。
采用上述技術方案后,本發明具有以下有益效果:
1、本發明的油水分離裝置采用一個U形管道,裝置結構簡單;
2、本發明中的裝置完全采用物理法實現油水分離,能耗相對較小;
3、本發明采用帶電氣浮的方法,使部分油滴能在電場作用下迅速脫離原有運動路線,進入內層和外層之間的空間,沒被電場吸過去的油滴在繼續上浮的過程中匯聚成大油滴并從內層頂端排出,從而實現油水的徹底分離,分離效果好。
(發明人:盧維維)






