公布日:2023.09.01
申請日:2023.08.03
分類號:C02F3/00(2023.01)I;C02F1/20(2023.01)I;C02F3/30(2023.01)I;C02F1/00(2023.01)N;C02F101/16(2006.01)N
摘要
本發明公開了一種環流澄清器及其應用,涉及廢水或污水的凈化處理設備技術領域,設置有出水單元,還設置有脫氣單元,脫氣單元包括從上至下依次排布的第一脫氣部和第二脫氣部;出水單元布置在兩個第一脫氣部之間;脫氣單元與環流澄清器內壁之間形成有向下流動通道,第二脫氣部向出水單元一側的空間內形成有向上流動通道,氣體通過第一脫氣部排出。本發明解決了現有技術中氣液固分離過程,脫氣時氣體常常帶動污泥、菌種等物質上浮、隨水排出,尤其是在一段式短程硝化‑厭氧氨氧化工藝中,氨氮和亞硝氮轉化為氮氣后,氮氣帶動AnAOB隨出水排出流失,使得亞硝氮不斷積累,進而對AnAOB產生抑制作用,存在導致反應系統崩潰風險的問題。

權利要求書
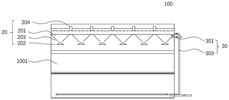
1.環流澄清器在一體化短程硝化-厭氧氨氧化反應器中的應用,其特征在于,所述環流澄清器設置在一體化短程硝化-厭氧氨氧化反應器本體內的上方,所述環流澄清器中設置有出水單元和脫氣單元,所述脫氣單元包括從上至下依次排布的第一脫氣部和第二脫氣部;所述出水單元布置在所述第一脫氣部遠離所述環流澄清器內壁的一側;所述脫氣單元與環流澄清器內壁之間形成有向下流動通道,所述第二脫氣部向所述出水單元一側的空間內形成有向上流動通道,氣體通過所述第一脫氣部排出;所述脫氣單元下方與環流澄清器底部之間形成有環流沉淀區;還包括排泥單元,所述排泥單元包括排泥管路、回收部和回流管路,所述排泥管路的一端連接至出水單元底部,另一端連接至回收部;所述回流管路用于將回收部中的上清液回流至環流澄清器中;所述回流管路的一端連通所述環流澄清器的進水管,另一端連通至所述回收部的出液口;還包括環流調節裝置,安裝在回流管路上;通過所述環流調節裝置調節環流沉淀區的進液通量和混合液上升流速,將進入到環流沉淀區中不同沉降性能的污泥進行分離,所述不同沉降性能的污泥包括絮狀污泥和顆粒狀污泥;其中,絮狀污泥通過排泥管路進入到所述回收部中。
2.根據權利要求1所述的環流澄清器在一體化短程硝化-厭氧氨氧化反應器中的應用,其特征在于,沿所述環流澄清器縱向布置,所述第一脫氣部的截面呈倒梯形或矩形的容納空間,所述第二脫氣部的截面呈三角形的容納空間,所述第一脫氣部下端與所述第二脫氣部上端之間形成中間部,所述中間部形成有向上流動通道。
3.根據權利要求2所述的環流澄清器在一體化短程硝化-厭氧氨氧化反應器中的應用,其特征在于,所述出水單元包括集水槽和出水管,所述集水槽連接在第一脫氣部上,所述出水管連接集水槽的底部,并且其末端延伸至所述環流澄清器的外部,液體進入到第一脫氣部后,經所述集水槽進入到出水管,再經所述出水管排出所述環流澄清器。
4.根據權利要求3所述的環流澄清器在一體化短程硝化-厭氧氨氧化反應器中的應用,其特征在于,所述第一脫氣部上端還設置有排氣部,氣體經所述排氣部排出。
5.根據權利要求1所述的環流澄清器在一體化短程硝化-厭氧氨氧化反應器中的應用,其特征在于,沿所述環流澄清器橫向布置,所述第一脫氣部的截面呈豎向線型,所述第二脫氣部的截面呈斜向線型,且所述第一脫氣部的底部與第二脫氣部的頂部連接,所述第二脫氣部的底部向所述環流澄清器中心處傾斜,兩個所述第二脫氣部之間形成有向上流動通道,且兩個所述第二脫氣部的底部之間形成有向上流動入口。
6.根據權利要求5所述的環流澄清器在一體化短程硝化-厭氧氨氧化反應器中的應用,其特征在于,所述出水單元包括集水槽和出水管,所述集水槽設置在兩個所述第一脫氣部之間,所述出水管連接集水槽的底部,并且其末端延伸至所述環流澄清器的外部,液體進入到第一脫氣部后流入所述集水槽,經所述出水管排出所述環流澄清器。
7.根據權利要求4或6所述的環流澄清器在一體化短程硝化-厭氧氨氧化反應器中的應用,其特征在于,還包括排渣管路,所述排渣管路的進渣口一端與所述環流澄清器的排氣部連通,出渣口一端連通所述環流澄清器的進水管。
8.根據權利要求1所述的環流澄清器在一體化短程硝化-厭氧氨氧化反應器中的應用,其特征在于,所述一體化短程硝化-厭氧氨氧化反應器內的上方布置有至少一個所述環流澄清器。
發明內容
本發明提供一種環流澄清器及其應用,該環流澄清器帶有脫氣單元,適于應用在水處理設備中,尤其適于一段式短程硝化-厭氧氨氧化反應器中。解決了現有技術中氣液固分離過程,脫氣時氣體常常帶動污泥、菌種等物質上浮、隨水排出,尤其是在一段式短程硝化-厭氧氨氧化工藝中,氨氮和亞硝氮轉化為氮氣后,氮氣帶動AnAOB隨出水排出流失,使得亞硝氮不斷積累,進而對AnAOB產生抑制作用,存在導致反應系統崩潰風險的問題。
本發明是通過以下技術方案實現的發明目的,提供一種環流澄清器,設置有出水單元,還設置有脫氣單元,所述脫氣單元包括從上至下依次排布的第一脫氣部和第二脫氣部;所述出水單元布置在所述第一脫氣部遠離所述環流澄清器內壁的一側;所述脫氣單元與環流澄清器內壁之間形成有向下流動通道,所述第二脫氣部向所述出水單元一側的空間內形成有向上流動通道,氣體通過所述第一脫氣部排出;
所述脫氣單元下方與環流澄清器底部之間形成有環流沉淀區。
優選的,還包括排泥單元,所述排泥單元包括排泥管路、回收部和回流管路,所述排泥管路的一端連接至出水單元底部,另一端連接至回收部;所述回流管路用于將回收部中的清液回流至環流澄清器中;所述回流管路的一端連通所述環流澄清器的進水管,另一端連通至所述回收部的出液口。
優選的,還包括環流調節裝置,通過所述環流調節裝置調節環流沉淀區的進液通量和/或混合液上升流速。
優選的,沿所述環流澄清器縱向布置,所述第一脫氣部的截面呈倒梯形或矩形的容納空間,所述第二脫氣部的截面呈三角形的容納空間,所述第一脫氣部下端與所述第二脫氣部上端之間形成中間部,所述中間部形成有向上流動通道。
優選的,所述出水單元包括集水槽和出水管,所述集水槽連接在第一脫氣部上,所述出水管連接集水槽的底部,并且其末端延伸至所述環流澄清器的外部,液體進入到第一脫氣部后,經所述集水槽進入到出水管,再經所述出水管排出所述環流澄清器。
優選的,所述第一脫氣部上端還設置有排氣部,氣體經所述排氣部排出。
優選的,沿所述環流澄清器橫向布置,所述第一脫氣部的截面呈豎向線型,所述第二脫氣部的截面呈斜向線型,且所述第一脫氣部的底部與第二脫氣部的頂部連接,所述第二脫氣部的底部向所述環流澄清器中心處傾斜,所述兩個所述第二脫氣部之間形成有向上流動通道,且兩個所述第二脫氣部的底部之間形成有向上流動入口。
優選的,所述出水單元包括集水槽和出水管,所述集水槽設置在兩個所述第一脫氣部之間,所述出水管連接集水槽的底部,并且其末端延伸至所述環流澄清器的外部,液體進入到第一脫氣部后流入所述集水槽,經所述出水管排出所述環流澄清器。
優選的,還包括排渣管路,所述排渣管路的進渣口一端與所述環流澄清器的排氣部連通,出渣口一端連通所述環流澄清器的進水管。
本發明還提供所述的環流澄清器在一體化短程硝化-厭氧氨氧化反應器中的應用。
優選的,將至少一個所述環流澄清器布置在反應器內的上方,所述環流澄清器底部與反應器內部連通處形成有環流沉淀區;調節所述環流沉淀區的進液通量和混合液的上升流速,從而將不同沉降性能的污泥進行分離。
有益效果:
本發明提供的環流澄清器,設置有脫氣單元,形成特定氣液固的流動通道,從而降低反應器內產生的氮氣對環流澄清器內活性污泥的擾動,實現氣體的有效分離、排出以及污泥混合液的泥水分離;與此同時,在此環流澄清器內,通過調整混合液的循環流速,可以實現對不同泥齡、不同形態活性污泥中微生物的有效分離,調控不同菌群微生物比例,實現多種微生物的協同工作。對環流澄清器在污水生物脫氮領域的應用提供了更多的可能性。
本發明提供的一體式短程硝化-厭氧氨氧化反應器,設置有該環流澄清器,有效避免了當氨氮和亞硝態氮被AnAOB轉化為氮氣后,氮氣對AnAOB產生氣浮作用,導致部分AnAOB隨出水排出造成AnAOB的大量損失,導致出水懸浮物增加和反應器內AnAOB的損失,從而造成反應器脫氮效率下降的問題。
本發明環流澄清器在一體式短程硝化-厭氧氨氧化反應器中的應用,通過環流澄清器的環流結構,即環流沉淀區的布置,有助于厭氧氨氧化顆粒污泥的形成,同時有助于短程硝化菌和厭氧氨氧化菌與水體中氨氮的充分混合,高效傳質,提高污水中的總氮的去除率。
(發明人:王思琦;史緒川;陳福明;王艷青;劉淑杰)






