公布日:2023.09.01
申請日:2023.06.30
分類號:C02F11/13(2019.01)I;B01D53/85(2006.01)I
摘要
本發明屬于污泥處理裝置技術領域,公開了一種具有生物除臭功能的污泥干化機,包括殼體,殼體一端設置為開口結構且鉸接有蓋板,殼體遠離蓋板的一側表面開設有出料槽且殼體側壁滑動安裝有伸入出料槽內的擋板,所述殼體內靠近出料槽的一端固定安裝有位于出料槽兩側對稱分布的導板。與現有技術相比,本發明的有益效果是:通過干化后污泥中殘留的熱量對放置箱內的淤泥進行預熱,提高未干化淤泥的溫度,從而實現熱量的回收利用,進而降低后續污泥干化的能源消耗,有利于使用,實現了污泥的少量多次干化,提高污泥的干化速度和效率,且污泥能夠鋪滿干化加熱部件,保證了污泥的干化效果。

權利要求書
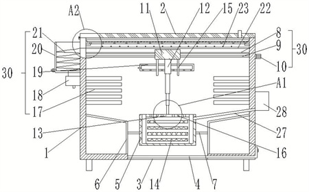
1.一種具有生物除臭功能的污泥干化機,包括殼體,殼體一端設置為開口結構且鉸接有蓋板,殼體遠離蓋板的一側表面開設有出料槽且殼體側壁滑動安裝有伸入出料槽內的擋板,其特征在于,所述殼體內靠近出料槽的一端固定安裝有位于出料槽兩側對稱分布的導板,導板豎直段通過固定桿共同固定安裝有位于出料槽向蓋板方向投影區域內的放置箱,放置箱開口背向出料槽,所述殼體內設置有移動板,移動板靠近放置箱的表面固定安裝有伸縮件,伸縮件輸出端固定安裝有U型結構的開口指向放置箱的安裝架,安裝架內平行段固定安裝有多組平行分布的加熱板,所述殼體內兩側均固定安裝有多組平行分布的推板,推板與加熱板間隔分布且推板與上下側的加熱板滑動接觸,所述殼體內設置有帶動移動板移動的動力組件,所述殼體內靠近蓋板的一端設置有安裝板,安裝板上鋪設有生物除臭填料且安裝板上開設有通孔,所述殼體內設置有冷卻組件。
2.根據權利要求1所述的一種具有生物除臭功能的污泥干化機,其特征在于,所述導板設置為類L型結構,且導板遠離出料槽的側壁與水平面設置有夾角,導板傾斜的側壁外側高于內側。
3.根據權利要求1所述的一種具有生物除臭功能的污泥干化機,其特征在于,所述殼體外側面固定安裝有進料箱,進料箱連通有進料管,進料管遠離進料箱的一端與放置箱連通且進料管靠近進料箱的一端高于其靠近放置箱的一端。
4.根據權利要求1所述的一種具有生物除臭功能的污泥干化機,其特征在于,所述移動板靠近安裝架的表面固定安裝有位于伸縮件兩側分布的限位板,限位板配合使用有開設在安裝架上的限位槽,安裝架水平段上開設有多組間隔分布的通孔。
5.根據權利要求1所述的一種具有生物除臭功能的污泥干化機,其特征在于,所述殼體內側壁上固定安裝有靠近蓋板的墊塊,安裝板通過墊塊放置在殼體內。
6.根據權利要求1所述的一種具有生物除臭功能的污泥干化機,其特征在于,所述動力組件包括絲桿,絲桿轉動安裝在殼體內且絲桿的一端固定連接有位于殼體外側表面的旋轉動力件,絲桿貫穿移動板且絲桿與移動板轉動連接。
7.根據權利要求6所述的一種具有生物除臭功能的污泥干化機,其特征在于,所述殼體內固定安裝有平行于絲桿分布的導向桿,導向桿貫穿移動板且與移動板滑動接觸。
8.根據權利要求4所述的一種具有生物除臭功能的污泥干化機,其特征在于,所述冷卻組件包括抽風機,抽風機進風端通過管道連通有固定安裝在限位板上的抽風罩,抽風罩覆蓋安裝架所在的區域且抽風罩靠近安裝架的表面開設有多組間隔分布的通孔。
9.根據權利要求8所述的一種具有生物除臭功能的污泥干化機,其特征在于,所述殼體外側面固定安裝有冷卻箱,冷卻箱內固定安裝有螺旋結構的冷卻管,冷卻管一端通過管道與抽風機出風端連通,冷卻管另一端連通有固定安裝在殼體內的橫管,橫管上連通有多組間隔分布的指向安裝板的出風管。
發明內容
本發明實施例的目的在于提供一種具有生物除臭功能的污泥干化機,旨在解決上述背景提出的問題。
本發明是這樣實現的,一種具有生物除臭功能的污泥干化機,包括殼體,殼體一端設置為開口結構且鉸接有蓋板,殼體遠離蓋板的一側表面開設有出料槽且殼體側壁滑動安裝有伸入出料槽內的擋板,所述殼體內靠近出料槽的一端固定安裝有位于出料槽兩側對稱分布的導板,導板豎直段通過固定桿共同固定安裝有位于出料槽向蓋板方向投影區域內的放置箱,放置箱開口背向出料槽,所述殼體內設置有移動板,移動板靠近放置箱的表面固定安裝有伸縮件,伸縮件輸出端固定安裝有U型結構的開口指向放置箱的安裝架,安裝架內平行段固定安裝有多組平行分布的加熱板,所述殼體內兩側均固定安裝有多組平行分布的推板,推板與加熱板間隔分布且推板與上下側的加熱板滑動接觸,所述殼體內設置有帶動移動板移動的動力組件,所述殼體內靠近蓋板的一端設置有安裝板,安裝板上鋪設有生物除臭填料且安裝板上開設有通孔,所述殼體內設置有冷卻組件。
作為本發明進一步的方案:所述導板設置為類L型結構,且導板遠離出料槽的側壁與水平面設置有夾角,導板傾斜的側壁外側高于內側。
作為本發明進一步的方案:所述殼體外側面固定安裝有進料箱,進料箱連通有進料管,進料管遠離進料箱的一端與放置箱連通且進料管靠近進料箱的一端高于其靠近放置箱的一端。
作為本發明進一步的方案:所述移動板靠近安裝架的表面固定安裝有位于伸縮件兩側分布的限位板,限位板配合使用有開設在安裝架上的限位槽,安裝架水平段上開設有多組間隔分布的通孔。
作為本發明進一步的方案:所述殼體內側壁上固定安裝有靠近蓋板的墊塊,安裝板通過墊塊放置在殼體內。
作為本發明進一步的方案:所述動力組件包括絲桿,絲桿轉動安裝在殼體內且絲桿的一端固定連接有位于殼體外側表面的旋轉動力件,絲桿貫穿移動板且絲桿與移動板轉動連接。
作為本發明進一步的方案:所述殼體內固定安裝有平行于絲桿分布的導向桿,導向桿貫穿移動板且與移動板滑動接觸。
作為本發明進一步的方案:所述冷卻組件包括抽風機,抽風機進風端通過管道連通有固定安裝在限位板上的抽風罩,抽風罩覆蓋安裝架所在的區域且抽風罩靠近安裝架的表面開設有多組間隔分布的通孔。
作為本發明進一步的方案:所述殼體外側面固定安裝有冷卻箱,冷卻箱內固定安裝有螺旋結構的冷卻管,冷卻管一端通過管道與抽風機出風端連通,冷卻管另一端連通有固定安裝在殼體內的橫管,橫管上連通有多組間隔分布的指向安裝板的出風管。
與現有技術相比,本發明的有益效果是:通過干化后污泥中殘留的熱量對放置箱內的淤泥進行預熱,提高未干化淤泥的溫度,從而實現熱量的回收利用,進而降低后續污泥干化的能源消耗,有利于使用,實現了污泥的少量多次干化,提高污泥的干化速度和效率,且污泥能夠鋪滿干化加熱部件,保證了污泥的干化效果,能夠對干化產生的熱空氣進行冷卻后除臭,從而避免熱空氣對除臭的微生物群造成損傷,有利于增加裝置的使用壽命和保證除臭效果。
(發明人:潘明明;蔡苗;蔡健明;鐘萬金;曹琦;張迪;袁小平;張園園;王曙光;賈少偉)






