公布日:2023.08.29
申請日:2023.05.17
分類號:C02F3/30(2023.01)I;C02F101/30(2006.01)N
摘要
本發明公開一種序批式污水處理系統,還包括沿著水流方向依次連通的預缺氧區、污泥濃縮區和缺氧區;缺氧池配水管,在通過預缺氧區和污泥濃縮區后出水的一端伸入至缺氧區內,將水引流至缺氧區內;好氧區接收缺氧區的污水進行曝氣好氧處理,并將曝氣好氧處理后的污水輸送至第一序批區或第二序批區;第一序批區在第二序批區對從好氧區接收的污水進行沉淀處理時,對從好氧區接收的污水進行靜置缺氧、曝氣好氧或預沉處理;第二序批區在第一序批區對從好氧區接收的污水進行沉淀處理時,對從好氧區接收的污水進行靜置缺氧、曝氣好氧或預沉處理;第一序批區和第二序批區分別交替的進行靜置缺氧和曝氣好氧處理,對水的凈化效果好。

權利要求書
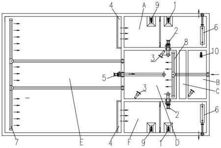
1.一種序批式污水處理系統,其特征在于,還包括沿著水流方向依次連通的預缺氧區、污泥濃縮區和缺氧區;缺氧池配水管,在通過預缺氧區和污泥濃縮區后出水的一端伸入至缺氧區內,將水引流至缺氧區內;好氧區,接收所述缺氧區的污水,進行曝氣好氧處理,并將曝氣好氧處理后的污水輸送至第一序批區或第二序批區;第一序批區,在所述第二序批區對從所述好氧區接收的污水進行沉淀處理時,對從所述好氧區接收的污水進行靜置缺氧、曝氣好氧或預沉處理;以及第二序批區,在所述第一序批區對從所述好氧區接收的污水進行沉淀處理時,對從所述好氧區接收的污水進行靜置缺氧、曝氣好氧或預沉處理;所述第一序批區和所述第二序批區分別交替的進行靜置缺氧和曝氣好氧處理。
2.根據權利要求1所述序批式污水處理系統,其特征在于,在所述第一序批區和第二序批區內都設置有剩余污泥泵、污泥回流泵、空氣控制出水堰和潛水回流泵;污泥回流泵,用于當所述第一序批區內的污泥處于缺氧狀態時,將污泥和污水混合液輸送至所述污泥濃縮區;剩余污泥泵,用于將所述第一序批區或所述第二序批區內的污泥排放除去;空氣控制出水堰,用于當所述第一序批區處于靜置缺氧、曝氣好氧或預沉工序時,將所述第二序批區內的水排出;或,用于當所述第二序批區處于靜置缺氧、曝氣或預沉工序時,將所述第一序批區內的水排出;以及潛水回流泵,兩個所述潛水回流泵分別用于將所對應的所述第一序批區或所述第二序批區內的水輸送至缺氧區。
3.根據權利要求1所述序批式污水處理系統,其特征在于,在所述好氧區內安裝有兩個好氧池潛水回流泵,兩個所述好氧池潛水回流泵將經過曝氣處理的污水分別輸送至對應的所述第一序批區和所述第二序批區對應。
4.根據權利要求1所述序批式污水處理系統,其特征在于,在所述缺氧區內布置有出口相對的兩個缺氧池推流器,用于推動所述缺氧區內的污水往復移動。
5.根據權利要求1所述序批式污水處理系統,其特征在于,還包括好氧池配水管和硝化液回流管;所述硝化液回流管的進水口設置在所述好氧區內,出水口伸入至所述缺氧區內;所述好氧池配水管布置在所述好氧區的內部,其出口朝向所述硝化液回流管;通過所述好氧池配水管將水添加至所述好氧區內,并通過所述硝化液回流管將水輸送至所述缺氧區內。
6.根據權利要求1所述序批式污水處理系統,其特征在于,在所述預缺氧區內布置有污泥提升泵。
7.一種序批式污水處理方法,其特征在于,包括步驟:缺氧工序,當所述第一序批區內的活性污泥處于缺氧狀態時,開啟所述污泥回流泵將一定的體積的污泥和水的混合液輸送至污泥濃縮區;同時一個所述好氧池潛水回流泵將所述好氧區內的相同體積的水輸送至所述第一序批區內;同時,所述空氣控制出水堰開啟將所述第二序批區內的水排出,所述第二序批區開始沉淀污泥;所述缺氧工序持續第一時間段;所述第二序批區處于沉淀工序;曝氣好氧工序,所述第一序批區內的所述污泥回流泵保持開啟,并開啟設置在所述第一序批區內的電動調節閥,對污水進行曝氣好氧;所述好氧工序持續第二時間段;所述第二序批區處于沉淀工序;預沉工序,所述第一序批區的污泥回流泵關閉進行預沉淀,所述預缺氧區內的用于將污泥泵送至缺氧區和好氧區的污泥提升泵關閉;所述預沉工序持續第三時間段;所述第二序批區處于沉淀工序;沉淀工序,所述第一序批區的污泥回流泵開啟,曝氣電動閥關閉,所述剩余污泥泵按照預設時間開啟將所述第一序批區內的污泥排出,所述空氣控制出水堰開啟將所述第一序批區內的水排出;所述沉淀工序持續第四時間段、第五時間段和第六時間段;在所述第四時間段、所述第五時間段和所述第六時間段內,所述第二序批區依次進行缺氧工序、曝氣好氧工序和預沉工序。
8.根據權利要求7所述序批式污水處理方法,其特征在于,在所述第一時間段至所述第六時間段內,所述預缺氧區一直處于預缺氧狀態,所述預缺氧區B內設置的潛水攪拌機處于常開狀態。
9.根據權利要求7所述序批式污水處理方法,其特征在于,在所述第一時間段至所述第六時間段內,所述污泥濃縮區一直處于混合液沉淀狀態,且當所述第一序批區或所述第二序批區處于預沉淀狀態時,無混合液進入所述污泥濃縮區。
10.根據權利要求7所述序批式污水處理方法,其特征在于,在所述第一時間段至所述第六時間段內,所述缺氧區一直處于缺氧狀態,內設的潛水攪拌機處于常開狀態。
發明內容
本發明的目的在于提供序批式污水處理系統,污水處理過程中交替處于厭氧、好氧狀態,水質凈化效果好。
為達到本發明之目的,采用如下技術方案:
第一方面,本申請提供一種序批式污水處理系統,還包括沿著水流方向依次連通的預缺氧區、污泥濃縮區和缺氧區;
缺氧池配水管,在通過預缺氧區和污泥濃縮區后出水的一端伸入至缺氧區內,將水引流至缺氧區內,進行攪拌缺氧處理;
好氧區,接收所述缺氧區的污水,進行曝氣好氧處理,并將曝氣好氧處理后的污水輸送至第一序批區或第二序批區;
第一序批區,在所述第二序批區對從所述好氧區接收的污水進行沉淀處理時,對從所述好氧區接收的污水進行靜置缺氧、曝氣好氧或預沉處理;以及
第二序批區,在所述第一序批區對從所述好氧區接收的污水進行沉淀處理時,對從所述好氧區接收的污水進行靜置缺氧、曝氣好氧或預沉處理;所述第一序批區和所述第二序批區分別交替的進行靜置缺氧和曝氣好氧處理。
在至少一個實施方式中,在所述第一序批區和第二序批區內都設置有剩余污泥泵、污泥回流泵、空氣控制出水堰和潛水回流泵;
污泥回流泵,用于當所述第一序批區內的污泥處于缺氧狀態時,將污泥和污水混合液輸送至所述污泥濃縮區;
剩余污泥泵,用于將所述第一序批區或所述第二序批區內的污泥排放除去;
空氣控制出水堰,用于當所述第一序批區處于靜置缺氧、曝氣好氧或預沉工序時,將所述第二序批區內的水排出;或,用于當所述第二序批區處于靜置缺氧、曝氣或預沉工序時,將所述第一序批區內的水排出;以及
潛水回流泵,兩個所述潛水回流泵分別用于將所對應的所述第一序批區或所述第二序批區內的水輸送至缺氧區。
在至少一個實施方式中,在所述好氧區內安裝有兩個好氧池潛水回流泵4,兩個所述好氧池潛水回流泵將經過曝氣處理的污水分別輸送至對應的所述第一序批區和所述第二序批區對應。
在至少一個實施方式中,在所述缺氧區內布置有出口相對的兩個缺氧池推流器,用于推動所述缺氧區內的污水往復移動。
在至少一個實施方式中,還包括好氧池配水管和硝化液回流管;所述硝化液回流管的進水口設置在所述好氧區內,出水口伸入至所述缺氧區內;所述好氧池配水管布置在所述好氧區的內部,其出口朝向所述硝化液回流管;
通過所述好氧池配水管將水添加至所述好氧區內,并通過所述硝化液回流管將水輸送至所述缺氧區內。
在至少一個實施方式中,在所述預缺氧區內布置有污泥提升泵。
第二方面,本申請提供一種序批式污水處理方法,包括步驟:
缺氧工序,當所述第一序批區內的活性污泥處于缺氧狀態時,開啟所述污泥回流泵將一定的體積的污泥和水的混合液輸送至污泥濃縮區;同時一個所述好氧池潛水回流泵將所述好氧區內的相同體積的水輸送至所述第一序批區內;同時,所述空氣控制出水堰開啟將所述第二序批區內的水排出,所述第二序批區開始沉淀污泥;所述缺氧工序持續第一時間段;所述第二序批區處于沉淀工序;
曝氣好氧工序,所述第一序批區內的所述污泥回流泵保持開啟,并開啟設置在所述第一序批區內的電動調節閥,對污水進行曝氣好氧;所述好氧工序持續第二時間段;所述第二序批區處于沉淀工序;
預沉工序,所述第一序批區的污泥回流泵關閉進行預沉淀,所述預缺氧區內的用于將污泥泵送至缺氧區和好氧區的污泥提升泵關閉;所述預沉工序持續第三時間段;所述第二序批區處于沉淀工序;
沉淀工序,所述第一序批區的污泥回流泵開啟,曝氣電動閥關閉,所述剩余污泥泵按照預設時間開啟將所述第一序批區內的污泥排出,所述空氣控制出水堰開啟將所述第一序批區內的水排出;所述沉淀工序持續第四時間段、第五時間段和第六時間段;在所述第四時間段、所述第五時間段和所述第六時間段內,所述第二序批區依次進行缺氧工序、曝氣好氧工序和預沉工序。
在至少一個實施方式中,在所述第一時間段至所述第六時間段內,所述預缺氧區一直處于預缺氧狀態,所述預缺氧區內設置的潛水攪拌機處于常開狀態。
在至少一個實施方式中,在所述第一時間段至所述第六時間段內,所述污泥濃縮區一直處于混合液沉淀狀態,且當所述第一序批區或所述第二序批區處于預沉淀狀態時,無混合液進入所述污泥濃縮區。
在至少一個實施方式中,在所述第一時間段至所述第六時間段內,所述缺氧區一直處于缺氧狀態,內設的潛水攪拌機處于常開狀態。
與現有技術相比,本發明具有如下有益效果:
本申請中,污水首先是輸送至預缺氧區,所述預缺氧區將污水輸送至污泥濃縮區和缺氧區,之后輸送至好氧區,再由好氧區輸送至第一序批區和第二序批區。
當所述第二序批區對從所述好氧區接收的污水進行沉淀處理時,第一序批區對從所述好氧區接收的污水進行靜置缺氧、曝氣好氧或預沉處理。在所述第一序批區對從所述好氧區接收的污水進行沉淀處理時,所述第二序批區對從所述好氧區接收的污水進行靜置缺氧、曝氣好氧或預沉處理。
該過程中,所述第一序批區和所述第二序批區分別交替的進行靜置缺氧和曝氣好氧處理。
在曝氣好氧處理的過程中,向污水中強制加入空氣,使池內污水與空氣接觸充氧,并攪動液體,加速空氣中的氧氣向液體中的轉移,防止池內懸浮體下沉,加強池內有機物與微生物及溶解氧的接觸,對污水中有機物進行氧化分解,以實現對污水曝氣處理。
在曝氣好氧處理的過程中混合液處在劇烈的混合狀態,活性污泥中的有機污染物和氧氣充分接觸,將空氣中的氧轉移到混合液中的活性污泥絮體上,以供應微生物呼吸之需,為微生物提供生存環境,加速實現污泥內污染物的分解,實現對污水的凈化。
(發明人:朱曙)






