公布日:2023.09.29
申請日:2023.08.30
分類號:C02F1/12(2023.01)I;B01D46/02(2006.01)I;B01D46/12(2022.01)I;B01D46/62(2022.01)I;B01F27/90(2022.01)I;B08B9/087(2006.01)I;B03C3/017(2006.01)I;
C02F103/18(2006.01)N
摘要
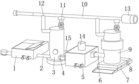
本發明公開一種低溫煙氣余熱脫硫廢水處理設備,包括廢水箱、濃漿箱和主氣管,所述廢水箱固定安裝在濃漿箱的一側,所述廢水箱和濃漿箱之間設置有濃縮塔,所述濃漿箱的一側固定安裝有高溫噴霧塔,所述主氣管固定安裝在高溫噴霧塔和濃縮塔的上部,高溫噴霧塔、濃縮塔和主氣管之間均通過進氣管貫通連接,進氣管的一側設有配合主氣管使用的排氣管,排氣管固定安裝在高溫噴霧塔和濃縮塔的排氣端;充分利用低溫煙氣余熱進行循環蒸發濃縮,實現以廢治廢,有效降低脫硫廢水處理成本,不需要前置常規預處理系統,不需要使用超濾膜進行濃縮,完美解決了脫硫廢水的高鹽高腐蝕性技術難題,成功實現了脫硫廢水的零排放。

權利要求書
1.一種低溫煙氣余熱脫硫廢水處理設備,其特征在于,包括廢水箱(1)、濃漿箱(5)和主氣管(10),所述廢水箱(1)固定安裝在濃漿箱(5)的一側,所述廢水箱(1)和濃漿箱(5)之間設置有濃縮塔(3),所述濃漿箱(5)的一側固定安裝有高溫噴霧塔(9),所述主氣管(10)固定安裝在高溫噴霧塔(9)和濃縮塔(3)的上部,高溫噴霧塔(9)、濃縮塔(3)和主氣管(10)之間均通過進氣管(11)貫通連接,進氣管(11)的一側設有配合主氣管(10)使用的排氣管(12),排氣管(12)固定安裝在高溫噴霧塔(9)和濃縮塔(3)的排氣端,所述濃縮塔(3)的內側上部位置固定安裝有若干組噴淋架(18),所述濃縮塔(3)的內部設有呈L狀的增壓管(17),所述高溫噴霧塔(9)的下端外表面固定安裝有清灰件(7),所述主氣管(10)的一端固定安裝有過濾筒(13);利用循環管(15)配合循環泵(16)在濃縮塔(3)和濃漿箱(5)之間形成漿液循環結構,在脫硫廢水的濃縮液濃度未達標時,利用循環泵(16)通過濃漿箱(5)可以將濃縮液重新導入至噴淋架(18),再利用霧化噴頭(19)排出,進行重復濃縮操作;所述清灰件(7)的內側活動安裝有清料刮板(28),清料刮板(28)的側邊外表面呈傾斜設置,所述清灰件(7)和清料刮板(28)之間通過液壓推桿(8)驅動;所述清料刮板(28)的下端外表面固定安裝有斜面刮條(29);利用液壓推桿(8)可以推動清料刮板(28)平移,使得清料刮板(28)將清灰件(7)內的粉塵排出,完成對清灰件(7)的清理操作,斜面刮條(29)由柔性材料制成,且斜面刮條(29)采用斜面結構設計。
2.根據權利要求1所述的一種低溫煙氣余熱脫硫廢水處理設備,其特征在于,所述噴淋架(18)的下端外表面設有若干組霧化噴頭(19),所述增壓管(17)的上端設有若干組排氣嘴(20),所述噴淋架(18)的下端呈錐形結構,且噴淋架(18)的下端固定安裝有第二管體(4)。
3.根據權利要求1所述的一種低溫煙氣余熱脫硫廢水處理設備,其特征在于,所述廢水箱(1)和濃縮塔(3)之間設有第一管體(2),所述濃縮塔(3)和濃漿箱(5)之間設有第二管體(4),且第二管體(4)的一側固定安裝有循環管(15),循環管(15)和濃漿箱(5)之間設有循環泵(16)。
4.根據權利要求1所述的一種低溫煙氣余熱脫硫廢水處理設備,其特征在于,所述濃漿箱(5)和高溫噴霧塔(9)之間設有第三管體(6),所述高溫噴霧塔(9)的內部設有電除塵器。
5.根據權利要求1所述的一種低溫煙氣余熱脫硫廢水處理設備,其特征在于,所述濃漿箱(5)的上端中部設有攪拌器(14),攪拌器(14)的底部活動安裝有攪拌桿(22),攪拌桿(22)的兩側均固定安裝有若干組槳葉(21)。
6.根據權利要求5所述的一種低溫煙氣余熱脫硫廢水處理設備,其特征在于,所述過濾筒(13)的一端外表面拼接安裝有密封蓋(26),密封蓋(26)的側邊固定安裝有除塵布袋(23),所述過濾筒(13)的內側固定安裝有若干組過濾墊(24)。
7.根據權利要求1所述的一種低溫煙氣余熱脫硫廢水處理設備,其特征在于,清灰件(7)的后端設有液壓缸(27),清灰件(7)的前端設有排料嘴(25)。
8.根據權利要求7所述的一種低溫煙氣余熱脫硫廢水處理設備,其特征在于,斜面刮條(29)的側邊呈傾斜設置,所述清料刮板(28)的兩端中部均設有滑動卡頭(30)。
9.根據權利要求7所述的一種低溫煙氣余熱脫硫廢水處理設備,其特征在于,所述清灰件(7)的兩側均設有配合滑動卡頭(30)使用的滑槽,所述清灰件(7)的上端為敞開式結構。10.根據權利要求9所述的一種低溫煙氣余熱脫硫廢水處理設備,其特征在于,所述清灰件(7)的外表面位于清料刮板(28)的下部呈傾斜設置,兩組液壓推桿(8)之間對稱設置,滑槽的整體呈傾斜設置。
發明內容
本發明的目的在于提供一種低溫煙氣余熱脫硫廢水處理設備,可以解決現有的問題。
本發明解決的問題是:1、脫硫廢水主要由含鹽廢水、懸浮物以及COD重金屬組成,傳統設備無法去除脫硫廢水中的鹽分,其通過加藥沉淀、電絮凝、物理滲透和蒸發結晶等方式進行處理,處理成本較高,且無法做到脫硫廢水的零排放處理;2、其次上述設備不具有輔助清料結構,脫硫廢水處理時產生的粉塵需要人工定時進行清理操作,功能性單一;3、上述傳統設備在進行脫硫廢水處理時,其濃縮的脫硫廢水容易阻塞設備,降低設備運轉穩定性,同時直接利用煙氣進行加熱操作,容易污染設備內部,增加了其清理難度。
本發明的目的可以通過以下技術方案實現:一種低溫煙氣余熱脫硫廢水處理設備,包括廢水箱、濃漿箱和主氣管,所述廢水箱固定安裝在濃漿箱的一側,所述廢水箱和濃漿箱之間設置有濃縮塔,所述濃漿箱的一側固定安裝有高溫噴霧塔,所述主氣管固定安裝在高溫噴霧塔和濃縮塔的上部,高溫噴霧塔、濃縮塔和主氣管之間均通過進氣管貫通連接,進氣管的一側設有配合主氣管使用的排氣管,排氣管固定安裝在高溫噴霧塔和濃縮塔的排氣端,所述濃縮塔的內側上部位置固定安裝有若干組噴淋架,所述濃縮塔的內部設有呈L狀的增壓管,所述高溫噴霧塔的下端外表面固定安裝有清灰件,所述主氣管的一端固定安裝有過濾筒。
作為本發明的進一步技術方案,所述噴淋架的下端外表面設有若干組霧化噴頭,所述增壓管的上端設有若干組排氣嘴,所述噴淋架的下端呈錐形結構,且噴淋架的下端固定安裝有第二管體,排氣嘴和霧化噴頭之間呈逆向設置,利用通過泵體對廢水箱內脫硫廢水進行增壓處理,使得脫硫廢水通過第一管體導入至噴淋架,由噴淋架的排氣嘴向下噴出,同時利用進氣管將主氣管內的低溫煙氣引入至增壓管,通過增壓管的排氣嘴向上噴出,通過調節霧化噴頭,使得脫硫廢在濃縮塔內呈水霧狀,利用電廠鍋爐低溫煙氣余熱,對濃縮塔內霧狀的脫硫廢水進行逆流蒸發操作,使得脫硫廢水濃縮減量,水分隨煙氣由排氣管重新排入至主氣管。
作為本發明的進一步技術方案,所述廢水箱和濃縮塔之間設有第一管體,所述濃縮塔和濃漿箱之間設有第二管體,且第二管體的一側固定安裝有循環管,循環管和濃漿箱之間設有循環泵,利用循環管配合循環泵在濃縮塔和濃漿箱之間形成漿液循環結構,在脫硫廢水的濃縮液濃度未達標時,利用循環泵通過濃漿箱可以將濃縮液重新導入至噴淋架,再利用霧化噴頭排出,進行重復濃縮操作。
作為本發明的進一步技術方案,所述濃漿箱和高溫噴霧塔之間設有第三管體,所述高溫噴霧塔的內部設有電除塵器,當脫硫廢水的濃縮液濃度達標時,通過第三管體將濃縮液導入至高溫噴霧塔的內部,水份及鹽分隨高溫蒸汽蒸發,被電除塵器捕獲,固體物及飛灰干燥物為粉末狀,從其下部排入至清灰件內收集。
作為本發明的進一步技術方案,所述濃漿箱的上端中部設有攪拌器,攪拌器的底部活動安裝有攪拌桿,攪拌桿的兩側均固定安裝有若干組槳葉,使用者利用攪拌器驅動攪拌桿,可以通過攪拌桿帶動若干組槳葉轉動,因為濃漿箱內的濃縮液具有一定濃度,容易出現阻塞現象,利用攪拌桿的設置,可以攪拌濃縮液,避免其在泵入時出現阻塞現象。
作為本發明的進一步技術方案,所述過濾筒的一端外表面拼接安裝有密封蓋,密封蓋的側邊固定安裝有除塵布袋,所述過濾筒的內側固定安裝有若干組過濾墊,電廠鍋爐低溫煙氣由過濾筒進入至主氣管內,因為煙氣中具有部分雜質,其直接導入至高溫噴霧塔和濃縮塔內時,容易污染高溫噴霧塔和濃縮塔的內壁,使得其所收集的濃縮液被污染,利用除塵布袋和過濾墊可以對煙氣進行雙重過濾,從而去除煙氣中的雜質。
作為本發明的進一步技術方案,所述清灰件的內側活動安裝有清料刮板,清料刮板的側邊外表面呈傾斜設置,所述清灰件和清料刮板之間通過液壓推桿驅動,清灰件的后端設有液壓缸,清灰件的前端設有排料嘴,利用液壓推桿可以推動清料刮板平移,使得清料刮板將清灰件內的粉塵排出,完成對清灰件的清理操作。
作為本發明的進一步技術方案,所述清料刮板的下端外表面固定安裝有斜面刮條,且斜面刮條的側邊呈傾斜設置,所述清料刮板的兩端中部均設有滑動卡頭,斜面刮條由柔性材料制成,且斜面刮條采用斜面結構設計,使得斜面刮條可以緊貼清灰件的表面,同時避免斜面刮條在移動時刮傷清灰件,提升其清灰效果。
本發明的有益效果:1、通過設置霧化噴頭和排氣嘴,在該低溫煙氣余熱脫硫廢水處理設備使用時,充分利用低溫煙氣余熱進行循環蒸發濃縮,實現以廢治廢,有效降低脫硫廢水處理成本,不需要前置常規預處理系統,不需要使用超濾膜進行濃縮,完美解決了脫硫廢水的高鹽高腐蝕性技術難題,成功實現了脫硫廢水的零排放,操作時,利用通過泵體對廢水箱內脫硫廢水進行增壓處理,使得脫硫廢水通過第一管體導入至噴淋架,由噴淋架的排氣嘴向下噴出,同時利用進氣管將主氣管內的低溫煙氣引入至增壓管,通過增壓管的排氣嘴向上噴出,通過調節霧化噴頭,使得脫硫廢在濃縮塔內呈水霧狀,利用電廠鍋爐低溫煙氣余熱,對濃縮塔內霧狀的脫硫廢水進行逆流蒸發操作,使得脫硫廢水濃縮減量,水分隨煙氣由排氣管重新排入至主氣管,濃縮后的濃縮液通過第二管體導入濃漿箱內儲存,利用循環管配合循環泵在濃縮塔和濃漿箱之間形成漿液循環結構,在脫硫廢水的濃縮液濃度未達標時,利用循環泵通過濃漿箱可以將濃縮液重新導入至噴淋架,再利用霧化噴頭排出,進行重復濃縮操作,當脫硫廢水的濃縮液濃度達標時,通過第三管體將濃縮液導入至高溫噴霧塔的內部,水份及鹽分隨高溫蒸汽蒸發,被電除塵器捕獲,固體物及飛灰干燥物為粉末狀,從其下部排入至清灰件內收集,從而利用低溫煙氣余熱完成脫硫廢水零污排放理操作。
2、通過設置過濾筒和攪拌器,在該低溫煙氣余熱脫硫廢水處理設備使用時,利用過濾筒可以有效去除煙氣中的雜質,避免煙氣污染濃縮塔和高溫噴霧塔的內壁,其次可以避免濃縮液在濃漿箱內沉底,避免其在泵送過程中出現阻塞現象,提升設備穩定性,操作時,電廠鍋爐低溫煙氣由過濾筒進入至主氣管內,因為煙氣中具有部分雜質,其直接導入至高溫噴霧塔和濃縮塔內時,容易污染高溫噴霧塔和濃縮塔的內壁,使得其所收集的濃縮液被污染,利用除塵布袋和過濾墊可以對煙氣進行雙重過濾,從而去除煙氣中的雜質,其次使用者利用攪拌器驅動攪拌桿,可以通過攪拌桿帶動若干組槳葉轉動,因為濃漿箱內的濃縮液具有一定濃度,容易出現阻塞現象,利用攪拌桿的設置,可以攪拌濃縮液,避免其在泵入時出現阻塞現象。
3、通過設置清灰件,在該低溫煙氣余熱脫硫廢水處理設備使用時,通過清灰件可以自動完成對粉塵的清理操作,減少人工清理步驟,操作時,利用液壓推桿可以推動清料刮板平移,使得清料刮板將清灰件內的粉塵排出,完成對清灰件的清理操作,斜面刮條由柔性材料制成,且斜面刮條采用斜面結構設計,使得斜面刮條可以緊貼清灰件的表面,同時避免斜面刮條在移動時刮傷清灰件,提升其清灰效果,令其具有輔助清理結構。
(發明人:楊會修;高良海;劉容)






