公布日:2023.08.15
申請日:2023.05.31
分類號:B01D21/02(2006.01)I;C02F3/02(2023.01)I;C02F3/28(2023.01)I
摘要
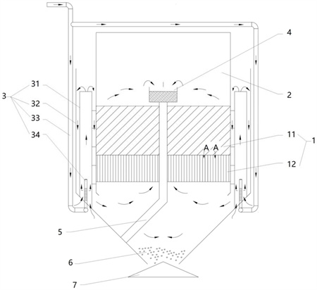
本發明公開一種沉降區填料及包含該沉降區填料的裝配式快速泥水分離模塊,沉降區填料包含:上層斜管組件;下層管組件,包含若干列管道,所述下層管組件設置在所述上層斜管組件的管道下端口的下方,且所述上層斜管組件的管徑大于所述下層管組件的管徑;所述下層管組件與所述上層斜管組件的對應關系為:所述上層斜管組件的一個管道的下端口被所述下層管組件的兩個或多個管道的上端口分割、并且在管道的橫截面上至少被分成兩部分。經過所述上層斜管組件沉淀,污泥含量高的污水和污泥含量低的污水從不同管道進入所述下層管組件,從而引起異重流作用,密度高的混合液向下流,而密度低的混合液則向上流,形成的環流有利于提高沉淀效率,提升澄清效果。

權利要求書
1.沉降區填料,其特征在于,包含:上層斜管組件,所述上層斜管組件中各上層斜管的下端口在水平面平齊;下層管組件,包含若干列管道,所述下層管組件中各管道的上端口在水平面平齊;所述下層管組件設置在所述上層斜管組件的管道下端口的下方,且所述上層斜管組件的管徑大于所述下層管組件的管徑;所述下層管組件與所述上層斜管組件的對應關系為:所述上層斜管組件的一個管道的下端口被所述下層管組件的兩個或多個管道的上端口分割、并且在水平橫截面上至少被分成兩部分。
2.根據權利要求1所述沉降區填料,其特征在于,所述下層管組件的管徑不大于所述上層斜管組件的管徑的二分之一。
3.根據權利要求1所述沉降區填料,其特征在于,所述上層斜管組件與所述下層管組件之間的夾角不等于180度。
4.根據權利要求3所述沉降區填料,其特征在于,所述下層管組件豎直設置。
5.根據權利要求1所述沉降區填料,其特征在于,所述上層斜管組件與所述下層管組件相接。
6.裝配式快速泥水分離模塊,其特征在于,包含權利要求1-5任一項所述的沉降區填料。
7.根據權利要求6所述的裝配式快速泥水分離模塊,其特征在于,還包含:沉降腔,所述沉降區填料位于所述沉降腔內;溢流槽,設于所述沉降腔內并位于所述沉降區填料的上方。
8.根據權利要求7所述的裝配式快速泥水分離模塊,其特征在于,還包含:導流通道,所述導流通道的下端與所述沉降腔連通,所述導流通道與所述沉降腔的連通處位于所述沉降區填料的下方。
9.根據權利要求8所述的裝配式快速泥水分離模塊,其特征在于,所述導流通道包含:外管,下端僅與所述沉降腔聯通;內管,設于所述外管中,所述內管的下端與水池相通,裝配式快速泥水分離模塊安裝在所述水池內,所述內管的上端開放,其水平高度與溢流槽相同。
10.根據權利要求9所述的裝配式快速泥水分離模塊,其特征在于,還包含:氣管,一端從下端插入所述內管,另一端與外部氣源連接。
發明內容
為了進一步提高泥水分離效率,本發明提供一種沉降區填料及包含其的裝配式快速泥水分離模塊。
本發明是通過以下技術方案實現發明目的的。
提供一種沉降區填料,包含:
上層斜管組件,所述上層斜管組件中各上層斜管的下端口在水平面平齊;
下層管組件,包含若干列管道,所述下層管組件中各管道的上端口在水平面平齊;
所述下層管組件設置在所述上層斜管組件的管道下端口的下方,且所述上層斜管組件的管徑大于所述下層管組件的管徑;
所述下層管組件與所述上層斜管組件的對應關系為:所述上層斜管組件的一個管道的下端口被所述下層管組件的兩個或多個管道的上端口分割、并且在水平橫截面上至少被分成兩部分。
其中,所述上層斜管組件包含平行排列的方管或者六棱管(所述上層斜管組件為蜂窩斜管)等。所述上層斜管組件也可以是多層斜板的形式。
所述下層管組件包含平行排列的圓管、方管或者六棱管(所述下層管組件為蜂窩斜管)等。所述下層管組件也可以是列板的形式。
具體實施方式可以是包含平行排列的方管或者六棱管的上層斜管組件與包含平行排列的圓管、方管或者六棱管的下層管組件;也可以是多層斜板的形式的上層斜管組件和列板的形式的下層管組件。
所述上層斜管組件包含平行排列的六棱管、所述下層管組件包含平行排列的六棱管的實施方式中:所述上層斜管組件包含平行排列的六棱管與所述下層管組件包含平行排列的六棱管的尺寸相同,但是所述下層管組件的每個六棱管內包含一個長度方向延伸的隔層,所述隔層將六棱管的截面一分為二,等分或者不等分,所述隔層與所述上層斜管組件的傾斜方向相交。也可以是所述上層斜管組件包含平行排列的六棱管的直徑是所述下層管組件包含平行排列的六棱管的直徑的二倍或者三倍或者更多倍數。
所述上層斜管組件包含平行排列的方管、所述下層管組件包含平行排列的方管的實施方式中:所述上層斜管組件包含平行排列的截面為正方形的方管,所述下層管組件包含平行排列的截面為矩形的方管;尺寸上,所述矩形將所述正方向分為兩部分或者更多。
多層斜板的形式的上層斜管組件和列板形式的下層管組件的實施方式中,所述下層管組件的列板間距小于所述上層斜管組件的斜板間距,可以是二分之一;
或者,所述下層管組件的列板間距不等,所述下層管組件中的板將所述上層斜管組件的相鄰斜板之間的距離按照1:2的比例劃分。
總之,所述上層斜管組件和下層管組件的形式、形狀和尺寸的設計準則為:經過所述上層斜管組件沉淀,污泥含量高的污水和污泥含量低的污水從不同管道進入所述下層管組件,換句話說,所述上層斜管沉淀下來的污泥滑入所述下層管組件時,所述下層管組件中每個管所接收到的泥量不同,從而實現異重流,進一步提升沉淀效果。
在一種實施方式中,所述下層管組件的管徑(或板間距)不大于所述上層斜管組件的管徑(或板間距)的二分之一。
在一種實施方式中所述上層斜管組件與所述下層管組件之間的夾角不等于180度。即下層管組件相對于水平面的傾斜角度不同于上層斜管組件相對于水平面的傾斜角度。通過這樣的設置,所述下層管組件起到作為底層區域和上層斜管組件之間的屏蔽作用,使得底層區域內的水流不對上層斜管組件內的沉淀過程造成干擾。
在一種實施方式中,所述下層管組件豎直設置,使異重流過程更順暢。
在一種實施方式中,所述上層斜管組件與所述下層管組件相接,可以避免二者之間的間隙區域內形成紊流,影響異重流的形成。
針對水處理技術領域,本申請提供一種裝配式快速泥水分離模塊,包含以上所述沉降區填料。
在一種實施方式中,所述裝配式快速泥水分離模塊,還包含:
沉降腔,所述沉降區填料位于所述沉降腔內;
溢流槽,設于所述沉降腔內并位于所述沉降區填料的上方。
其中,所述沉降區填料與所述沉降腔可拆卸連接,所述沉降區填料通過支架等結構固定在所述沉降腔內。
進一步地,所述裝配式快速泥水分離模塊,還包含:
導流通道,所述導流通道的下端與所述沉降腔連通,所述導流通道與所述沉降腔的連通處位于所述沉降區填料的下方。
所述導流通道可以設置多個,分布在所述沉降腔的周圍。
在一種實施方式中,所述導流通道包含:
外管,下端僅與所述沉降腔聯通;
內管,設于所述外管中,所述內管的下端與水池相通,裝配式快速泥水分離模塊就安裝在所述水池內,所述內管的上端開放,其水平高度與溢流槽相同。
其中,所述外管可以是獨立管道,也可以是部分圓弧管壁與所述沉降腔的外壁圍合成閉合管壁的管道。獨立管道不限于圓管,非閉合的管壁也不限于是圓弧形。
對于獨立的管道形式的外管的實施方式,所述沉降腔的腔壁可以設置若干可開合的孔洞,在需要連接所述導流通道時,所述孔洞打開并連接上所述外管。
非閉合的管壁組成的外管,也可以通過在導流通道與沉降腔之間設置閥門實現二者之間的開閉。
在一種實施方式中,所述裝配式快速泥水分離模塊,還包含:
氣管,一端從下端插入所述內管,另一端與外部氣源連接。所述氣管也可以是從上端插入所述內管。
其中,若設置多個所述導流通道,則每個導流通道的內管中均插有所述氣管,并且插入多個氣管可以與統一的外部氣源連接。
本發明提供的沉降區填料,包含:上層斜管組件,利用淺層沉降原理提高沉降效率;下層管組件,包含若干列管道,所述下層管組件設置在所述上層斜管組件的管道下端口的下方,且所述上層斜管組件的管徑大于所述下層管組件的管徑;所述下層管組件與所述上層斜管組件的對應關系為:所述上層斜管組件的一個管道的下端口被所述下層管組件的兩個或多個管道的上端口分割、并且在管道的橫截面上至少被分成兩部分。通過本申請提供的技術方案,污水混合物經過所述上層斜管組件沉淀,污泥含量高的污水和污泥含量低的污水能夠從不同管道進入所述下層管組件,下層管組的每個管道接收到的污泥量并不相同,由此造成下層管組件的不同管道內泥水混合液的密度不同,從而引起異重流作用,密度高的混合液向下流,而密度低的混合液則向上流,形成的環流有利于提高沉淀效率,獲得更優的澄清效果。本申請的發明點還在于,設置在上層斜管組件的下層管組件可以防止沉降區填料下方的混合液的流動對上層斜管組件的澄清過程產生擾動而影響澄清效率。
本申請還提供一種包含所述沉降區填料的裝配式快速泥水分離模塊,裝配式快速泥水分離模塊放置于反應池中,反應池中的曝氣裝置帶動泥水混合液進入裝配式快速泥水分離模塊中,進入裝配式快速泥水分離模塊中的泥水混合液通過沉降區填料后實現高效的沉淀分離,分離后的污泥回流至反應池中,上清液通過溢流堰排出所述裝配式快速泥水分離模塊和反應池。
本申請提供的裝配式快速泥水分離模塊可以應用于未設置曝氣裝置的反應池中,這種情況下可以通過所述氣管曝氣產生氣提作用(利用氣流帶動水流使水流按照特定方向流動),泥水混合液在氣提作用下通過所述內管進入裝配式快速泥水分離模塊,通過沉降區填料后實現沉淀分離,分離后的污泥回流至反應池中,上清液通過溢流堰排出所述裝配式快速泥水分離模塊和反應池。
本申請提供的裝配式快速泥水分離模塊可以通過裝配的方式以模塊作為獨立的單元快速的安裝在反應池上,模塊化的設計不需對原有設備做大幅改動即可使用,并且可以根據污水池的工作參數確定所述裝配式快速泥水分離模塊的數量。
(發明人:陳福明;張青)






