公布日:2024.03.12
申請日:2023.11.28
分類號:C02F1/00(2023.01)I;C02F1/28(2023.01)I;B01D24/12(2006.01)I;B01D24/48(2006.01)I
摘要
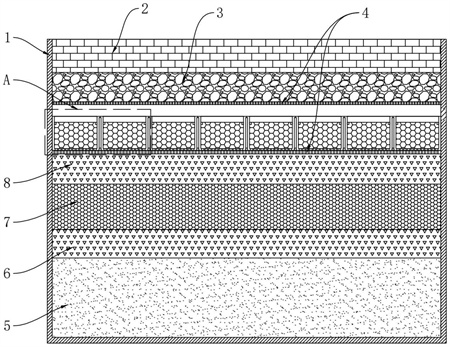
本發明公開了一種新型微動力一體化污水處理系統,包括處理池體;所述處理池體內由上至下設置有覆蓋層、一次散水層、第一濾層、二次散水層、第二濾層、三次散水層和集水層;所述第一濾層包括若干過濾單元和放置架,所述放置架安裝在處理池體內,若干所述過濾單元并列可拆卸安裝在放置架內。本發明通過設置若干過濾單元和放置架,當最上層的過濾層堵塞時,可以將過濾單元抽出,進行更換,保證污水處理系統的正常工作。

權利要求書
1.一種新型微動力一體化污水處理系統,包括處理池體(1);其特征在于:所述處理池體(1)內由上至下設置有覆蓋層(2)、一次散水層(3)、第一濾層、二次散水層(8)、第二濾層(7)、三次散水層(6)和集水層(5);所述第一濾層包括若干過濾單元和放置架(4),所述放置架(4)安裝在處理池體(1)內,若干所述過濾單元并列可拆卸安裝在放置架(4)內。
2.根據權利要求1所述的一種新型微動力一體化污水處理系統,其特征在于:所述過濾單元包括存放盒(9)和填充在存放盒(9)內的吸附過濾填料(10),所述存放盒(9)的底部設置有通孔(11),所述通孔(11)的直徑小于吸附過濾填料(10)的粒徑,所述放置架(4)上設置有若干間隔塊(21),兩個所述間隔塊(21)之間的間距與存放盒(9)的寬度相匹配,所述處理池體(1)的側壁上設置有與存放盒(9)配合的配合孔,所述存放盒(9)穿過所述配合孔進入到放置架(4)內。
3.根據權利要求2所述的一種新型微動力一體化污水處理系統,其特征在于:所述存放盒(9)內設置有高度標記板(12),所述吸附過濾填料(10)上部與高度標記板(12)平齊。
4.根據權利要求2所述的一種新型微動力一體化污水處理系統,其特征在于:所述存放盒(9)內部的一端設置有隔板(17),所述隔板(17)上設置有溢流口(16),所述溢流口(16)的高度大于吸附過濾填料(10)的高度。
5.根據權利要求4所述的一種新型微動力一體化污水處理系統,其特征在于:所述溢流口(16)處設置有提醒裝置,當溢流口(16)處有水流流過時水流驅動所述提醒裝置發出提醒聲音。
6.根據權利要求5所述的一種新型微動力一體化污水處理系統,其特征在于:所述提醒裝置包括轉軸(18)、鈴鐺(15)和若干葉片(19),所述轉軸(18)可轉動安裝在溢流口(16)處,若干所述葉片(19)間隔軸向安裝在轉軸(18)的外圓周面上,所述鈴鐺(15)設置在所述轉軸(18)的一端。
7.根據權利要求6所述的一種新型微動力一體化污水處理系統,其特征在于:所述存放盒(9)上設置有外罩(20),所述外罩(20)蓋合在所述提醒裝置的上部。
8.根據權利要求2所述的一種新型微動力一體化污水處理系統,其特征在于:所述存放盒(9)的兩側分別設置有配合板一(13)和配合板二(14),相鄰兩個存放盒(9)的配合板一(13)和配合板二(14)配合。
9.根據權利要求2所述的一種新型微動力一體化污水處理系統,其特征在于:所述吸附過濾填料(10)為河沙、碳酸鈣與活性炭的混合物。
10.根據權利要求1所述的一種新型微動力一體化污水處理系統,其特征在于:所述覆蓋層(2)為硬化地面、旱地、浮土或者是綠地。
發明內容
本發明所要解決的問題是:提供一種新型微動力一體化污水處理系統,通過設置若干過濾單元和放置架,當最上層的過濾層堵塞時,可以將過濾單元抽出,進行更換,保證污水處理系統的正常工作。
本發明為解決上述問題所提供的技術方案為:一種新型微動力一體化污水處理系統,包括處理池體;所述處理池體內由上至下設置有覆蓋層、一次散水層、第一濾層、二次散水層、第二濾層、三次散水層和集水層;
所述第一濾層包括若干過濾單元和放置架,所述放置架安裝在處理池體內,若干所述過濾單元并列可拆卸安裝在放置架內。
優選的,所述過濾單元包括存放盒和填充在存放盒內的吸附過濾填料,所述存放盒的底部設置有通孔,所述通孔的直徑小于吸附過濾填料的粒徑,所述放置架上設置有若干間隔塊,兩個所述間隔塊之間的間距與存放盒的寬度相匹配,所述處理池體的側壁上設置有與存放盒配合的配合孔,所述存放盒穿過所述配合孔進入到放置架內。
優選的,所述存放盒內設置有高度標記板,所述吸附過濾填料上部與高度標記板平齊。
優選的,所述存放盒內部的一端設置有隔板,所述隔板上設置有溢流口,所述溢流口的高度大于吸附過濾填料的高度。
優選的,所述溢流口處設置有提醒裝置,當溢流口處有水流流過時水流驅動所述提醒裝置發出提醒聲音。
優選的,所述提醒裝置包括轉軸、鈴鐺和若干葉片,所述轉軸可轉動安裝在溢流口處,若干所述葉片間隔軸向安裝在轉軸的外圓周面上,所述鈴鐺設置在所述轉軸的一端。
優選的,所述存放盒上設置有外罩,所述外罩蓋合在所述提醒裝置的上部。
優選的,所述存放盒的兩側分別設置有配合板一和配合板二,相鄰兩個存放盒的配合板一和配合板二配合。
優選的,所述吸附過濾填料為河沙、碳酸鈣與活性炭的混合物。
優選的,所述覆蓋層為硬化地面、旱地、浮土或者是綠地。
與現有技術相比,本發明的優點是:本發明通過設置若干過濾單元和放置架,當最上層的過濾層堵塞時,可以將過濾單元抽出,進行更換,保證污水處理系統的正常工作。
(發明人:蔡宇灝;李雨曦)






