公布日:2024.03.12
申請日:2024.01.05
分類號:B01D29/01(2006.01)I;C02F1/00(2023.01)I;B01D29/72(2006.01)I
摘要
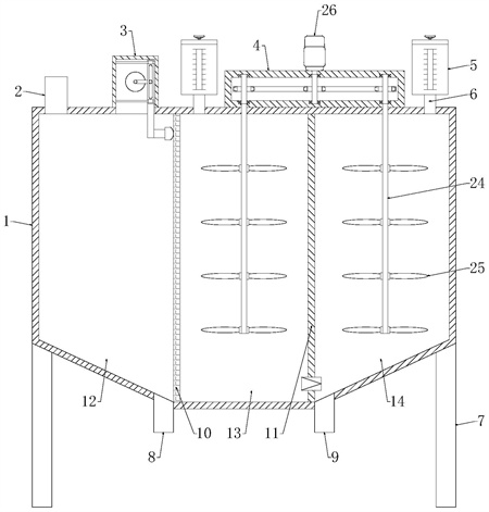
本發明公開了一種高集成度污水處理設備,包括殼體,殼體的上表面一端固定連接有進水管,殼體的下表面固定連接有排污管和排水管,殼體的內部固定連接有過濾網和擋板,過濾網和擋板將殼體的內部從左往右依次分為污水區、反應區和清水區,進水管的一側設置有動力箱,動力箱的一側設置有傳動箱,傳動箱的兩側均設置有物料箱,每個物料箱的底端均固定連接有進料管,污水區內設置有敲打件,動力箱內設置有驅動敲打件移動的驅動機構,反應區和清水區內均設置有攪拌件,傳動箱上固定安裝有第二電機,傳動箱內設置有對攪拌件傳動的傳動機構。本發明體積小、占地少,集成度高,適合少量的污水處理。

權利要求書
1.一種高集成度污水處理設備,包括殼體,所述殼體的上表面一端固定連接有進水管,所述殼體的底部四周均固定連接有支撐腿,所述殼體的下表面固定連接有排污管和排水管,所述殼體的內部固定連接有過濾網和擋板,所述擋板的底部安裝有單向閥門,所述過濾網和擋板將殼體的內部從左往右依次分為污水區、反應區和清水區,其特征在于:所述進水管的一側設置有動力箱,所述動力箱的一側設置有傳動箱,所述動力箱和傳動箱均與殼體固定連接,所述傳動箱的兩側均設置有物料箱,每個所述物料箱的底端均固定連接有進料管,所述進料管與殼體固定連接,所述污水區內設置有敲打件,所述動力箱內設置有驅動敲打件移動的驅動機構,所述反應區和清水區內均設置有攪拌件,所述傳動箱上固定安裝有第二電機,所述傳動箱內設置有對攪拌件傳動的傳動機構,每個所述物料箱的頂端均設置有箱蓋,所述箱蓋上設置有手輪,所述箱蓋內開設有空腔,且空腔內設置有對箱蓋固定的固定機構。
2.根據權利要求1所述的一種高集成度污水處理設備,其特征在于:所述敲打件包括橡膠錘和連接柱,所述橡膠錘與連接柱固定連接,所述橡膠錘的一端能夠與過濾網相抵觸。
3.根據權利要求2所述的一種高集成度污水處理設備,其特征在于:所述驅動機構包括第一電機、旋轉桿、旋轉柱、移動板、導向組件和連接桿,所述第一電機固定安裝在動力箱的內壁上,所述第一電機的輸出軸與旋轉桿的一端固定連接,所述旋轉桿的另一端與旋轉柱固定連接,所述移動板上開設有供旋轉柱滑動的滑槽,所述旋轉柱位于滑槽內,所述導向組件位于移動板的一側,所述連接桿固定連接在移動板的底端,所述動力箱和殼體上均開設有供連接桿通過的通槽,所述連接桿的底端通過通槽伸入殼體并與連接柱固定連接。
4.根據權利要求3所述的一種高集成度污水處理設備,其特征在于:所述導向組件設置有兩組,兩組所述導向組件分別位于移動板的頂部和底部,所述導向組件包括導向滑套和導向桿,所述導向滑套與移動板固定連接,所述導向滑套與導向桿滑動連接,所述導向桿與動力箱固定連接。
5.根據權利要求1所述的一種高集成度污水處理設備,其特征在于:所述攪拌件包括旋轉軸和攪拌葉,所述旋轉軸與攪拌葉固定連接。
6.根據權利要求5所述的一種高集成度污水處理設備,其特征在于:所述傳動機構包括主動軸、主動鏈輪、兩個從動鏈輪和兩個從動軸,所述主動軸的頂端與第二電機的輸出軸固定連接,所述主動軸貫穿主動鏈輪并與其固定連接,兩個所述從動鏈輪分別位于主動鏈輪的兩側,所述主動鏈輪通過鏈條與兩個從動鏈輪傳動連接,兩個所述從動軸分別貫穿兩個從動鏈輪并與其固定連接,所述主動軸和兩個從動軸均通過軸承與傳動箱轉動連接。
7.根據權利要求6所述的一種高集成度污水處理設備,其特征在于:所述反應區內的旋轉軸依次貫穿殼體的頂壁和傳動箱的底壁并與其中一個從動軸固定連接,所述清水區內的旋轉軸依次貫穿殼體的頂壁和傳動箱的底壁并與其中另一個從動軸固定連接。
8.根據權利要求1所述的一種高集成度污水處理設備,其特征在于:所述固定機構包括螺桿、螺母和固定組件,所述螺桿的頂端穿出箱蓋并與手輪固定連接,所述螺桿的底端通過旋轉接頭與箱蓋轉動連接,所述螺母與螺桿螺紋連接,所述固定組件位于螺母的側面。
9.根據權利要求8所述的一種高集成度污水處理設備,其特征在于:所述固定組件設置有兩個,兩個所述固定組件分別位于螺母的兩側,所述固定組件包括連桿、滑動桿、固定桿和彈簧,所述連桿的一端與螺母鉸接,所述連桿的另一端與滑動桿鉸接,所述滑動桿與箱蓋的內壁滑動連接,所述滑動桿與固定桿固定連接,所述彈簧套在固定桿上,所述彈簧的一端與滑動桿相抵,所述彈簧的另一端與箱蓋的內壁相抵,物料箱的內壁上開設有與固定桿配合使用的固定槽,所述固定桿的一端穿出箱蓋并伸入固定槽。
10.根據權利要求1所述的一種高集成度污水處理設備,其特征在于:所述箱蓋的下表面四周開設有密封槽,所述密封槽內設置有密封圈,所述密封圈能夠與物料箱緊密接觸。
發明內容
本發明的目的在于提供一種高集成度污水處理設備,解決現有技術體積大、占地廣,集成度不高,不適合于少量的污水處理的技術問題。
為實現上述目的,本發明是采用以下技術方案實現的:
一種高集成度污水處理設備,包括殼體,所述殼體的上表面一端固定連接有進水管,所述殼體的底部四周均固定連接有支撐腿,所述殼體的下表面固定連接有排污管和排水管,所述殼體的內部固定連接有過濾網和擋板,所述擋板的底部安裝有單向閥門,所述過濾網和擋板將殼體的內部從左往右依次分為污水區、反應區和清水區,所述進水管的一側設置有動力箱,所述動力箱的一側設置有傳動箱,所述動力箱和傳動箱均與殼體固定連接,所述傳動箱的兩側均設置有物料箱,每個所述物料箱的底端均固定連接有進料管,所述進料管與殼體固定連接,所述污水區內設置有敲打件,所述動力箱內設置有驅動敲打件移動的驅動機構,所述反應區和清水區內均設置有攪拌件,所述傳動箱上固定安裝有第二電機,所述傳動箱內設置有對攪拌件傳動的傳動機構,每個所述物料箱的頂端均設置有箱蓋,所述箱蓋上設置有手輪,所述箱蓋內開設有空腔,且空腔內設置有對箱蓋固定的固定機構。
進一步地,所述敲打件包括橡膠錘和連接柱,所述橡膠錘與連接柱固定連接,所述橡膠錘的一端能夠與過濾網相抵觸。
進一步地,所述驅動機構包括第一電機、旋轉桿、旋轉柱、移動板、導向組件和連接桿,所述第一電機固定安裝在動力箱的內壁上,所述第一電機的輸出軸與旋轉桿的一端固定連接,所述旋轉桿的另一端與旋轉柱固定連接,所述移動板上開設有供旋轉柱滑動的滑槽,所述旋轉柱位于滑槽內,所述導向組件位于移動板的一側,所述連接桿固定連接在移動板的底端,所述動力箱和殼體上均開設有供連接桿通過的通槽,所述連接桿的底端通過通槽伸入殼體并與連接柱固定連接。
進一步地,所述導向組件設置有兩組,兩組所述導向組件分別位于移動板的頂部和底部,所述導向組件包括導向滑套和導向桿,所述導向滑套與移動板固定連接,所述導向滑套與導向桿滑動連接,所述導向桿與動力箱固定連接。
進一步地,所述攪拌件包括旋轉軸和攪拌葉,所述旋轉軸與攪拌葉固定連接。
進一步地,所述傳動機構包括主動軸、主動鏈輪、兩個從動鏈輪和兩個從動軸,所述主動軸的頂端與第二電機的輸出軸固定連接,所述主動軸貫穿主動鏈輪并與其固定連接,兩個所述從動鏈輪分別位于主動鏈輪的兩側,所述主動鏈輪通過鏈條與兩個從動鏈輪傳動連接,兩個所述從動軸分別貫穿兩個從動鏈輪并與其固定連接,所述主動軸和兩個從動軸均通過軸承與傳動箱轉動連接。
進一步地,所述反應區內的旋轉軸依次貫穿殼體的頂壁和傳動箱的底壁并與其中一個從動軸固定連接,所述清水區內的旋轉軸依次貫穿殼體的頂壁和傳動箱的底壁并與其中另一個從動軸固定連接。
進一步地,所述固定機構包括螺桿、螺母和固定組件,所述螺桿的頂端穿出箱蓋并與手輪固定連接,所述螺桿的底端通過旋轉接頭與箱蓋轉動連接,所述螺母與螺桿螺紋連接,所述固定組件位于螺母的側面。
進一步地,所述固定組件設置有兩個,兩個所述固定組件分別位于螺母的兩側,所述固定組件包括連桿、滑動桿、固定桿和彈簧,所述連桿的一端與螺母鉸接,所述連桿的另一端與滑動桿鉸接,所述滑動桿與箱蓋的內壁滑動連接,所述滑動桿與固定桿固定連接,所述彈簧套在固定桿上,所述彈簧的一端與滑動桿相抵,所述彈簧的另一端與箱蓋的內壁相抵,物料箱的內壁上開設有與固定桿配合使用的固定槽,所述固定桿的一端穿出箱蓋并伸入固定槽。
進一步地,所述箱蓋的下表面四周開設有密封槽,所述密封槽內設置有密封圈,所述密封圈能夠與物料箱緊密接觸。
本發明的有益效果如下:
1、本發明體積小、占地少,集成度高,適合少量的污水處理;通過設置有敲打件和驅動敲打件移動的驅動機構,能夠對過濾網進行敲打,便于去掉過濾網上的雜質,避免過濾網堵塞;通過設置有攪拌件和對攪拌件傳動的傳動機構,能夠對反應區和清水區內的水進行攪拌,提高污水處理效率;通過在物料箱的頂端均設置有箱蓋和在箱蓋內設置有固定機構,能夠對箱蓋進行拆卸與安裝,方便向物料箱內補充物料。
2、本發明通過設置有導向組件,能夠對移動板的移動進行導向,便于移動板沿導向桿的長度方向移動;通過設置有密封圈,能夠提高箱蓋與物料箱之間的密封性,結構簡單實用。
(發明人:王亞龍;王彥堂;周明)






