公布日:2023.08.11
申請日:2023.05.31
分類號:C02F11/14(2019.01)I;B01F35/71(2022.01)I;B01F35/32(2022.01)I
摘要
本發明公開了一種污泥自動加藥處理裝置,包括處理箱和設于處理箱內部的藥箱,處理箱外側頂部設有驅動電機,驅動電機的輸出端連接有驅動齒輪,驅動齒輪下方的處理箱內設有攪拌組件,攪拌組件底部的處理箱上設有出料口;藥箱設于攪拌組件一側,攪拌組件另一側設有上料組件。通過驅動電機和上料組件的配合,將深層污泥抽送到攪拌組件中,在第一齒輪和驅動齒輪的配合下,擠壓偏心軸擠壓乳液泵頭將藥箱中的藥液噴灑到攪拌組件中,實現對深層污泥的藥液噴灑,保證深層污泥與藥液充分接觸,自動加藥的同時進一步提高了污泥的處理效率。

權利要求書
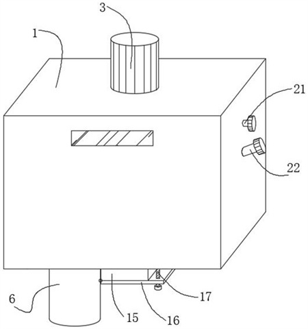
1.一種污泥自動加藥處理裝置,包括處理箱(1)和設于處理箱(1)內部的藥箱(2),其特征在于:所述處理箱(1)外側頂部設有驅動電機(3),驅動電機(3)的輸出端連接有驅動齒輪(4),驅動齒輪(4)下方的處理箱(1)內設有攪拌組件(5),攪拌組件(5)底部的處理箱(1)上設有出料口(14);所述藥箱(2)設于攪拌組件(5)一側,攪拌組件(5)另一側設有上料組件(6);所述藥箱(2)正上方設有第一齒輪(7),第一齒輪(7)連接在處理箱(1)內側頂部,第一齒輪(7)與驅動齒輪(4)相嚙合,第一齒輪(7)底部連接有轉軸(8),轉軸(8)自由端貫穿藥箱(2)頂部并延伸至藥箱(2)內部,轉軸(8)上設有若干攪拌葉片(9);所述第一齒輪(7)底部靠近攪拌組件(5)一側與偏心擠壓軸(10)一端連接,偏心擠壓軸(10)另一端與設于藥箱(2)外側頂部的乳液泵頭(11)連接,乳液泵頭(11)的進液端貫穿藥箱(2)并延伸至藥箱(2)內腔的底部;所述藥箱(2)一側由上至下依次設有注水管(21)和加藥管(22),注水管(21)和加藥管(22)一端貫穿藥箱(2),另一端貫穿處理箱(1);所述上料組件(6)包括上料管(24),上料管(24)底部貫穿處理箱(1)并延伸至處理箱(1)的下方,上料管(24)外壁與處理箱(1)固接,上料管(24)上方的處理箱(1)內壁設有低位朝向攪拌組件(5)的傾斜板(26),上料管(24)頂部貫穿傾斜板(26);所述上料組件(6)還包括第二齒輪(23),第二齒輪(23)與驅動齒輪(4)相嚙合,第二齒輪(23)通過軸承轉動連接在處理箱(1)內側頂部,第二齒輪(23)底部與設于上料管(24)內的螺旋上料軸(25)相連接。
2.如權利要求1所述的一種污泥自動加藥處理裝置,其特征在于:所述攪拌組件(5)包括攪拌筒(12),攪拌筒(12)內設有攪拌架(13),攪拌架(13)頂部與驅動齒輪(4)底部連接,所述攪拌筒(12)與出料口(14)連通。
3.如權利要求1所述的一種污泥自動加藥處理裝置,其特征在于:所述處理箱(1)外側底部的出料口(14)外周設有隔離框(15),隔離框(15)底部靠近上料組件(6)一側轉動連接有封堵板(16)。
4.如權利要求3所述的一種污泥自動加藥處理裝置,其特征在于:所述封堵板(16)上遠離上料組件(6)一側由下至上貫穿有調節螺桿(17),所述調節螺桿(17)的頂端通過軸承轉動連接有安裝板(18),所述安裝板(18)的頂部與彈簧(19)一端連接,彈簧(19)另一端與處理箱(1)底部連接。
5.如權利要求2所述的一種污泥自動加藥處理裝置,其特征在于:所述驅動齒輪(4)的底部連接有滴液網筒(20)。
6.如權利要求1-5任一項所述的一種污泥自動加藥處理裝置,其特征在于:所述驅動電機(3)的輸出端與驅動齒輪(4)通過聯軸器連接。
7.如權利要求1-5任一項所述的一種污泥自動加藥處理裝置,其特征在于:伸出所述處理箱(1)的注水管(21)和加藥管(22)端部均設有封堵帽。
發明內容
本發明提供了一種污泥自動加藥處理裝置,解決了現有污泥處理方式無法保證藥劑與深層污泥的有效混合,嚴重制約了污泥處理速度的問題。
本發明為一種污泥自動加藥處理裝置,包括處理箱和設于處理箱內部的藥箱,處理箱外側頂部設有驅動電機,驅動電機的輸出端連接有驅動齒輪,驅動齒輪下方的處理箱內設有攪拌組件,攪拌組件底部的處理箱上設有出料口;藥箱設于攪拌組件一側,攪拌組件另一側設有上料組件;所述藥箱正上方設有第一齒輪,第一齒輪通過軸承轉動連接在處理箱內側頂部,第一齒輪與驅動齒輪相嚙合,第一齒輪底部連接有轉軸,轉軸自由端貫穿藥箱頂部并延伸至藥箱內部,轉軸上設有若干攪拌葉片;所述第一齒輪底部靠近攪拌組件一側與偏心擠壓軸一端連接,偏心擠壓軸另一端與設于藥箱外側頂部的乳液泵頭連接,乳液泵頭的進液端貫穿藥箱并延伸至藥箱內腔的底部;藥箱一側由上至下依次設有注水管和加藥管,注水管和加藥管一端貫穿藥箱,另一端貫穿處理箱;所述上料組件包括上料管,上料管底部貫穿處理箱并延伸至處理箱的下方,上料管外壁與處理箱固接,上料管上方的處理箱內壁設有低位朝向攪拌組件的傾斜板,上料管頂部貫穿傾斜板;上料組件還包括第二齒輪,第二齒輪與驅動齒輪相嚙合,第二齒輪通過軸承轉動連接在處理箱內側頂部,第二齒輪底部與設于上料管內的螺旋上料軸相連接。
優選的,攪拌組件包括攪拌筒,攪拌筒內設有攪拌架,攪拌架頂部與驅動齒輪底部連接,攪拌筒與出料口連通。
優選的,處理箱外側底部的出料口外周設有隔離框,隔離框底部靠近上料組件一側轉動連接有封堵板。
優選的,封堵板上遠離上料組件一側由下至上貫穿有調節螺桿,調節螺桿的頂端通過軸承轉動連接有安裝板,安裝板的頂部與彈簧一端連接,彈簧另一端與處理箱底部連接。
優選的,驅動齒輪的底部連接有滴液網筒。
優選的,驅動電機的輸出端與驅動齒輪通過聯軸器連接。
優選的,伸出所述處理箱的注水管和加藥管端部均設有封堵帽。
與現有技術相比,本發明的有益效果如下:1、本發明提供的污泥自動加藥處理裝置,通過驅動電機和上料組件的配合,將深層污泥抽送到攪拌組件中,在第一齒輪和驅動齒輪的配合下,擠壓偏心軸擠壓乳液泵頭將藥箱中的藥液噴灑到攪拌組件中,實現對深層污泥的藥液噴灑,保證深層污泥與藥液充分接觸,自動加藥的同時進一步提高了污泥的處理效率。
2、本發明提供的污泥自動加藥處理裝置,在封堵板、調節螺桿和彈簧的配合下,當封堵板上的污泥超出彈簧對封堵板的拉力后,封堵板發生傾斜,實現加藥后污泥的自動下料工作,有效避免攪拌組件中污泥的溢出,保障加藥裝置長時間穩定運行,調節螺桿還可對彈簧和封堵板間的拉力大小進行調節,便捷實用。
3、本發明提供的污泥自動加藥處理裝置,在驅動齒輪的底部連接有滴液網筒,乳液泵頭噴出的藥液先落在滴液網筒上,然后滴至攪拌組件中,增加藥液與污泥的有效接觸面積。
4、本發明提供的污泥自動加藥處理裝置,在第一齒輪、第二齒輪和驅動齒輪的配合下,利用驅動電機這一單獨動力源就可以實現污泥的上料、加藥和攪拌工作,實現了污泥加藥處理的多功能化利用,設備自動化程度更高。
(發明人:賀耀文;陳茜;孫淵君;杜光焱;許菁)






