公布日:2023.08.08
申請日:2023.05.11
分類號:F23G7/00(2006.01)I;F23G5/44(2006.01)I;F23J15/02(2006.01)I
摘要
本發明公開了一種污泥環保焚燒爐的爐體系統,移動座上設有驅動其左右往復運動的驅動機構;第一伺服電機用于驅動輸送管內的絞龍,將輸送管內的污泥從輸送管右端開口處排出;焚燒爐左側壁上設有用于密封筒體的開合機構;第一金屬彎管和第二金屬彎管互相連通,焚燒爐內部設有位于第二擋板右側的噴頭,第二金屬彎管通過焚燒爐頂部的泵體連接于噴頭;插接口內插接有過濾機構,本發明可將污泥均勻鋪設在爐條板上,這樣可避免污泥不均勻堆積在爐條板上,造成污泥燃燒不徹底;通過卡扣機構的設置,使得過濾板可實現快速安裝和拆卸,過濾機構內部的過濾板可對燃燒產生的煙氣和余下的較輕煙灰顆粒進行過濾,起到進一步的環保作用。

權利要求書
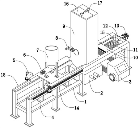
1.一種污泥環保焚燒爐的爐體系統,包括支架(1),其特征在于:所述支架(1)的上端左側滑接有移動座(35),且移動座(35)上設有驅動其左右往復運動的驅動機構;所述移動座(35)上設有污泥斗(7),所述污泥斗(7)的底部連接有輸送管(21),所述輸送管(21)左端固定有第一伺服電機(6),第一伺服電機(6)用于驅動輸送管(21)內的絞龍,將輸送管(21)內的污泥從輸送管(21)右端開口處排出;所述支架(1)右側內部固定有焚燒爐(9),焚燒爐(9)底部設有燃燒器(2),且焚燒爐(9)左側內部設有用于輸送管(21)伸入的筒體(26),所述焚燒爐(9)左側壁上設有用于密封筒體(26)的開合機構(8);所述支架(1)右側內壁開設有用于滑接爐條板(11)的滑槽(15),且滑槽(15)延伸至焚燒爐(9)內部,使得爐條板(11)經由第一氣缸(13)驅動后移動至焚燒爐(9)內部;所述支架(1)右側頂部固定有刷板(10),且刷板(10)底部設有金屬刷(23),在爐條板(11)移動至刷板(10)底部時,金屬刷(23)將爐條板(11)上的爐渣刮落至刷板(10)下方的爐渣轉運車(3);所述焚燒爐(9)內部設有第一擋板(29),焚燒爐(9)頂部右側設有第二擋板(30),且焚燒爐(9)內部設有位于第一擋板(29)頂部兩側的第一金屬彎管(27)和第二金屬彎管(28),且第一金屬彎管(27)和第二金屬彎管(28)互相連通,焚燒爐(9)內部設有位于第二擋板(30)右側的噴頭(31),第二金屬彎管(28)通過焚燒爐(9)頂部的泵體(17)連接于噴頭(31);所述第一擋板(29)內部的排污口(32)經由焚燒爐(9)右側壁伸出,且焚燒爐(9)右側壁設有位于排污口(32)上側的插接口(33),所述插接口(33)內插接有過濾機構(34),所述過濾機構(34)內部通過卡扣機構連接有過濾板(345)。
2.根據權利要求1所述的一種污泥環保焚燒爐的爐體系統,其特征在于:所述移動座(35)的前后兩側設有與其一體成型的滑座(14),且滑座(14)內部左右兩端內活動連接有滑輪(20),所述滑輪(20)滑接于支架(1)頂部的滑軌(18)上。
3.根據權利要求2所述的一種污泥環保焚燒爐的爐體系統,其特征在于:所述驅動機構包括固定在滑座(14)側邊的第二伺服電機(5),且第二伺服電機(5)底部輸出端連接有齒輪(19),所述齒輪(19)與支架(1)上部側邊的齒條(4)嚙合。
4.根據權利要求1所述的一種污泥環保焚燒爐的爐體系統,其特征在于:所述污泥斗(7)底部側邊通過立柱(22)固定在移動座(35)上端。
5.根據權利要求1所述的一種污泥環保焚燒爐的爐體系統,其特征在于:所述爐條板(11)的側邊安裝有移動輪(25),且移動輪(25)設置在滑槽(15)內。
6.根據權利要求1所述的一種污泥環保焚燒爐的爐體系統,其特征在于:所述第一氣缸(13)固定在支架(1)右端,并且第一氣缸(13)輸出端的第一活塞桿(12)連接于爐條板(11)右端中部。
7.根據權利要求1所述的一種污泥環保焚燒爐的爐體系統,其特征在于:所述開合機構(8)包括焚燒爐(9)左側壁上固定的U形座(88)、U形座(88)通過第一銷釘(87)連接的轉動臂(84)、轉動臂(84)端部連接的密封蓋(82)、密封蓋(82)內側連接的密封塞(81)以及U形座(88)后端活動連接的第二氣缸(86);所述第二氣缸(86)輸出端的第二活塞桿(85)活動連接于密封蓋(82),所述密封塞(81)外側嵌入有若干組密封圈(811),第二氣缸(86)驅動密封蓋(82)轉動,使得密封塞(81)插入至筒體(26)內。
8.根據權利要求7所述的一種污泥環保焚燒爐的爐體系統,其特征在于:所述U形座(88)后端通過連接板(881)連接有氣缸連接架(882),所述第二氣缸(86)通過第二銷釘(89)活動連接在氣缸連接架(882)內,所述密封蓋(82)外側連接有連接塊(83),所述第二活塞桿(85)末端通過第三銷釘(831)活動連接于連接塊(83)。
9.根據權利要求1所述的一種污泥環保焚燒爐的爐體系統,其特征在于:所述第一金屬彎管(27)和第二金屬彎管(28)固定在安裝板(16)底部,且安裝板(16)固定在焚燒爐(9)左側頂部,所述安裝板(16)頂部設有與第一金屬彎管(27)連通的注水管(271)。
10.根據權利要求1所述的一種污泥環保焚燒爐的爐體系統,其特征在于:所述過濾機構(34)插入至插接口(33)的插接筒(341)以及插接筒(341)內插入的內筒(344);所述插接筒(341)左端中部設有進氣口(343),所述插接筒(341)右端外側設有與其一體成型的密封環(342);所述卡扣機構包括第一卡扣(3441)和位于第一卡扣(3441)右側的第二卡扣(3445),所述內筒(344)側壁的凹槽(3444)內設有第一轉軸(3442)和第二轉軸(3446),所述第一卡扣(3441)和第二卡扣(3445)分別通過第一轉軸(3442)和第二轉軸(3446)活動連接;所述凹槽(3444)左側壁通過拉簧(3443)連接于第一卡扣(3441)左側,所述凹槽(3444)右側壁通過彈簧(3447)連接于第二卡扣(3445)右側;所述過濾板(345)通過第一卡扣(3441)和第二卡扣(3445)固定時,第一卡扣(3441)卡在過濾板(345)表面的第一卡槽(3452)內,第二卡扣(3445)卡在過濾板(345)表面的第二卡槽(3451)內。
發明內容
本發明的目的在于提供一種污泥環保焚燒爐的爐體系統,以解決上述背景技術中提出的問題。
為實現上述目的,本發明提供如下技術方案:一種污泥環保焚燒爐的爐體系統,包括支架,所述支架的上端左側滑接有移動座,且移動座上設有驅動其左右往復運動的驅動機構;
所述移動座上設有污泥斗,所述污泥斗的底部連接有輸送管,所述輸送管左端固定有第一伺服電機,第一伺服電機用于驅動輸送管內的絞龍,將輸送管內的污泥從輸送管右端開口處排出;
所述支架右側內部固定有焚燒爐,焚燒爐底部設有燃燒器,且焚燒爐左側內部設有用于輸送管伸入的筒體,所述焚燒爐左側壁上設有用于密封筒體的開合機構;
所述支架右側內壁開設有用于滑接爐條板的滑槽,且滑槽延伸至焚燒爐內部,使得爐條板經由第一氣缸驅動后移動至焚燒爐內部;
所述支架右側頂部固定有刷板,刷板的四個拐角處設有安裝在支架頂部的固定爪,且刷板底部設有金屬刷,在爐條板移動至刷板底部時,金屬刷將爐條板上的爐渣刮落至刷板下方的爐渣轉運車;
所述焚燒爐內部設有第一擋板,焚燒爐頂部右側設有第二擋板,且焚燒爐內部設有位于第一擋板頂部兩側的第一金屬彎管和第二金屬彎管,且第一金屬彎管和第二金屬彎管互相連通,焚燒爐內部設有位于第二擋板右側的噴頭,第二金屬彎管通過焚燒爐頂部的泵體連接于噴頭;
所述第一擋板內部的排污口經由焚燒爐右側壁伸出,且焚燒爐右側壁設有位于排污口上側的插接口,所述插接口內插接有過濾機構,所述過濾機構內部通過卡扣機構連接有過濾板。
與現有技術相比,本發明的有益效果是:本發明通過驅動機構的設置,可實現移動座上的污泥斗以及輸送管的左右往復運動,這樣在輸送管將污泥經由其右端排出時,可將污泥均勻鋪設在爐條板上,這樣可避免污泥不均勻堆積在爐條板上,造成污泥燃燒不徹底;
對污泥進行焚燒時,將第一金屬彎管和第二金屬彎管內的水加熱至沸騰,泵體工作,將沸水經由其上的三通管引出供日常生活使用,這樣有利于利用焚燒產生的熱能,且其與的沸水經由噴頭向下噴出,對煙氣中較輕的煙灰顆粒進行吸附溶解,這樣有利于進一步降低煙灰顆粒含量,起到環保作用;
通過卡扣機構的設置,使得過濾板可實現快速安裝和拆卸,便于其組裝和更換新的過濾板,同時,通過過濾機構的設置,其內部的過濾板可對燃燒產生的煙氣和余下的較輕煙灰顆粒進行過濾,起到進一步的環保作用;
通過開合機構的設置,開合機構的密封塞開啟后,不會干擾輸送管向焚燒爐內輸送污泥,且開合機構的密封塞插入至筒體內完成對焚燒爐的密封,防止污泥燃燒時,熱量散失,這樣可避免輸送管和焚燒爐一體連接時,焚燒爐內部熱量使得輸送管內部污泥受熱變硬,堵塞輸送管;
第一氣缸的第一活塞桿可驅動爐條板移動,在爐條板向右移動時,通過刷板的設置,刷板上的金屬刷將爐條板上的爐渣刮落至爐渣轉運車上,這樣便于對爐渣進行清理。
(發明人:瞿兆舟;龔潤弘;闞偉榮;鄧征兵;張虹;王震;胡杰;朱五松)






