公布日:2023.08.04
申請日:2023.03.31
分類號:B02C1/14(2006.01)I;B02C7/08(2006.01)I;B02C7/12(2006.01)I;B02C23/16(2006.01)I
摘要
本發明涉及污泥制磚技術領域,尤其是一種污泥制磚篩分研磨裝置,包括,研磨篩分機構,其包括處理倉,以及貫穿設于所述處理倉上的轉動件,所述轉動件的外部套設有一號彈簧,還包括設于所述轉動件上的研磨篩盤組件;所述研磨篩盤組件包括固定設于所述處理倉內壁的中層研磨篩盤,以及固定設于所述轉動件上的下層研磨篩盤,還包括滑移設于所述轉動件上的上層研磨篩分件;所述一號彈簧提供下壓力至上層研磨篩分件使其貼合中層研磨篩盤上表面。該污泥制磚篩分研磨裝置,在粒徑差較大的污泥混合物進行研磨篩分時可以分層處理,進行多級篩分研磨,保障污泥混合物的出料粒徑,同時能夠避免篩分孔堵塞和研磨盤卡死。

權利要求書
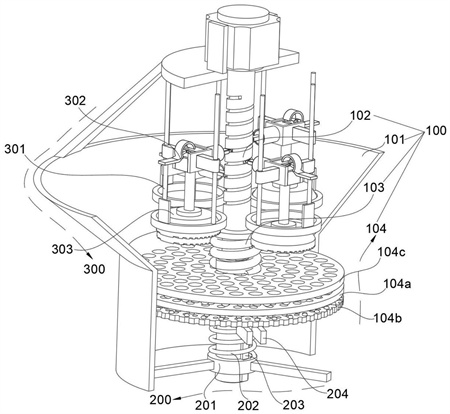
1.一種污泥制磚篩分研磨裝置,其特征在于:包括,研磨篩分機構(100),其包括處理倉(101),以及貫穿設于所述處理倉(101)上的轉動件(102),所述轉動件(102)的外部套設有一號彈簧(103),還包括設于所述轉動件(102)上的研磨篩盤組件(104);所述研磨篩盤組件(104)包括固定設于所述處理倉(101)內壁的中層研磨篩盤(104a),以及固定設于所述轉動件(102)上的下層研磨篩盤(104b),還包括滑移設于所述轉動件(102)上的上層研磨篩分件(104c);所述一號彈簧(103)提供下壓力至上層研磨篩分件(104c)使其貼合中層研磨篩盤(104a)上表面。
2.如權利要求1所述的污泥制磚篩分研磨裝置,其特征在于:所述轉動件(102)包括設于所述處理倉(101)上的驅動電機,以及設于所述驅動電機上的轉軸(102a),所述轉軸(102a)的外壁設有固定盤(102b),還包括設于所述轉軸(102a)上的斜槽(102c);所述上層研磨篩分件(104c)包括滑移設于所述斜槽(102c)上的斜塊(104c-2),以及設于所述斜塊(104c-2)上的上層研磨篩盤(104c-1)。
3.如權利要求2所述的污泥制磚篩分研磨裝置,其特征在于:還包括,錘擊機構(300),其包括設于所述處理倉(101)上的限位組件(301),以及設于所述限位組件(301)上的卡接提升組件(302),還包括設于所述卡接提升組件(302)上的重力錘組件(303),所述轉動件(102)通過轉動上提卡接提升組件(302)至某一高度后釋放重力錘組件(303)下砸;所述卡接提升組件(302)包括滑移承重件(302a),以及滑移設于滑移承重件(302a)外部的推移件(302b),所述推移件(302b)內貫穿設有滑移的定位件(302c);所述轉動件(102)還包括設于所述轉軸(102a)上的螺紋槽(102e),所述螺紋槽(102e)用于引導定位件(302c)上移。
4.如權利要求3所述的污泥制磚篩分研磨裝置,其特征在于:所述滑移承重件(302a)包括承重框(302a-1),以及設于所述承重框(302a-1)內表面的定位塊(302a-2),還包括設于所述承重框(302a-1)表面的滑動槽(302a-3);所述推移件(302b)包括滑移設于所述承重框(302a-1)上的限位框(302b-1),以及設于所述限位框(302b-1)上的支撐桶(302b-2),所述支撐桶(302b-2)的內部滑移連接有推板(302b-3),還包括設于所述推板(302b-3)上的三號彈簧(302b-4);所述定位件(302c)包括設于所述推板(302b-3)上的滑條(302c-1),以及分別設于所述滑條(302c-1)兩端的定位滑塊(302c-2)和承重塊(302c-3),還包括設于所述承重塊(302c-3)上的定位槽(302c-4);所述定位滑塊(302c-2)和螺紋槽(102e)滑動連接。
5.如權利要求4所述的污泥制磚篩分研磨裝置,其特征在于:所述限位組件(301)包括設于所述處理倉(101)上的限位柱(301a),以及滑移設于所述限位柱(301a)上的滑動塊(301c),所述滑動塊(301c)的外壁和限位框(302b-1)的外壁固定連接。
6.如權利要求5所述的污泥制磚篩分研磨裝置,其特征在于:所述重力錘組件(303)包括設于所述承重框(302a-1)上的連桿(303a),以及設于所述連桿(303a)上的破碎錘(303b),還包括開設于所述破碎錘(303b)底部的槽口(303c)。7.如權利要求6所述的污泥制磚篩分研磨裝置,其特征在于:所述卡接提升組件(302)還包括設于所述承重框(302a-1)上的抵觸件(302d),所述抵觸件(302d)包括旋轉設于所述承重框(302a-1)上的弧形壓條(302d-1),以及設于所述弧形壓條(302d-1)上的重力柄(302d-2);所述滑移承重件(302a)還包括設于所述承重框(302a-1)上的插入槽(302a-4);所述限位組件(301)還包括設于所述限位柱(301a)上的套環(301b),以及設于所述套環(301b)上的阻擋塊(301d)。
8.如權利要求2~7任一所述的污泥制磚篩分研磨裝置,其特征在于:還包括,拍打機構(200),其包括設于所述處理倉(101)內的固定件(201),以及滑移設于所述固定件(201)上的滑動件(203),所述滑動件(203)的外部套設有二號彈簧(202),還包括設于所述滑動件(203)上的拍打臂(204);所述轉動件(102)還包括設于所述轉軸(102a)上的推移槽(102d),所述轉軸(102a)轉動時通過推移槽(102d)推動滑動件(203)滑移,配合二號彈簧(202)的彈力推動拍打臂(204)進行拍打。
9.如權利要求8所述的污泥制磚篩分研磨裝置,其特征在于:所述推移槽(102d)包括下滑面(102d-1)、豎直面(102d-2)和環狀面(102d-3);所述固定件(201)包括設于所述處理倉(101)內的支撐環(201a),以及開設于所述支撐環(201a)上的限位槽(201b)。
10.如權利要求9所述的污泥制磚篩分研磨裝置,其特征在于:所述滑動件(203)包括滑移設于所述限位槽(201b)上的限位條(203b),所述限位條(203b)上設有滑動套(203a),還包括設于所述滑動套(203a)內壁的凸塊(203c)。
發明內容
本部分的目的在于概述本發明的實施例的一些方面以及簡要介紹一些較佳實施例。在本部分以及本申請的說明書摘要和發明名稱中可能會做些簡化或省略以避免使本部分、說明書摘要和發明名稱的目的模糊,而這種簡化或省略不能用于限制本發明的范圍。
鑒于上述或現有技術中存在粒徑差較大時難以進行研磨篩分的問題,提出了本發明。
因此,本發明的目的是提供一種污泥制磚篩分研磨裝置。
為解決上述技術問題,本發明提供如下技術方案:包括,研磨篩分機構,其包括處理倉,以及貫穿設于所述處理倉上的轉動件,所述轉動件的外部套設有一號彈簧,還包括設于所述轉動件上的研磨篩盤組件;所述研磨篩盤組件包括固定設于所述處理倉內壁的中層研磨篩盤,以及固定設于所述轉動件上的下層研磨篩盤,還包括滑移設于所述轉動件上的上層研磨篩分件;所述一號彈簧提供下壓力至上層研磨篩分件使其貼合中層研磨篩盤上表面。
作為本發明污泥制磚篩分研磨裝置的一種優選方案,其中:所述轉動件包括設于所述處理倉上的驅動電機,以及設于所述驅動電機上的轉軸,所述轉軸的外壁設有固定盤,還包括設于所述轉軸上的斜槽;所述上層研磨篩分件包括滑移設于所述斜槽上的斜塊,以及設于所述斜塊上的上層研磨篩盤。
作為本發明污泥制磚篩分研磨裝置的一種優選方案,其中:還包括,錘擊機構,其包括設于所述處理倉上的限位組件,以及設于所述限位組件上的卡接提升組件,還包括設于所述卡接提升組件上的重力錘組件,所述轉動件通過轉動上提卡接提升組件至某一高度后釋放重力錘組件下砸;所述卡接提升組件包括滑移承重件,以及滑移設于滑移承重件外部的推移件,所述推移件內貫穿設有滑移的定位件;所述轉動件還包括設于所述轉軸上的螺紋槽,所述螺紋槽用于引導定位件上移。
作為本發明污泥制磚篩分研磨裝置的一種優選方案,其中:所述滑移承重件包括承重框,以及設于所述承重框內表面的定位塊,還包括設于所述承重框表面的滑動槽;所述推移件包括滑移設于所述承重框上的限位框,以及設于所述限位框上的支撐桶,所述支撐桶的內部滑移連接有推板,還包括設于所述推板上的三號彈簧;所述定位件包括設于所述推板上的滑條,以及分別設于所述滑條兩端的定位滑塊和承重塊,還包括設于所述承重塊上的定位槽;所述定位滑塊和螺紋槽滑動連接。
作為本發明污泥制磚篩分研磨裝置的一種優選方案,其中:所述限位組件包括設于所述處理倉上的限位柱,以及滑移設于所述限位柱上的滑動塊,所述滑動塊的外壁和限位框的外壁固定連接。
作為本發明污泥制磚篩分研磨裝置的一種優選方案,其中:所述重力錘組件包括設于所述承重框上的連桿,以及設于所述連桿上的破碎錘,還包括開設于所述破碎錘底部的槽口。
作為本發明污泥制磚篩分研磨裝置的一種優選方案,其中:所述卡接提升組件還包括設于所述承重框上的抵觸件,所述抵觸件包括旋轉設于所述承重框上的弧形壓條,以及設于所述弧形壓條上的重力柄;所述滑移承重件還包括設于所述承重框上的插入槽;所述限位組件還包括設于所述限位柱上的套環,以及設于所述套環上的阻擋塊。
作為本發明污泥制磚篩分研磨裝置的一種優選方案,其中:還包括,拍打機構,其包括設于所述處理倉內的固定件,以及滑移設于所述固定件上的滑動件,所述滑動件的外部套設有二號彈簧,還包括設于所述滑動件上的拍打臂;所述轉動件還包括設于所述轉軸上的推移槽,所述轉軸轉動時通過推移槽推動滑動件滑移,配合二號彈簧的彈力推動拍打臂進行拍打。
作為本發明污泥制磚篩分研磨裝置的一種優選方案,其中:所述推移槽包括下滑面、豎直面和環狀面;所述固定件包括設于所述處理倉內的支撐環,以及開設于所述支撐環上的限位槽。
作為本發明污泥制磚篩分研磨裝置的一種優選方案,其中:所述滑動件包括滑移設于所述限位槽上的限位條,所述限位條上設有滑動套,還包括設于所述滑動套內壁的凸塊。
本發明的污泥制磚篩分研磨裝置的有益效果:本發明在研磨過程中,上層研磨篩盤和中層研磨篩盤之間較大的顆粒會上推上層研磨篩盤,通過一號彈簧對上層研磨篩盤提供下壓力,致使內部較大的污泥混合物進行粉碎篩分,同時,三層研磨篩盤彼此之間的錯位可以輔助推動污泥混合物掉落進入下級,避免堵塞和卡死,在粒徑差較大的污泥混合物進行研磨篩分時可以分層處理,進行多級篩分研磨,保障污泥混合物的出料粒徑,同時能夠避免篩分孔堵塞和研磨盤卡死。
(發明人:潘政紅;薛琦;邱雪;龍汪洋;李博文;劉鵬;李久浪)






