公布日:2024.03.05
申請日:2023.09.26
分類號:B01F33/82(2022.01)I;B01F35/71(2022.01)I;C02F1/00(2023.01)I
摘要
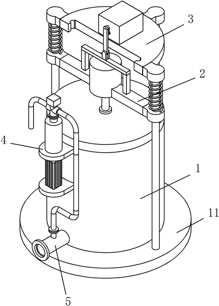
本發明公開了一種污水處理用自動攪拌混合器,包括混合罐體,混合罐體的上方設置有攪拌機構,攪拌機構包括攪拌軸、第一固定桿、第一電動馬達、安裝板和第二電動馬達;加藥機構包括支撐板、液壓缸、定量筒和三通閥,支撐板設置有兩組,液壓缸固定安裝在兩組支撐板之間,混合機構包括支撐環、分流桿和攪拌葉輪;使用的過程中,首先抽吸至定量筒中,實現藥液的精確定量,接著將藥液推送至進料管道中與污水混合,在污水移動的過程中,分流桿和攪拌葉輪對污水進行分流攪拌,將污水與藥液預混合,第一電動馬達與第二電動馬達配合,使攪拌軸在對污水攪拌的同時并上下抽動帶動污水翻滾,提高污水與藥液的混合速度,提高混合效率。

權利要求書
1.一種污水處理用自動攪拌混合器,包括混合罐體(1),其特征在于,所述混合罐體(1)的上方設置有攪拌機構,攪拌機構包括攪拌軸(17)、第一固定桿(2)、第一電動馬達(22)、安裝板(3)和第二電動馬達(35),所述第二電動馬達(35)的輸出端固定連接有第一傳動桿(33),所述第一傳動桿(33)的上端轉動連接有第二傳動桿(34),所述第一固定桿(2)的上表面固定連接有第二固定桿(25),所述第二固定桿(25)的上端固定連接有傳動塊(26),所述傳動塊(26)與所述第二傳動桿(34)的下端轉動連接;所述混合罐體(1)的側面固定連接有加藥機構,加藥機構包括支撐板(4)、液壓缸(41)、定量筒(42)和三通閥(44),所述支撐板(4)設置有兩組,所述液壓缸(41)固定安裝在兩組所述支撐板(4)之間;所述混合罐體(1)的側面靠近下方位置固定連接有進料管道(5),所述進料管道(5)的內部固定連接有混合機構,混合機構包括支撐環(53)、分流桿(54)和攪拌葉輪(56)。
2.根據權利要求1所述的一種污水處理用自動攪拌混合器,其特征在于,所述混合罐體(1)的下端固定連接有支撐底板(11),所述支撐底板(11)上表面的左右兩側固定連接有第一支撐桿(14),所述支撐底板(11)上表面的后側位置固定連接有第二支撐桿(15)。
3.根據權利要求2所述的一種污水處理用自動攪拌混合器,其特征在于,所述第一支撐桿(14)與所述第二支撐桿(15)的上端均連接有連接塊(31),所述連接塊(31)與所述安裝板(3)固定連接。
4.根據權利要求3所述的一種污水處理用自動攪拌混合器,其特征在于,所述第一固定桿(2)的左右兩端均固定連接有限位滑套(23),兩組所述限位滑套(23)分別與左右兩側所述第一支撐桿(14)滑動連接,兩組所述第一支撐桿(14)的表面均套設連接有緩沖彈簧(24)。
5.根據權利要求4所述的一種污水處理用自動攪拌混合器,其特征在于,所述緩沖彈簧(24)的上端與所述連接塊(31)固定連接,所述緩沖彈簧(24)的下端與所述限位滑套(23)固定連接。
6.根據權利要求1所述的一種污水處理用自動攪拌混合器,其特征在于,所述第一固定桿(2)的上表面固定連接有第一設備殼體(21),所述第一電動馬達(22)固定安裝在所述第一設備殼體(21)的內部,所述第一電動馬達(22)的輸出端與所述攪拌軸(17)固定連接,所述攪拌軸(17)的表面固定連接有若干組固定塊(18),所述固定塊(18)的側面固定連接有攪拌桿(19)。
7.根據權利要求1所述的一種污水處理用自動攪拌混合器,其特征在于,所述混合罐體(1)的上端固定連接有密封蓋板(12),所述密封蓋板(12)的表面開設有通孔,通孔的內部固定連接有固定桿套(16),所述攪拌軸(17)與所述固定桿套(16)滑動連接,所述安裝板(3)的上表面固定連接有第二設備殼體(32),所述第二電動馬達(35)固定安裝在所述第二設備殼體(32)的內部。
8.根據權利要求1所述的一種污水處理用自動攪拌混合器,其特征在于,所述進料管道(5)的前端固定連接有進料法蘭(51),所述進料管道(5)的側面固定連接有進液法蘭(52),所述支撐環(53)與所述進料管道(5)的內壁固定連接,所述支撐環(53)的內壁固定連接有四組分流桿(54),所述分流桿(54)之間固定連接有固定軸(55),所述固定軸(55)的側面轉動連接有攪拌葉輪(56)。9.根據權利要求8所述的一種污水處理用自動攪拌混合器,其特征在于,所述支撐板(4)與所述混合罐體(1)的側面固定連接,所述定量筒(42)的下端與上側所述支撐板(4)固定連接,所述定量筒(42)的內部滑動連接有活塞塊(43),所述活塞塊(43)與所述液壓缸(41)中的活塞桿固定連接。
10.根據權利要求9所述的一種污水處理用自動攪拌混合器,其特征在于,所述三通閥(44)的下端口與所述定量筒(42)的上端固定連接,所述三通閥(44)的上方固定安裝有電動閥門(45),所述三通閥(44)的右端口固定連接有出藥管道(46),所述出藥管道(46)遠離所述三通閥(44)的一端與所述進液法蘭(52)固定連接,所述三通閥(44)的左端口固定連接有進藥管道(47),所述進藥管道(47)遠離所述三通閥(44)的一端固定連接有儲藥箱。
發明內容
本發明的目的在于提供一種污水處理用自動攪拌混合器,以解決上述背景技術中提出的問題。
為實現上述目的,本發明提供如下技術方案:一種污水處理用自動攪拌混合器,包括混合罐體,所述混合罐體的上方設置有攪拌機構,攪拌機構包括攪拌軸、第一固定桿、第一電動馬達、安裝板和第二電動馬達,所述第二電動馬達的輸出端固定連接有第一傳動桿,所述第一傳動桿的上端轉動連接有第二傳動桿,所述第一固定桿的上表面固定連接有第二固定桿,所述第二固定桿的上端固定連接有傳動塊,所述傳動塊與所述第二傳動桿的下端轉動連接;所述混合罐體的側面固定連接有加藥機構,加藥機構包括支撐板、液壓缸、定量筒和三通閥,所述支撐板設置有兩組,所述液壓缸固定安裝在兩組所述支撐板之間;所述混合罐體的側面靠近下方位置固定連接有進料管道,所述進料管道的內部固定連接有混合機構,混合機構包括支撐環、分流桿和攪拌葉輪。
通過采用上述技術方案,液壓缸中的活塞桿講過藥液首先抽吸至定量筒中,實現藥液的精確定量,接著將藥液推送至進料管道中與污水混合,進料管道將混合著液體的污水輸送至混合罐體中,第一電動馬達與第二電動馬達配合,使攪拌軸在對污水攪拌的同時并上下抽動帶動污水翻滾,提高污水與藥液的混合速度,提高混合效率;混合罐體的后側設置有排料管道,混合后的液體通過排料管道排出。
可選的,所述混合罐體的下端固定連接有支撐底板,所述支撐底板上表面的左右兩側固定連接有第一支撐桿,所述支撐底板上表面的后側位置固定連接有第二支撐桿。
可選的,所述第一支撐桿與所述第二支撐桿的上端均連接有連接塊,所述連接塊與所述安裝板固定連接。
通過上述技術方案,第一支撐桿與第二支撐桿配合對安裝板進行固定,進而對第二電動馬達的位置進行固定。
可選的,所述第一固定桿的左右兩端均固定連接有限位滑套,兩組所述限位滑套分別與左右兩側所述第一支撐桿滑動連接,兩組所述第一支撐桿的表面均套設連接有緩沖彈簧。
可選的,所述緩沖彈簧的上端與所述連接塊固定連接,所述緩沖彈簧的下端與所述限位滑套固定連接。
通過采用上述技術方案,限位滑套在第一支撐桿的表面滑動,對第一固定桿的滑動位置進行限定,使其保持垂直方向運動,進而使攪拌軸上下移動對污水的內部進行抽插。
可選的,所述第一固定桿的上表面固定連接有第一設備殼體,所述第一電動馬達固定安裝在所述第一設備殼體的內部,所述第一電動馬達的輸出端與所述攪拌軸固定連接,所述攪拌軸的表面固定連接有若干組固定塊,所述固定塊的側面固定連接有攪拌桿。
通過采用上述技術方案,攪拌軸帶動若干組攪拌桿進行轉動,對污水的內部進行攪拌,使污水與藥液進一步混合。
可選的,所述混合罐體的上端固定連接有密封蓋板,所述密封蓋板的表面開設有通孔,通孔的內部固定連接有固定桿套,所述攪拌軸與所述固定桿套滑動連接,所述安裝板的上表面固定連接有第二設備殼體,所述第二電動馬達固定安裝在所述第二設備殼體的內部。
通過采用上述技術方案,密封蓋板用于將混合罐體進行密封,避免混合過程中臭氣外泄。
可選的,所述進料管道的前端固定連接有進料法蘭,所述進料管道的側面固定連接有進液法蘭,所述支撐環與所述進料管道的內壁固定連接,所述支撐環的內壁固定連接有四組分流桿,所述分流桿之間固定連接有固定軸,所述固定軸的側面轉動連接有攪拌葉輪。
通過采用上述技術方案,藥液與污水在進料管道中預混合,污水與藥液混合體在進料管道中流動的時候,分流桿對水流進行切割,同時在水流的作用下會推動攪拌葉輪進行轉動,對水流進行攪拌,使藥液與污水預混合。
可選的,所述支撐板與所述混合罐體的側面固定連接,所述定量筒的下端與上側所述支撐板固定連接,所述定量筒的內部滑動連接有活塞塊,所述活塞塊與所述液壓缸中的活塞桿固定連接。
可選的,所述三通閥的下端口與所述定量筒的上端固定連接,所述三通閥的上方固定安裝有電動閥門,所述三通閥的右端口固定連接有出藥管道,所述出藥管道遠離所述三通閥的一端與所述進液法蘭固定連接,所述三通閥的左端口固定連接有進藥管道,所述進藥管道遠離所述三通閥的一端固定連接有儲藥箱。
通過采用上述技術方案,電動閥門用于控制三通閥出藥端口和進藥端口的啟閉,進藥時電動閥門將進藥端口打開,將出藥端口關閉,排藥的時候將進藥端口關閉,將排藥端口打開,定量筒用于對進入的藥液進行定量,實現自動定量,提高定量精度以及降低工作人員的工作強度;其中第一電馬達、第二電動馬達、液壓缸和電動閥門均可實現遠程控制。
與現有技術相比,本發明的有益效果是:該污水處理用自動攪拌混合器,通過在混合罐體的上方設置有攪拌機構,攪拌機構包括攪拌軸、第一固定桿、第一電動馬達、安裝板和第二電動馬達,第一電馬達的輸出端帶動攪拌軸對混合罐體內部的污水進行攪拌,在攪拌的過程中第二電動馬達帶動第一電動馬達上下移動,使攪拌軸在攪拌的過程中在污水中上下抽插,使污水在攪拌的過程中上下翻滾,進一步提高污水與藥液混合的速度,從而提高污水處理效率,解決了現有的攪拌設備結構較為簡單,導致其攪拌效率低下,需要長時間的攪拌才能是的藥劑與污水充分混合,也導致了污水處理效率較低的問題。
該污水處理用自動攪拌混合器,通過在混合罐體的側面靠近下方位置固定連接有進料管道,進料管道的內部固定連接有混合機構,混合機構包括支撐環、分流桿和攪拌葉輪,將藥液推送至進料管道中,通過分流桿以及攪拌葉輪將藥液與污水預混合,進一步提高藥液與污水的混合度,提高混合質量,增加污水處理效率。
該污水處理用自動攪拌混合器,通過在混合罐體的側面固定連接有加藥機構,加藥機構包括支撐板、液壓缸、定量筒和三通閥,液壓缸中的活塞桿向內收縮將藥液抽吸至定量筒的內部,接著液壓缸中的活塞桿向外推出,將定量筒內部的藥液向外推出至進料管道的內部,實現定量加藥,提高加藥的精度,解決了現有的加藥方式主要依靠人工進行加藥,加藥過程較為麻煩,且無法對藥液進行精確控制的問題。
(發明人:邵佳昌;邵錫思;邵亦樂;嵇明華;邵靜樂;周磊;邵琦;邵旦)






