公布日:2024.03.01
申請日:2023.12.26
分類號:F28D7/16(2006.01)I;F28F9/22(2006.01)I;F28F9/00(2006.01)I;F28F11/00(2006.01)I;F28F19/01(2006.01)I;F28F27/00(2006.01)I;F22D1/50(2006.01)I;F22B37/
54(2006.01)I;F22B1/28(2006.01)I
摘要
本發明屬于干熄焦鍋爐技術領域,公開了一種干熄焦鍋爐連續排污水冷卻系統,針對背景技術提出的問題,現提出以下方案,包括過濾罐體,所述過濾罐體的內部設置有過濾組件,且過濾組件包括固定在過濾罐體上的密封蓋板,所述密封蓋板的頂部軸心處安裝有伺服電機,且伺服電機的輸出軸連接有攪拌槳葉。本發明通過將高溫污水呈U型路徑進行輸送,并且在外部的冷卻水流動的過程中,配合外部設置的分流隔板,能夠讓冷卻水最大程度的呈S型路徑流動換熱,從而可以大大提高換熱時間和換熱效率,并且在出水口安裝溫度傳感器進行實時溫度檢測反饋,當溫度不合格時,啟動輔熱組件進行加熱處理,可以最大程度提高出水溫度和節省能量,從而可以節省資源。

權利要求書
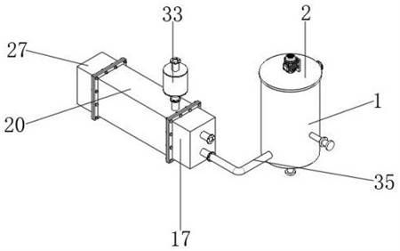
1.一種干熄焦鍋爐連續排污水冷卻系統,包括過濾罐體(1),其特征在于,所述過濾罐體(1)的內部設置有過濾組件,且過濾組件包括固定在過濾罐體(1)上的密封蓋板(2),所述密封蓋板(2)的頂部軸心處安裝有伺服電機(3),且伺服電機(3)的輸出軸連接有攪拌槳葉(4),所述過濾罐體(1)一側內壁頂部連通有進污管(5),且過濾罐體(1)的內壁依次設置有呈環形分布的第一支撐塊(6)和第二支撐塊(11),所述第一支撐塊(6)頂部設有第一環形卡板(7),且第一環形卡板(7)的內壁卡接有第一錐臺過濾網(8),所述第二支撐塊(11)的上方固定有第二環形卡板(12),且第二環形卡板(12)的內壁卡接安裝有第二錐臺過濾網(13);所述過濾罐體(1)的底部一側內壁設置有連通管(35),且連通管(35)遠離過濾罐體(1)的一端連通有換熱冷卻組件,所述換熱冷卻組件包括固定在連通管(35)上的進液管(16),且進液管(16)焊接在端部密封殼(17),所述端部密封殼(17)的頂部一側內壁連通有排液管(18),且端部密封殼(17)的一側通過緊固螺栓固定有矩形換熱殼(20);所述矩形換熱殼(20)的一側外壁通過螺栓固定有尾部密封殼(27),且尾部密封殼(27)的頂部和底部內壁均焊接有弧形導流板(28),所述矩形換熱殼(20)的底部一端內壁連通有進水管(30),且矩形換熱殼(20)的頂部一端連通有排水管(31),所述排水管(31)頂部設置有輔熱組件。
2.根據權利要求1所述的一種干熄焦鍋爐連續排污水冷卻系統,其特征在于,所述第一錐臺過濾網(8)位于第二錐臺過濾網(13)的正上方,且第一錐臺過濾網(8)的網孔直徑大于第二錐臺過濾網(13)的網孔直徑。
3.根據權利要求2所述的一種干熄焦鍋爐連續排污水冷卻系統,其特征在于,所述第一錐臺過濾網(8)的底部軸心處連通有第一排污管(9),且第一排污管(9)的末端固定有第一電控閥門(10)。
4.根據權利要求3所述的一種干熄焦鍋爐連續排污水冷卻系統,其特征在于,所述第二錐臺過濾網(13)的底部軸心處連通有第二排污管(14),且第二排污管(14)的底部連通有第二電控閥門(15)。
5.根據權利要求1所述的一種干熄焦鍋爐連續排污水冷卻系統,其特征在于,所述矩形換熱殼(20)的一端內壁開設有矩形卡槽(21),且矩形卡槽(21)的內壁卡接固定有第一密封卡板(22),所述第一密封卡板(22)的上方一側外壁連通有等距離分布的回流管(23),且密封卡板(22)的下方一側外壁連通有等距離分布的輸液管(24)。
6.根據權利要求5所述的一種干熄焦鍋爐連續排污水冷卻系統,其特征在于,所述端部密封殼(17)的中部內壁焊接有隔液板(19),且隔液板(19)的外壁設置有定位凸塊,所述第一密封卡板(22)的中部外壁開有定位凹槽,且定位凹槽的尺寸與定位凸塊的尺寸相適配。
7.根據權利要求6所述的一種干熄焦鍋爐連續排污水冷卻系統,其特征在于,所述矩形換熱殼(20)的一側內壁四角均焊接有限位塊(26),且回流管(23)和輸液管(24)的末端均連通在第二密封卡板(25)上,所述第二密封卡板(25)的外壁尺寸與矩形換熱殼(20)的內壁尺寸相適配。
8.根據權利要求7所述的一種干熄焦鍋爐連續排污水冷卻系統,其特征在于,所述回流管(23)和輸液管(24)的外壁上下交錯設置有等距離分布的分流隔板(29),且分流隔板(29)的長度尺寸與矩形換熱殼(20)的寬度尺寸相適配。
9.根據權利要求1所述的一種干熄焦鍋爐連續排污水冷卻系統,其特征在于,所述輔熱組件包括設置在排水管(31)內壁的溫度傳感器(32),且排水管(31)頂部連通有輔熱殼體(33),所述輔熱殼體(33)的四周內壁呈環形分布有等距離分布的電加熱絲(34)。
發明內容
本發明的目的是為了解決現有技術中存在的缺點,而提出的一種干熄焦鍋爐連續排污水冷卻系統。
為了實現上述目的,本發明采用了如下技術方案:一種干熄焦鍋爐連續排污水冷卻系統,包括過濾罐體,所述過濾罐體的內部設置有過濾組件,且過濾組件包括固定在過濾罐體上的密封蓋板,所述密封蓋板的頂部軸心處安裝有伺服電機,且伺服電機的輸出軸連接有攪拌槳葉,所述過濾罐體一側內壁頂部連通有進污管,且過濾罐體的內壁依次設置有呈環形分布的第一支撐塊和第二支撐塊,所述第一支撐塊頂部設有第一環形卡板,且第一環形卡板的內壁卡接有第一錐臺過濾網,所述第二支撐塊的上方固定有第二環形卡板,且第二環形卡板的內壁卡接安裝有第二錐臺過濾網;所述過濾罐體的底部一側內壁設置有連通管,且連通管遠離過濾罐體的一端連通有換熱冷卻組件,所述換熱冷卻組件包括固定在連通管上的進液管,且進液管焊接在端部密封殼,所述端部密封殼的頂部一側內壁連通有排液管,且端部密封殼的一側通過緊固螺栓固定有矩形換熱殼;所述矩形換熱殼的一側外壁通過螺栓固定有尾部密封殼,且尾部密封殼的頂部和底部內壁均焊接有弧形導流板,所述矩形換熱殼的底部一端內壁連通有進水管,且矩形換熱殼的頂部一端連通有排水管,所述排水管頂部設置有輔熱組件。
優選的,所述第一錐臺過濾網位于第二錐臺過濾網的正上方,且第一錐臺過濾網的網孔直徑大于第二錐臺過濾網的網孔直徑。
優選的,所述第一錐臺過濾網的底部軸心處連通有第一排污管,且第一排污管的末端固定有第一電控閥門。
優選的,所述第二錐臺過濾網的底部軸心處連通有第二排污管,且第二排污管的底部連通有第二電控閥門。
優選的,所述矩形換熱殼的一端內壁開設有矩形卡槽,且矩形卡槽的內壁卡接固定有第一密封卡板,所述第一密封卡板的上方一側外壁連通有等距離分布的回流管,且密封卡板的下方一側外壁連通有等距離分布的輸液管。
優選的,所述端部密封殼的中部內壁焊接有隔液板,且隔液板的外壁設置有定位凸塊,所述第一密封卡板的中部外壁開有定位凹槽,且定位凹槽的尺寸與定位凸塊的尺寸相適配。
優選的,所述矩形換熱殼的一側內壁四角均焊接有限位塊,且回流管和輸液管的末端均連通在第二密封卡板上,所述第二密封卡板的外壁尺寸與矩形換熱殼的內壁尺寸相適配。
優選的,所述回流管和輸液管的外壁上下交錯設置有等距離分布的分流隔板,且分流隔板的長度尺寸與矩形換熱殼的寬度尺寸相適配。
優選的,所述輔熱組件包括設置在排水管內壁的溫度傳感器,且排水管頂部連通有輔熱殼體,所述輔熱殼體的四周內壁呈環形分布有等距離分布的電加熱絲。
本發明的有益效果為:1、本設計的污水冷卻系統,通過采用干熄焦鍋爐給水系統中的除氧給水作為換熱器的冷卻水,將干熄焦鍋爐連續排污膨脹器中的排污水冷卻,減少了冷卻用工業水用量,并且冷卻后的連續排污水對定期排污水也有一定的降溫作用,而且能夠根據換熱器后鍋爐連續排污水的溫度來自動調節進入換熱器的除氧給水量,保證換熱后的溫度;2、本設計的污水冷卻系統,在換熱冷卻的過程中,通過將高溫污水進行雙重過濾攪拌處理,并利用離心力對沉積的雜質進行定時排出處理,而過濾后的污水長時間通入回流管和輸液管內部,可以較少內部水垢的堵塞,減少后期清理維護的工作量;3、本設計的污水冷卻系統,通過將高溫污水呈U型路徑進行輸送,并且在外部的冷卻水流動的過程中,配合外部設置的分流隔板,能夠讓冷卻水最大程度的呈S型路徑流動換熱,從而可以大大提高換熱時間和換熱效率,并且在出水口安裝溫度傳感器進行實時溫度檢測反饋,當溫度不合格時,啟動輔熱組件進行加熱處理,可以最大程度提高出水溫度和節省能量,從而可以節省資源。
(發明人:曹明濤;李樺;任眾)






