公布日:2024.02.27
申請日:2023.12.24
分類號:B01F27/192(2022.01)I;B01F27/112(2022.01)I;B01F27/90(2022.01)I;B01F27/92(2022.01)I;B01F35/71(2022.01)I;B01F35/93(2022.01)I;B01F35/90(2022.01)N
摘要
本發明公開了一種污水處理用加藥裝置,屬于污水處理技術領域。本發明罐體上下層的混合液與藥水進行充分混合,當混合液經進口排至罐體內時,水流可對受力板進行撞擊,受力板受力可配合轉動軸發生轉動,轉動軸的轉動可使得攪拌架轉動,攪拌架的可使得混合彈簧與加熱塊轉動,可使得混合液呈現水平轉動操作,轉動軸的轉動可使得連接板轉動,連接板的轉動可使得間斷環轉動,間斷環可對加藥口進行間歇式的阻擋,可使得藥水間歇式添加,有助于藥水與混合液的混合充分,其中儲液槽可對接納部分藥水,并經通口甩出,可進一步增加藥水與混合液的混合度,因此,可實現混合液和藥水混合充分的效果。

權利要求書
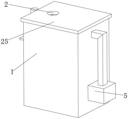
1.一種污水處理用加藥裝置,包括罐體(1),其特征在于,所述罐體(1)的頂部設置有加藥口(2),所述罐體(1)的一側外壁底部開設有抽口(3),所述罐體(1)的一側外壁頂部開設有進口(4),且進口(4)呈傾斜設置,所述罐體(1)的一側外壁底部固定連接有覆蓋于抽口(3)的抽泵(5),所述抽泵(5)的排液端固定連接有同一個輸液管(6),所述輸液管(6)與與進口(4)的內壁之間固定連接,所述進口(4)的兩端內壁均開設有流槽(7),所述罐體(1)的內壁開設有延伸至流槽(7)內的流口(8),所述罐體(1)內設置有混合機構。
2.根據權利要求1所述的一種污水處理用加藥裝置,其特征在于,所述混合機構包括與罐體(1)的底部內壁之間通過軸承轉動連接的轉動軸(15),所述轉動軸(15)的表面固定連接有若干均勻分布的受力板(16),所述受力板(16)呈傾斜設置,所述進口(4)的液體與受力板(16)之間相撞擊。
3.根據權利要求2所述的一種污水處理用加藥裝置,其特征在于,所述轉動軸(15)的兩側均固定連接有若干均勻分布的攪拌架(17),且攪拌架(17)呈口字型結構。
4.根據權利要求3所述的一種污水處理用加藥裝置,其特征在于,所述攪拌架(17)的頂部內壁和底部內壁均固定連接有混合彈簧(19),所述混合彈簧(19)的之間固定連接有同一個加熱塊(20)。
5.根據權利要求4所述的一種污水處理用加藥裝置,其特征在于,位于同一側的相鄰兩個所述攪拌架(17)之間設置有螺旋葉(18)。
6.根據權利要求5所述的一種污水處理用加藥裝置,其特征在于,所述螺旋葉(18)與轉動軸(15)之間固定連接,所述攪拌架(17)的一側外壁固定連接有刮板(21),且刮板(21)與罐體(1)的內壁相接觸。
7.根據權利要求5所述的一種污水處理用加藥裝置,其特征在于,所述罐體(1)的底部內壁通過軸承轉動連接有若干均勻分布的旋轉軸(22),所述旋轉軸(22)的表面固定連接有若干均勻分布的旋轉板(23),所述旋轉軸(22)與轉動軸(15)之間通過皮帶傳動連接。
8.根據權利要求7所述的一種污水處理用加藥裝置,其特征在于,所述轉動軸(15)的兩側頂部均固定連接有連接板(12),所述轉動軸(15)的表面設置有間斷環(9),所述間斷環(9)的底部內壁開設有與連接板(12)之間形成滑動配合的連接槽(10),所述連接槽(10)的頂部內壁和連接板(12)的頂部之間固定連接有同一個連接彈簧(11)。
9.根據權利要求8所述的一種污水處理用加藥裝置,其特征在于,所述間斷環(9)的頂部兩側均開設有儲液槽(13),所述儲液槽(13)的底部內壁開設有若干均勻分布的通口(14)。
10.根據權利要求1所述的一種污水處理用加藥裝置,其特征在于,所述罐體(1)的一側固定連接有電動伸縮桿(24),所述電動伸縮桿(24)的活塞桿固定連接有蓋板(25),所述加藥口(2)位于蓋板(25)上。
發明內容
本發明的目的是為了解決述罐體的內壁開設有延伸至流槽內的流口,所述罐體內設置有混合機構。
所述混合機構包括與罐體的底部內壁之間通過軸承轉動連接的轉動軸,所述轉動軸的表面固定連接有若干均勻分布的受力板,所述受力板呈傾斜設置,所述進口的液體與受力板之間相撞擊。
所述轉動軸的兩側均固定連接有若干均勻分布的攪拌架,且攪拌架呈口字型結構。
所述攪拌架的頂部內壁和底部內壁均固定連接有混合彈簧,所述混合彈簧的之間固定連接有同一個加熱塊。
位于同一側的相鄰兩個所述攪拌架之間設置有螺旋葉。
所述螺旋葉與轉動軸之間固定連接,所述攪拌架的一側外壁固定連接有刮板,且刮板與罐體的內壁相接觸。
所述罐體的底部內壁通過軸承轉動連接有若干均勻分布的旋轉軸,所述旋轉軸的表面固定連接有若干均勻分布的旋轉板,所述旋轉軸與轉動軸之間通過皮帶傳動連接。
所述轉動軸的兩側頂部均固定連接有連接板,所述轉動軸的表面設置有間斷環,所述間斷環的底部內壁開設有與連接板之間形成滑動配合的連接槽,所述連接槽的頂部內壁和連接板的頂部之間固定連接有同一個連接彈簧。
所述間斷環的頂部兩側均開設有儲液槽,所述儲液槽的底部內壁開設有若干均勻分布的通口。
所述罐體的一側固定連接有電動伸縮桿,所述電動伸縮桿的活塞桿固定連接有蓋板,所述加藥口位于蓋板上。
本發明的有益效果為:
1、該污水處理用加藥裝置,通過電動伸縮桿的活塞桿移動可使得蓋板上升,在污水進入罐體內后,將蓋板蓋在罐體的頂部并密封,經加藥口向罐體內添加藥水時,啟動抽泵,抽泵的抽水端可將罐體內的混合液經抽口抽出,經輸液管運輸至進口排至罐體內,可使得罐體上下層的混合液與藥水進行充分混合,當混合液經進口排至罐體內時,水流可對受力板進行撞擊,受力板受力可配合轉動軸發生轉動,轉動軸的轉動可使得攪拌架轉動,攪拌架的可使得混合彈簧與加熱塊轉動,可使得混合液呈現水平轉動操作,轉動軸的轉動可使得連接板轉動,連接板的轉動可使得間斷環轉動,間斷環可對加藥口進行間歇式的阻擋,可使得藥水間歇式添加,有助于藥水與混合液的混合充分,其中儲液槽可對接納部分藥水,并經通口甩出,可進一步增加藥水與混合液的混合度,因此,可實現混合液和藥水混合充分的效果。
2、該污水處理用加藥裝置,通過加熱塊能夠使得混合液升溫,有助于藥水與混合液的充分混合,其中混合彈簧的彈性形變可使得加熱塊晃動,可增加加熱塊與混合液之間的接觸面積,可進一步使得混合液與藥水充分混合,通過螺旋葉能夠使得位于上層和下層的混合液與藥水進行翻動式混合,可在轉動軸的轉動時螺旋葉發生轉動,此時可使得混合液與藥水充分混合。
3、該污水處理用加藥裝置,通過螺旋葉能夠使得位于上層和下層的混合液與藥水進行翻動式混合,可在轉動軸的轉動時螺旋葉發生轉動,此時可使得混合液與藥水充分混合操作,以便于配合抽泵的作用進行充分混合。
4、該污水處理用加藥裝置,通過間斷環能夠在轉動軸轉動時,連接板與連接槽的內壁之間發生個相對滑動,此時間斷環可進一步使得藥水進行分散,以與藥水進行充分的混合,其中連接彈簧可避免連接槽的內壁與連接板之間發生分離。
5、該污水處理用加藥裝置,通過儲液槽能夠對加藥口下落的藥水進行收集操作,然后在離心力的作用下和藥水的自身腫瘤作用下,藥水可經通口的內壁被甩出,可使得藥水與混合液混合充分。
(發明人:林民東;張永梅;祝華昌)






