公布日:2024.02.09
申請日:2023.12.07
分類號:C02F11/122(2019.01)I;C02F11/13(2019.01)I
摘要
本申請提供一種污水處理用污泥干化處理設備,屬于建筑施工技術另有,包括分離室和干化室,所述分離室和干化室相互連接,兩者連接處設有通口連通兩者內部;所述分離室上設有加泥口與其內部連通;分離室內部設有分離機構;所述分離機構包括濾板、液壓缸一和壓板,所述濾板設置在加泥口和通口下方,所述濾板上設有若干濾孔;所述液壓缸一設置在分離室頂部,壓板連接在液壓缸一的伸縮端上,壓板與分離室側壁相抵接觸;壓板右端設有可伸縮封堵裝置用于阻止通口導通;所述干化室內設有干化機構用于干化污泥;能先分離出污泥中大部分的水分再進行干化處理,并能循環利用熱能,提高了干化效率,節約了能耗,還能避免污泥堵塞和粘連。

權利要求書
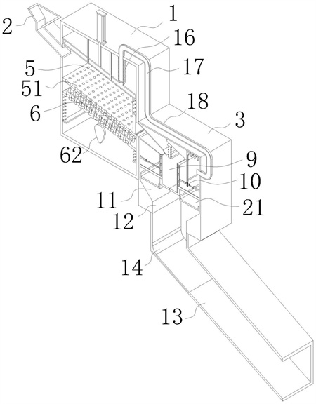
1.一種污水處理用污泥干化處理設備,其特征在于:包括分離室(1)和干化室(3),所述分離室(1)和干化室(3)相互連接,兩者連接處設有通口(4)連通兩者內部;所述分離室(1)上設有加泥口(2)與其內部連通;分離室(1)內部設有分離機構(5);所述分離機構(5)包括濾板(51)、液壓缸一(52)和壓板(53),所述濾板(51)設置在加泥口(2)和通口(4)下方,所述濾板(51)上設有若干濾孔;所述液壓缸一(52)設置在分離室(1)頂部,壓板(53)連接在液壓缸一(52)的伸縮端上,壓板(53)與分離室(1)側壁相抵接觸;壓板(53)右端設有可伸縮封堵裝置用于阻止通口(4)導通;所述干化室(3)內設有干化機構(9)用于干化污泥。
2.根據權利要求1所述的一種污水處理用污泥干化處理設備,其特征在于:所述可伸縮封堵裝置包括容納板(54),容納板(54)內滑動連接有擋板(56),容納板(54)內頂部和擋板(56)頂部之間連接有若干彈簧一(57);所述容納板(54)內底部設有限位板二(8),所述擋板(56)頂部和底部設有與限位板二(8)相匹配的限位板一(7);所述容納板(54)左側底端設有刮泥斜面(20)。
3.根據權利要求1所述的一種污水處理用污泥干化處理設備,其特征在于:所述干化機構(9)包括L型板一(93)、L型板二(94)和兩個定板(96);所述L型板一(93)和L型板二(94)分別連接在液壓缸二(91)和液壓缸三(92)的伸縮端上;所述液壓缸二(91)和液壓缸三(92)分別連接在干化室(3)內的左右側壁上;兩個定板(96)各連接有固定桿(95),固定桿(95)貫穿兩個L型板;兩個L型板前后側與干化室(3)的前后內壁相抵接觸,定板(96)覆蓋兩個L型板相對的表面,L型板的短板位于定板(96)下方并與定板(96)相抵接觸;兩個固定桿(95)分別連接在干化室(3)的左右側壁上;L型板一(93)和L型板二(94)內均設有內腔(97),內腔(97)內設有若干加熱棒(98)。
4.根據權利要求3所述的一種污水處理用污泥干化處理設備,其特征在于:所述干化室(3)內設有引導通道(99),所述引導通道(99)左端開口與通口(4)連通,右端開口位于兩個定板(96)之間的上方;引導通道(99)由左至右向下傾斜。
5.根據權利要求3所述的一種污水處理用污泥干化處理設備,其特征在于:所述干化室(3)內設有防粘連機構(10)包括連接板(100)、轉動板(102)、楔形塊(106)和若干疏通柱(109),所述連接板(100)連接在液壓缸三(92)伸縮端和L型板二(94)之間;連接板(100)上設有凹槽(101),凹槽(101)內通過鉸接柱(104)鉸接有轉動板(102),所述轉動板(102)設有與鉸接柱(104)相匹配的圓角矩形通孔(103);所述干化室(3)后側壁上轉動連接有轉桿(105),轉桿(105)位于L型板二(94)的右側,轉桿(105)連接在轉動板(102)上且與轉動板(102)垂直;轉動板(102)頂部連接有楔形塊(106),楔形塊(106)滑動連接在干化室(3)頂部,楔形塊(106)右端和干化室(3)右側壁之間連接有彈簧三(107);所述干化室(3)頂部設有支撐板(108),所述支撐板(108)位于兩個定板(96)之間的上方,支撐板(108)上貫穿活動連接有若干疏通柱(109),所述疏通柱(109)頂部設有設有半圓頭(1010),疏通柱(109)外套設有彈簧四(1011),彈簧四(1011)兩端分別連接在半圓頭(1010)底部和支撐板(108)頂部;所述半圓頭(1010)與楔形塊(106)相抵接觸。
6.根據權利要求3所述的一種污水處理用污泥干化處理設備,其特征在于:所述分離室3內左右兩側分別設有集水盒(21),所述集水盒(21)位于兩個L型板下方;左側集水盒(21)右頂部與L型板一(93)相抵接觸,右側集水盒(21)左頂部與L型板二(94)相抵接觸;左側集水盒(21)位于左側定板(96)的左側,右側集水盒(21)位于右側定位板(96)的右側;集水盒(21)底部設有排水管(22),排水管(22)貫穿干化室(3),排水管(22)位于干化室(3)外的部分設有閥門(23)。
7.根據權利要求1所述的一種污水處理用污泥干化處理設備,其特征在于:所述干化室(3)底部設有落孔(12),干化室(3)內部底端設有引導斜面(11)用于將干化后的污泥引導至落孔(12)處;所述干化室(3)底端設有泥塊通道(13),所述泥塊通道(13)與落孔(12)連通;泥塊通道(13)呈彎折狀,泥塊通道(13)內部在彎折處緩沖墊(14)。
8.根據權利要求1所述的一種污水處理用污泥干化處理設備,其特征在于:所述分離室(1)頂部設有若干導桿(19),所述導桿(19)貫穿壓板(53),滑動連接在壓板(53)上;當壓板(53)下降到最低高度時,導桿(19)仍與壓板(53)連接。
9.根據權利要求1所述的一種污水處理用污泥干化處理設備,其特征在于:所述分離室(1)內設有疏通機構(6),所述疏通機構(6)包括電機(60)、凸輪(62)和活動板(64),所述電機(60)連接在分離室(1)內壁上,電機(60)的輸出軸上連接有凸輪(62),所述凸輪(62)為三角形凸輪用于推動活動板(64)上下擺動;所述活動板(64)的左右兩端底部與分離室(1)底部之間均連接有若干彈簧二(65);活動板(64)底部與凸輪(62)相抵接觸;所述活動板(64)頂部設有若干與濾板(51)的濾孔相匹配的頂桿(66);所述活動板(64)上設有若干排水孔(67);所述分離室(1)底部設有開口。
10.根據權利要求1所述的一種污水處理用污泥干化處理設備,其特征在于:所述干化室(3)內設有導熱桿(17),所述導熱桿(17)依次貫穿干化室(3)和分離室(1)由分離室(1)頂部進入分離室(1)內,分離室(1)頂部設有與導熱桿(17)相匹配的保溫伸縮管(16),導熱桿(17)套裝在保溫伸縮管(16)內部;所述壓板(53)內部設有空腔(15),所述保溫伸縮管(16)與空腔(15)連通;導熱桿(17)位于分離室(1)和干化室(3)外的部分套裝由保溫管(18)。
發明內容
本發明的目的是為了解決背景技術中提及的問題,提供一種污水處理用污泥干化處理設備,能先分離出污泥中大部分的水分再進行干化處理,并能循環利用熱能,提高了干化效率,節約了能耗,還能避免污泥堵塞和粘連。
為實現上述技術目的,本發明采取的技術方案為:一種污水處理用污泥干化處理設備,包括分離室和干化室,所述分離室和干化室相互連接,兩者連接處設有通口連通兩者內部;所述分離室上設有加泥口與其內部連通;分離室內部設有分離機構;所述分離機構包括濾板、液壓缸一和壓板,所述濾板設置在加泥口和通口下方,所述濾板上設有若干濾孔;所述液壓缸一設置在分離室頂部,壓板連接在液壓缸一的伸縮端上,壓板與分離室側壁相抵接觸;壓板右端設有可伸縮封堵裝置用于阻止通口導通;所述干化室內設有干化機構用于干化污泥。
作為優選,所述可伸縮封堵裝置包括容納板,容納板內滑動連接有擋板,容納板內頂部和擋板頂部之間連接有若干彈簧一;所述容納板內底部設有限位板二,所述擋板頂部和底部設有與限位板二相匹配的限位板一;所述容納板左側底端設有刮泥斜面。
作為優選,所述干化機構包括L型板一、L型板二和兩個定板;所述L型板一和L型板二分別連接在液壓缸二和液壓缸三的伸縮端上;所述液壓缸二和液壓缸三分別連接在干化室內的左右側壁上;兩個定板各連接有固定桿,固定桿貫穿兩個L型板;兩個L型板前后側與干化室的前后內壁相抵接觸,定板覆蓋兩個L型板相對的表面,L型板的短板位于定板下方并與定板相抵接觸;兩個固定桿分別連接在干化室的左右側壁上;L型板一和L型板二內均設有內腔,內腔內設有若干加熱棒。
作為優選,所述干化室內設有引導通道,所述引導通道左端開口與通口連通,右端開口位于兩個定板之間的上方;引導通道由左至右向下傾斜。
作為優選,所述干化室內設有防粘連機構包括連接板、轉動板、楔形塊和若干疏通柱,所述連接板連接在液壓缸三伸縮端和L型板二之間;連接板上設有凹槽,凹槽內通過鉸接柱鉸接有轉動板,所述轉動板設有與鉸接柱相匹配的圓角矩形通孔;所述干化室后側壁上轉動連接有轉桿,轉桿位于L型板二的右側,轉桿連接在轉動板上且與轉動板垂直;轉動板頂部連接有楔形塊,楔形塊滑動連接在干化室頂部,楔形塊右端和干化室右側壁之間連接有彈簧三;所述干化室頂部設有支撐板,所述支撐板位于兩個定板之間的上方,支撐板上貫穿活動連接有若干疏通柱,所述疏通柱頂部設有設有半圓頭,疏通柱外套設有彈簧四,彈簧四兩端分別連接在半圓頭底部和支撐板頂部;所述半圓頭與楔形塊相抵接觸。
作為優選,所述分離室內左右兩側分別設有集水盒,所述集水盒位于兩個L型板下方;左側集水盒右頂部與L型板一相抵接觸,右側集水盒左頂部與L型板二相抵接觸;左側集水盒位于左側定板的左側,右側集水盒位于右側定位板的右側;集水盒底部設有排水管,排水管貫穿干化室,排水管位于干化室外的部分設有閥門。
作為優選,所述干化室底部設有落孔,干化室內部底端設有引導斜面用于將干化后的污泥引導至落孔處;所述干化室底端設有泥塊通道,所述泥塊通道與落孔連通;泥塊通道呈彎折狀,泥塊通道內部在彎折處緩沖墊。
作為優選,所述分離室頂部設有若干導桿,所述導桿貫穿壓板,滑動連接在壓板上;當壓板下降到最低高度時,導桿仍與壓板連接。
作為優選,所述分離室內設有疏通機構,所述疏通機構包括電機、凸輪和活動板,所述電機連接在分離室內壁上,電機的輸出軸上連接有凸輪,所述凸輪為三角形凸輪用于推動活動板上下擺動;所述活動板的左右兩端底部與分離室底部之間均連接有若干彈簧二;活動板底部與凸輪相抵接觸;所述活動板頂部設有若干與濾板的濾孔相匹配的頂桿;所述活動板上設有若干排水孔;所述分離室底部設有開口。
作為優選,所述干化室內設有導熱桿,所述導熱桿依次貫穿干化室和分離室由分離室頂部進入分離室內,分離室頂部設有與導熱桿相匹配的保溫伸縮管,導熱桿套裝在保溫伸縮管內部;所述壓板內部設有空腔,所述保溫伸縮管與空腔連通;導熱桿位于分離室和干化室外的部分套裝由保溫管。
本發明的有益效果是:1、本發明通過在干化室前設置分離室,在分離室內設置液壓缸一帶動壓板上下移動,通過壓板向下移動對加入分離室的污泥進行充分的擠壓,配合濾板對污泥中的水分進行以及分離,這樣能在污泥進入干化室前去除其內部的大部分水分,為后續的污泥干化提高了干化的速度,有利于提高干化效率,也節約了干化所需的能耗。
2、本發明通過電機的輸出軸帶動凸輪轉動,凸輪帶動活動板上下移,活動板在向上移動時,帶動頂桿上移,使得頂桿正好插入濾板的濾孔內,有利于將濾板濾孔內的污泥擠壓出,防止污泥堵塞濾板濾孔,從而降低濾板對污泥的分離效果,起到了疏通的作用,而后污水會通過排水孔落入分離室的底部,由分離室底部的開口流出。
3、本發明通過加熱棒接通電源,熱量通過L型板一和L型板二傳遞給定板,而后定板將熱量傳遞給污泥,污泥得到快速的干化,在干化后,液壓缸二和液壓缸三分別控制其伸縮端回縮,L型板一和L型板二相互遠離,此時干化后的污泥向下掉落,從而實現對污泥的干化處理,且當干化室進行干化時通過擋板對通口封閉,將分離室和干化室隔離開,有利于減小熱量的損失。
4、本發明通過液壓缸三的伸縮端帶動連接板向右側移動,連接板通過鉸接柱帶動轉動板圍繞轉桿轉動,轉桿的頂端在轉動時,會對楔形塊擠壓使得楔形塊向左移動,楔形塊的底端對半圓頭向下擠壓,半圓頭帶動疏通柱下移,彈簧四被壓縮,疏通柱下移時,會將干化后的污泥向下擠壓,防止干化的污泥粘連在定板上,從而影響后續污泥的干化。
5、本發明通過導熱桿能夠將干化過程中逸散出的熱量傳遞至保溫伸縮管內,而后熱量進入空腔內,壓板再將熱量傳遞給正在分離污水的污泥中,有利于減少對熱量的損失,提高熱量的使用率,加快污泥干化的速度。
(發明人:王逸之;朱旭東;徐文杰;陳維娜;田小敏)






