公布日:2023.09.01
申請日:2023.06.15
分類號:C02F9/00(2023.01)I;C02F1/00(2023.01)I;C02F1/469(2023.01)I;C02F101/34(2006.01)N;C02F103/38(2006.01)N
摘要
本申請涉及一種丙烯酸丁酯廢水的處理設備,包括依次相連過濾器、濃縮設備、以及陽離子膜裝置,所述陽離子膜裝置包括用于分離濃鹽水的滲析槽,所述滲析槽內設置有陽離子膜,所述滲析槽被陽離子膜分隔成陽極槽和陰極槽,所述滲析槽內設置有第一調節機構和第二調節機構,所述陽離子膜通過第一調節機構和第二調節機構與滲析槽滑動相連;所述第一調節機構與第二調節機構交錯間隔與陽離子膜相連,所述陽離子膜通過第一調節機構和第二調節機構可以調整為3個階段。本申請具有提高丙烯酸丁酯廢水設備處理廢水的效率的效果。

權利要求書
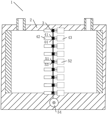
1.一種丙烯酸丁酯廢水的處理設備,包括依次相連的用于過濾丙烯酸丁酯廢水的過濾器、對過濾后的廢水進行脫鹽濃縮的濃縮設備、以及對脫鹽處理后得到的濃鹽水進行電驅動分離的陽離子膜裝置,其特征在于,所述陽離子膜裝置包括用于分離濃鹽水的滲析槽,所述滲析槽內設置有陽離子膜,所述滲析槽被陽離子膜分隔成陽極槽和陰極槽,所述滲析槽內設置有第一調節機構和第二調節機構,所述陽離子膜通過第一調節機構和第二調節機構與滲析槽滑動相連;所述第一調節機構與第二調節機構交錯間隔與陽離子膜相連,所述陽離子膜通過第一調節機構和第二調節機構可以調整為3個階段:a階段:第一調節機構固定,第二調節機構向陽極槽的方向移動,使得陽離子膜從初始的平整狀態調節為向陽極槽一側凸起的波浪狀;b階段:第二調節機構固定,第一調節機構向陽極槽的方向移動,使得陽離子膜從波浪狀調節為遠離初始位置的平整狀態;c階段:第一調節機構和第二調節機構同時向陰極槽的方向移動,使得陽離子膜回到初始的平整狀態;所述第一調節機構包括多個第一調節桿,所述滲析槽的槽底開設有滑動槽,所述第一調節桿與滑動槽滑動配合,所述滑動槽內設置有用于控制第一調節桿在滑動槽內移動的第一驅動件,所述第一調節桿上開設有用于陽離子膜滑動穿設的第一導向孔;所述第二調節機構包括多個第二調節桿,所述滲析槽的槽底開設由滑動槽,所述第二調節桿與滑動槽滑動配合,所述滑動槽內設置有用于控制第二調節桿在滑動槽內移動的第二驅動件,所述第二調節桿上開設有用于陽離子膜滑動穿設的第二導向孔;所述陽離子膜一端與位于滲析槽一側側壁上的第二調節桿固定相連,所述滲析槽另一側側壁上的第二調節桿上設置有用于卷繞陽離子膜的驅動裝置,所述陽離子膜的另一端與驅動裝置相連;所述陽離子膜包括中心交換膜、在中心交換膜兩側分別依次設置的篩網層和無紡布層,所述中心交換膜、篩網層和無紡布層通過粘接劑粘結。
2.根據權利要求1所述的一種丙烯酸丁酯廢水的處理設備,其特征在于,所述陽離子膜設置有多個。
3.根據權利要求1所述的一種丙烯酸丁酯廢水的處理設備,其特征在于,所述陽離子膜靠近支撐膜的一側和遠離所述支撐膜的一側均設置有一層篩網,兩層所述篩網與陽離子膜緊密貼合。
4.根據權利要求1所述的一種丙烯酸丁酯廢水的處理設備,其特征在于,所述粘接劑包括以下重量分數的組分制備得到:鹽酸多巴胺30~40份;緩沖液500~1000份;過硫酸銨30~40份。
5.根據權利要求4所述的一種丙烯酸丁酯廢水的處理設備,其特征在于,所述粘接劑中還包括有10~30份的聚乙烯酰胺。
6.根據權利要求5所述的一種丙烯酸丁酯廢水的處理設備,其特征在于,所述陽離子膜的制備方法包括以下步驟:步驟1:準備中心交換膜、篩網和無紡布;步驟2:將粘接劑配制成粘接劑溶液,并涂覆在中心交換膜的一側和其中一張無紡布的一側,將中心交換膜、篩網和無紡布依次貼合在一起;步驟3:將中心交換膜已經貼合無紡布的一面浸沒在粘接劑稀釋液中,浸泡4~6h,取出沖洗干凈,得到一側粘接無紡布的中心交換膜;步驟4:將中心交換膜未粘接無紡布的一側與另一張無紡布的一側涂覆粘接劑溶液,并將中心交換膜、篩網和無紡布依次貼合在一起;步驟5:將中心交換膜與無紡布貼合的一面浸沒在粘接劑稀釋液中,浸泡4~6h,取出沖洗干凈,烘干。
7.根據權利要求6所述的一種丙烯酸丁酯廢水的處理設備,其特征在于,所述無紡布經過預處理,所述預處理為將低電阻無紡布浸漬在預處理液中后1~3h后,烘干;其中預處理液為0.1~0.5wt%的海藻酸鈉水溶液和與海藻酸鈉水溶液質量比為1∶20~50的羧基化多壁碳納米管。
8.根據權利要求1所述的一種丙烯酸丁酯廢水的處理設備,其特征在于,所述陽離子膜的厚度為100~300um。
發明內容
為了更好地有效利用和處理丙烯酸丁酯廢水,本申請提供一種丙烯酸丁酯廢水的處理設備。
一種丙烯酸丁酯廢水的處理設備,包括依次相連的用于過濾丙烯酸丁酯廢水的過濾器、對過濾后的廢水進行脫鹽濃縮的濃縮設備、以及對脫鹽處理后得到的濃鹽水進行電驅動分離的陽離子膜裝置,所述陽離子膜裝置包括用于分離濃鹽水的滲析槽,所述滲析槽內設置有陽離子膜,所述滲析槽被陽離子膜分隔成陽極槽和陰極槽,所述滲析槽內設置有第一調節機構和第二調節機構,所述陽離子膜通過第一調節機構和第二調節機構與滲析槽滑動相連;
所述第一調節機構與第二調節機構交錯間隔與陽離子膜相連,所述陽離子膜通過第一調節機構和第二調節機構可以調整為3個階段:
a階段:第一調節機構固定,第二調節機構向陽極槽的方向移動,使得陽離子膜從初始的平整狀態調節為向陽極槽一側凸起的波浪狀;
b階段:第二調節機構固定,第一調節機構向陽極槽的方向移動,使得陽離子膜從波浪狀調節為遠離初始位置的平整狀態;
c階段:第一調節機構和第二調節機構同時向陰極槽的方向移動,使得陽離子膜回到初始的平整狀態。
丙烯酸丁酯的生產廢水主要有兩部分來源,一是來源于正丁醇和丙烯酸發生酯化反應生成丙烯酸丁酯的同時生成的廢水,二是來源于中和塔,粗酯中殘留的酸性催化劑、丙烯酸和阻聚劑在中和塔中進行中和洗滌產生的廢水。這些廢水組成復雜,對甲苯磺酸鈉和丙烯酸鈉為主要污染物。本發明的丙烯酸丁酯廢水處理設備先通過過濾器將廢水中一些固體雜質去除,使得廢水中主要殘留甲苯磺酸鈉和丙烯酸鈉,隨后通過濃縮設備將廢水濃縮成濃鹽水以供給下一步的陽離子膜裝置有效快速地分離出丙烯酸和氫氧化鈉進行回收。
其次,本發明中的陽離子膜裝置陽極槽用于注入濃縮后的廢水,而陰極槽用于注入脫鹽水。當啟動電源后,處于陽極槽內的鈉離子會經過陽離子膜進入陰極槽內,而不允許水中的氫氧根和丙烯酸根離子等通過交換,這樣可以使兩極產物隔離,達到分別回收丙烯酸以及氫氧化鈉的效果。
本發明中的陽離子膜裝置中的陽極膜通過控制其周期性進行a階段、b階段和c階段的變換,使得鈉離子的過膜效率得到大幅度提高。陽離子膜在初始狀態下維持一段時間后,鈉離子在電驅動力和濃差驅動力的作用下,從陽極槽一側向陰極槽一側移動,陽離子膜靠近陰極槽一側的鈉離子濃度逐步增高。隨后,通過第一調節機構和第二調節機構控制陽離子膜進入a階段,陽離子膜向陽極槽一側凸起形成波浪狀;陽離子膜在a階段中,擴大了陰極槽的容積,而且凸起部位的陽離子膜的移動,相當于加速了陽極槽一側的鈉離子的穿過陽離子膜的速度,因此a階段間接地提高了鈉離子的過膜速度。當陽離子膜呈波浪狀后,陽離子膜的表面積增大,鈉離子在相同的電驅動力下,在單位時間內可以通過更多的鈉離子進入陰極槽一側;因此,維持陽離子膜波浪狀一段時間后,陽離子膜靠近陰極槽一側的鈉離子濃度明顯增高。接著,陽離子膜進入b階段,陽離子膜又恢復平整狀,但是陽離子膜的位置與初始位置相比發生改變。此時,陽離子膜更靠近陽極槽,而且由于從波浪狀調節呈平整狀是通過控制原本固定的第二調節機構移動達到,因此陽離子膜靠近陰極槽一側的較高濃度的鈉離子可以更快地在陰極槽內擴散開。而且,此時,陽離子膜的表面積又與初始位置的陽離子膜的表面積相同,因此陽離子的過膜通量下降,更有助于陽離子膜靠近陰極槽一側的鈉離子的擴散。維持一段時間后,進入c階段,使得陽離子膜緩慢回到初始位置。從而完成一次循環。
通過周期性的a階段、b階段和c階段的控制,使得鈉離子的過膜效率得到較大程度的提高,從而提高了廢水的處理效率。
進一步的,所述第一調節機構包括多個第一調節桿,所述滲析槽的槽底開設由滑動槽,所述第一調節桿與滑動槽滑動配合,所述滑動槽內設置有用于控制第一調節桿在滑動槽內移動的第一驅動件,所述第一調節桿上開設有用于陽離子膜滑動穿設的第一導向孔;所述第二調節機構包括多個第二調節桿,所述滲析槽的槽底開設由滑動槽,所述第二調節桿與滑動槽滑動配合,所述滑動槽內設置有用于控制第二調節桿在滑動槽內移動的第二驅動件,所述第二調節桿上開設有用于陽離子膜滑動穿設的第二導向孔;
所述陽離子膜一端與位于滲析槽一側側壁上的第二調節桿固定相連,所述滲析槽另一側側壁上的第二調節桿上設置有用于卷繞陽離子膜的驅動裝置,所述陽離子膜的另一端與驅動裝置相連。
第一調節件和第二調節件可以分別驅動,而陽離子膜的兩端固定在第二調節件的第二調劑桿上,因此當第二調節件停止時,陽離子膜的位置不會移動。此時,通過第一調節件驅動陽離子膜移動,可以使得陽離子膜形成波浪狀,也就是進入a階段。而當第一調節桿移動至遠離初始位置的時候,控制第一調節桿不動,第二調節桿移動,使得陽離子膜進入b階段,最終到達遠離初始位置的平整狀態。最后,通過控制第一調節桿和第二調節桿同時移動,使得陽離子膜回到初始位置。
進一步的,所述陽離子膜設置有多個。
多個陽離子膜可以組成多個滲析槽單元,從而提高鈉離子過濾效率。
進一步的,所述陽離子膜靠近所述支撐膜的一側和遠離所述支撐膜的一側均設置有一層篩網,兩層所述篩網與陽離子膜緊密貼合。
在陽離子膜的兩側分別設置一層篩網有助于提高陽離子膜的強度,避免其在被拉力作用時而容易發生變形。其次,篩網具有一定的導向作用,可以在陽離子膜切換狀態的時候,使溶液對陽離子膜的作用更好地分散在膜表面,不易對膜局部發生較大的影響。
進一步的,所述陽離子膜包括中心交換膜、在中心交換膜兩側分別依次設置的篩網層和無紡布層,所述中心交換膜、篩網層和無紡布層通過粘接劑粘結。
進一步的,所述粘接劑包括以下重量分數的組分制備得到:
鹽酸多巴胺30~40份;
緩沖液500~1000份;
過硫酸銨30~40份。
鹽酸多巴胺中含有DOPA(多巴)基團,DOPA基團對于多種表面都具有粘附性能。DOPA是一種很容易被氧化的基團,DOPA氧化后會生成鄰位二醌,這種結構非常不穩定會和羥基、氨基或巰基上的活潑氫反應,也可以與相同結構的鄰位二醌基團或者DOPA基團進行化學反應形成復雜的化學鍵合。因此,鹽酸多巴胺可以較好地附著于陽離子交換膜和低電阻無紡布表面,而且多巴胺在氧化自聚合后會形成聚多巴胺,從而將低電阻無紡布和陽離子交換膜緊密結合在一起。并且聚多巴胺由于含有較多的羥基和氨基親水性基團,因此粘結劑不會使得陽離子交換膜發生通透性不好的問題,反而可以在一定程度上提高陽離子膜的流通效率。
進一步的,所述粘接劑中還包括有10~30份的聚乙烯酰胺。
聚丙烯酰胺可以加速聚多巴胺的沉積過程,使得陽離子交換膜和低電阻無紡布之間的粘結過程更加快速。其次,聚乙烯酰胺與聚多巴胺之間會發生邁克爾加成反應,形成聚多巴胺和聚乙烯酰胺交聯體系,提高粘結的強度和穩定性。而且,聚丙烯酰胺可以降低聚多巴胺自身的聚合過程,使得粘結區域更加緊密,使得陽離子交換膜和低電阻無紡布之間的結合更加牢固。
進一步的,所述陽離子膜的制備方法包括以下步驟:
步驟1:準備中心交換膜、篩網和無紡布;
步驟2:將粘接劑配制成粘接劑溶液,并涂覆在中心交換膜的一側和其中一張無紡布的一側,將中心交換膜、篩網和無紡布依次貼合在一起;
步驟3:將中心交換膜已經貼合無紡布的一面浸沒在粘接劑稀釋液中,浸泡4~6h,取出沖洗干凈,得到一側粘接無紡布的中心交換膜;
步驟4:將中心交換膜未粘接無紡布的一側與另一張無紡布的一側涂覆粘接劑溶液,并將中心交換膜、篩網和無紡布依次貼合在一起;
步驟5:將中心交換膜與無紡布貼合的一面浸沒在粘接劑稀釋液中,浸泡4~6h,取出沖洗干凈,烘干。
進一步的,所述無紡布經過預處理,所述預處理為將低電阻無紡布浸漬在預處理液中后1~3h后,烘干;其中預處理液為0.1~0.5wt%的海藻酸鈉水溶液和與海藻酸鈉水溶液質量比為1∶20~50的羧基化多壁碳納米管。
海藻酸鈉浸漬后的低電阻無紡布在烘干后,無紡布的表面的致密度更高,機械強度更高。而且表面更加平整光滑。低電阻無紡布的復合大大降低了陽離子膜的電阻率,提高了導電能力,從而提高陽離子膜的陽離子交換能力。
進一步的,所述陽離子膜的厚度為100~300um。
綜上所述,本發明具有以下效果:
1、本發明中的陽離子膜裝置通過控制陽極膜周期性進行a階段、b階段和c階段的變換,使得鈉離子的過膜效率得到大幅度提高,提高了廢水的處理效率。
2、通過無紡布、篩網和中心交換膜配合粘結劑得到復合的陽離子膜,提高陽離子交換膜的韌性、強度和導電性,使得鈉離子更加容易通過陽離子膜,提高了離子交換效率。
(發明人:陳其利)






