公布日:2024.02.02
申請日:2023.10.19
分類號:C02F9/00(2023.01)I;C02F1/00(2023.01)N;C02F1/28(2023.01)N;C02F1/32(2023.01)N;C02F103/20(2006.01)N
摘要
本發明涉及牛蛙養殖領域,具體為一種牛蛙養殖用污水處理凈化裝置及方法,包括設置在主殼體前側的前頂殼和前底殼,還包括過濾網板和活性炭網板;本發明替代了傳統靜置的平面過濾網,使用動態的過濾網板和活性炭網板能夠加快污水的處理凈化速率,且能夠防止污水中的雜質集中堆積而造成堵塞,顯著提高了對牛蛙養殖污水的處理效率,能夠避免污水中的大顆粒雜質堵塞在主抽水管的內部,無需對主抽水管內部進行多次清理,減少了污水處理的工作時長,提高了裝置的工作效率,也提高了污水的進水效率,并具有便捷的分步拆卸功能,有利于對過濾網板和活性炭網板進行清理和維護,以確保過濾網板和活性炭網板的使用壽命。

權利要求書
1.一種牛蛙養殖用污水處理凈化裝置,包括設置在主殼體(1)前側的前頂殼(2)和前底殼(3),其特征在于,還包括過濾網板(18)和活性炭網板(24),所述過濾網板(18)的兩側分別設置有第一上轉動盤(16)和第二上轉動盤(17),所述活性炭網板(24)的兩側分別設置有第一下轉動盤(22)和第二下轉動盤(23),所述第一上轉動盤(16)遠離過濾網板(18)的一側中間位置卡固連接有第二轉軸(20),所述活性炭網板(24)的內部中間位置貫穿設置有從動管軸(25),所述從動管軸(25)的外側面靠近中間位置貫穿開設有管孔(29),所述過濾網板(18)和活性炭網板(24)的截面形狀均呈圓形。
2.根據權利要求1所述的一種牛蛙養殖用污水處理凈化裝置,其特征在于:所述前頂殼(2)位于前底殼(3)的上側,且過濾網板(18)和活性炭網板(24)分別位于前頂殼(2)和前底殼(3)的內側,所述主殼體(1)的外側面靠近頂部固定安裝有驅動電機(19),且第二轉軸(20)固定連接在驅動電機(19)的輸出端,所述第二上轉動盤(17)的外側面中間位置固定安裝有輔助環板(21),且輔助環板(21)與前頂殼(2)轉動連接,所述第一上轉動盤(16)通過第二轉軸(20)轉動安裝在主殼體(1)的內部,所述第一下轉動盤(22)和第二下轉動盤(23)的中間位置均貫穿開設有軸孔(45),且從動管軸(25)貫穿兩組軸孔(45)與主殼體(1)和前底殼(3)轉動連接。
3.根據權利要求2所述的一種牛蛙養殖用污水處理凈化裝置,其特征在于:所述第二轉軸(20)的外側面固定套接有主動齒輪(26),所述從動管軸(25)的外側面靠近一端固定套接有從動齒輪(27),所述主殼體(1)的外側面中間位置開設有凹槽,且凹槽的內部設置有內鋸齒帶(28),所述主動齒輪(26)和從動齒輪(27)分別通過第二轉軸(20)和從動管軸(25)活動安裝在凹槽的內部,且主動齒輪(26)和從動齒輪(27)均與內鋸齒帶(28)嚙合安裝。
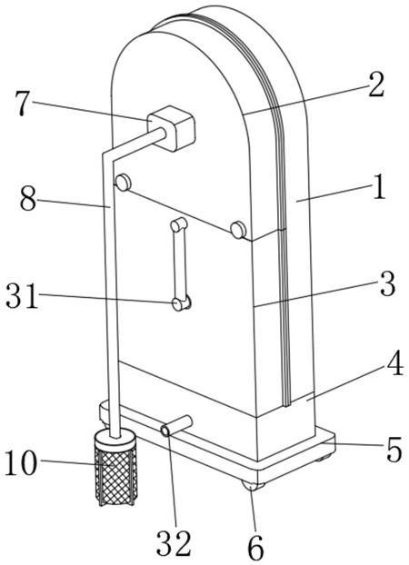
4.根據權利要求1所述的一種牛蛙養殖用污水處理凈化裝置,其特征在于:所述主殼體(1)的下側固定安裝有排水槽殼(4),所述排水槽殼(4)的前側底部貫穿設置有出水管(32),所述排水槽殼(4)的下側設置有承載底板(5),所述承載底板(5)的下表面靠近邊角位置均轉動安裝有滾動輪(6),所述承載底板(5)的下側設置有四組卡環(51),所述排水槽殼(4)的下表面靠近邊角位置均固定連接有卡桿,且四組卡桿分別與四組卡環(51)相卡接,所述前頂殼(2)的外側面中間位置固定安裝有增壓泵(7),所述增壓泵(7)的進水口固定連接有主抽水管(8),所述主抽水管(8)的下端固定連接有連接盤(9),所述連接盤(9)的下側設置有過濾網筒(10),所述增壓泵(7)的出水口固定連接有排水管(15),所述主殼體(1)的內部靠近中間位置卡固連接有擋水板(30),所述前底殼(3)的外側面靠近頂部設置有導水管(31)。
5.根據權利要求4所述的一種牛蛙養殖用污水處理凈化裝置,其特征在于:所述主抽水管(8)設計為伸縮管,所述導水管(31)的兩端分別位于擋水板(30)的兩側,所述過濾網筒(10)的上端固定連接有內螺紋環板(11),且內螺紋環板(11)與連接盤(9)螺紋連接,所述過濾網筒(10)的內底面中間位置固定安裝有微型電機(12),所述微型電機(12)的輸出端固定連接有貫穿過濾網筒(10)的第一轉軸(13),所述第一轉軸(13)的外側面靠近底端固定連接有四組外刮桿(14),四組所述外刮桿(14)的形狀均呈L型設置,且四組外刮桿(14)均與過濾網筒(10)的外側面相貼合,四組所述外刮桿(14)等間距分布在第一轉軸(13)的外側,所述排水管(15)位于輔助環板(21)的內側。
6.根據權利要求2所述的一種牛蛙養殖用污水處理凈化裝置,其特征在于:所述前頂殼(2)的內側頂部固定連接有插接桿(33),所述主殼體(1)的內側頂部開設有插接槽(34),且插接桿(33)位于插接槽(34)的內側,所述前頂殼(2)的外側面靠近底部邊角位置均貫穿設置有第一卡固螺桿(35),所述主殼體(1)的內部靠近兩側中間位置均固定連接有第一內螺紋柱(36),且兩組第一卡固螺桿(35)分別穿過前頂殼(2)與兩組第一內螺紋柱(36)螺紋連接,所述前頂殼(2)的外圍固定連接有第一密封條(37),所述主殼體(1)的外圍頂部固定連接有第二密封條(38),且第一密封條(37)和第二密封條(38)緊密連接。
7.根據權利要求2所述的一種牛蛙養殖用污水處理凈化裝置,其特征在于:所述前底殼(3)的內部靠近邊角位置均固定連接有第二內螺紋柱(39),所述主殼體(1)的外側面靠近底部貫穿設置有四組第二卡固螺桿(40),且四組第二卡固螺桿(40)分別穿過主殼體(1)與四組第二內螺紋柱(39)螺紋連接,所述前底殼(3)的兩側面均固定連接有第三密封條(41),所述主殼體(1)的兩側面靠近底部均固定連接有第四密封條(42),且第三密封條(41)和第四密封條(42)緊密連接。
8.根據權利要求1所述的一種牛蛙養殖用污水處理凈化裝置,其特征在于:所述第一上轉動盤(16)的內側面靠近邊緣位置固定連接有四組連接槽柱(44),所述第二上轉動盤(17)的內側面靠近邊緣位置固定連接有四組第一連接桿(43),且四組第一連接桿(43)分別與四組連接槽柱(44)滑動連接,軸孔(45)的內側壁開設有四組卡槽(46),所述從動管軸(25)的外側面靠近兩側均固定連接有四組卡條(47),且卡條(47)位于卡槽(46)的內部,所述活性炭網板(24)的兩端均固定連接有四組第二連接桿(48),所述第一下轉動盤(22)和第二下轉動盤(23)的相對面靠近邊緣位置均貫穿開設有連接孔(49),且第二連接桿(48)位于連接孔(49)的內部,所述第二下轉動盤(23)的內側面等間距卡接有四組紫外燈管(50)。
9.一種牛蛙養殖用污水處理凈化方法,其特征在于:該處理凈化方法具體步驟如下:步驟一:通過設計為伸縮管的主抽水管(8)將過濾網筒(10)置于牛蛙養殖污水中,再啟動前頂殼(2)外側的增壓泵(7),經由主抽水管(8)和排水管(15)配合過濾網筒(10)將過濾掉大顆粒雜質的污水抽入到過濾網板(18)的內側,以完成對牛蛙養殖污水的進水過程;步驟二:通過啟動主殼體(1)外側面的驅動電機(19),以帶動第二轉軸(20)進行旋轉,從而帶動第一上轉動盤(16)進行旋轉,進而在輔助環板(21)和前頂殼(2)的配合下使得第二上轉動盤(17)和過濾網板(18)一同旋轉,以進一步對污水中的小顆粒雜質進行快速過濾處理;步驟三:通過導水管(31)將擋水板(30)上側的過濾水導入到活性炭網板(24)的內側,再通過從動管軸(25)帶動第一下轉動盤(22)和第二下轉動盤(23)一同旋轉,從而使得活性炭網板(24)得以旋轉,并配合四組紫外燈管(50)得以對過濾水進行除味殺菌處理,以完成污水處理凈化過程。
發明內容
針對現有技術的不足,本發明提供了一種牛蛙養殖用污水處理凈化裝置及方法,解決了上述背景技術中提出的現有的牛蛙養殖用污水處理凈化裝置在使用時還存在一定的缺陷,其通常采用靜置的平面過濾網,使得雜質容易堆積堵塞在過濾網上,從而使得裝置對污水的過濾處理速率較慢,極大地降低了污水處理效率的技術問題。
為實現上述目的,本發明提供如下技術方案:
一種牛蛙養殖用污水處理凈化裝置,包括設置在主殼體前側的前頂殼和前底殼,還包括過濾網板和活性炭網板,所述過濾網板的兩側分別設置有第一上轉動盤和第二上轉動盤,所述活性炭網板的兩側分別設置有第一下轉動盤和第二下轉動盤,所述第一上轉動盤遠離過濾網板的一側中間位置卡固連接有第二轉軸,所述活性炭網板的內部中間位置貫穿設置有從動管軸,所述從動管軸的外側面靠近中間位置貫穿開設有管孔,所述過濾網板和活性炭網板的截面形狀均呈圓形。
作為本發明的進一步方案,所述前頂殼位于前底殼的上側,且過濾網板和活性炭網板分別位于前頂殼和前底殼的內側,所述主殼體的外側面靠近頂部固定安裝有驅動電機,且第二轉軸固定連接在驅動電機的輸出端,所述第二上轉動盤的外側面中間位置固定安裝有輔助環板,且輔助環板與前頂殼轉動連接,所述第一上轉動盤通過第二轉軸轉動安裝在主殼體的內部,所述第一下轉動盤和第二下轉動盤的中間位置均貫穿開設有軸孔,且從動管軸貫穿兩組軸孔與主殼體和前底殼轉動連接。
作為本發明的進一步方案,所述第二轉軸的外側面固定套接有主動齒輪,所述從動管軸的外側面靠近一端固定套接有從動齒輪,所述主殼體的外側面中間位置開設有凹槽,且凹槽的內部設置有內鋸齒帶,所述主動齒輪和從動齒輪分別通過第二轉軸和從動管軸活動安裝在凹槽的內部,且主動齒輪和從動齒輪均與內鋸齒帶嚙合安裝。
作為本發明的進一步方案,所述主殼體的下側固定安裝有排水槽殼,所述排水槽殼的前側底部貫穿設置有出水管,所述排水槽殼的下側設置有承載底板,所述承載底板的下表面靠近邊角位置均轉動安裝有滾動輪,所述承載底板的下側設置有四組卡環,所述排水槽殼的下表面靠近邊角位置均固定連接有卡桿,且四組卡桿分別與四組卡環相卡接,所述前頂殼的外側面中間位置固定安裝有增壓泵,所述增壓泵的進水口固定連接有主抽水管,所述主抽水管的下端固定連接有連接盤,所述連接盤的下側設置有過濾網筒,所述增壓泵的出水口固定連接有排水管,所述主殼體的內部靠近中間位置卡固連接有擋水板,所述前底殼的外側面靠近頂部設置有導水管。
作為本發明的進一步方案,所述主抽水管設計為伸縮管,所述導水管的兩端分別位于擋水板的兩側,所述過濾網筒的上端固定連接有內螺紋環板,且內螺紋環板與連接盤螺紋連接,所述過濾網筒的內底面中間位置固定安裝有微型電機,所述微型電機的輸出端固定連接有貫穿過濾網筒的第一轉軸,所述第一轉軸的外側面靠近底端固定連接有四組外刮桿,四組所述外刮桿的形狀均呈L型設置,且四組外刮桿均與過濾網筒的外側面相貼合,四組所述外刮桿等間距分布在第一轉軸的外側,所述排水管位于輔助環板的內側。
作為本發明的進一步方案,所述前頂殼的內側頂部固定連接有插接桿,所述主殼體的內側頂部開設有插接槽,且插接桿位于插接槽的內側,所述前頂殼的外側面靠近底部邊角位置均貫穿設置有第一卡固螺桿,所述主殼體的內部靠近兩側中間位置均固定連接有第一內螺紋柱,且兩組第一卡固螺桿分別穿過前頂殼與兩組第一內螺紋柱螺紋連接,所述前頂殼的外圍固定連接有第一密封條,所述主殼體的外圍頂部固定連接有第二密封條,且第一密封條和第二密封條緊密連接。
作為本發明的進一步方案,所述前底殼的內部靠近邊角位置均固定連接有第二內螺紋柱,所述主殼體的外側面靠近底部貫穿設置有四組第二卡固螺桿,且四組第二卡固螺桿分別穿過主殼體與四組第二內螺紋柱螺紋連接,所述前底殼的兩側面均固定連接有第三密封條,所述主殼體的兩側面靠近底部均固定連接有第四密封條,且第三密封條和第四密封條緊密連接。
作為本發明的進一步方案,所述第一上轉動盤的內側面靠近邊緣位置固定連接有四組連接槽柱,所述第二上轉動盤的內側面靠近邊緣位置固定連接有四組第一連接桿,且四組第一連接桿分別與四組連接槽柱滑動連接,軸孔的內側壁開設有四組卡槽,所述從動管軸的外側面靠近兩側均固定連接有四組卡條,且卡條位于卡槽的內部,所述活性炭網板的兩端均固定連接有四組第二連接桿,所述第一下轉動盤和第二下轉動盤的相對面靠近邊緣位置均貫穿開設有連接孔,且第二連接桿位于連接孔的內部,所述第二下轉動盤的內側面等間距卡接有四組紫外燈管。
一種牛蛙養殖用污水處理凈化方法,該處理凈化方法具體步驟如下:
步驟一:通過設計為伸縮管的主抽水管將過濾網筒置于牛蛙養殖污水中,再啟動前頂殼外側的增壓泵,經由主抽水管和排水管配合過濾網筒將過濾掉大顆粒雜質的污水抽入到過濾網板的內側,以完成對牛蛙養殖污水的進水過程;
步驟二:通過啟動主殼體外側面的驅動電機,以帶動第二轉軸進行旋轉,從而帶動第一上轉動盤進行旋轉,進而在輔助環板和前頂殼的配合下使得第二上轉動盤和過濾網板一同旋轉,以進一步對污水中的小顆粒雜質進行快速過濾處理;
步驟三:通過導水管將擋水板上側的過濾水導入到活性炭網板的內側,再通過從動管軸帶動第一下轉動盤和第二下轉動盤一同旋轉,從而使得活性炭網板得以旋轉,并配合四組紫外燈管得以對過濾水進行除味殺菌處理,以完成污水處理凈化過程。
與現有技術相比,本發明的有益效果為:
1、通過啟動主殼體外側面的驅動電機,以帶動第二轉軸進行旋轉,從而帶動第一上轉動盤進行旋轉,進而在輔助環板和前頂殼的配合下帶動第二上轉動盤和過濾網板一同旋轉,同時第二轉軸的旋轉得以帶動主動齒輪進行旋轉,從而在內鋸齒帶和從動齒輪的配合下帶動從動管軸進行旋轉,進而帶動第一下轉動盤和第二下轉動盤以及兩者之間的活性炭網板一同旋轉,替代了傳統靜置的平面過濾網,使用動態的過濾網板和活性炭網板能夠加快污水的處理凈化速率,且能夠防止污水中的雜質集中堆積而造成堵塞,顯著提高了對牛蛙養殖污水的處理效率。
2、通過內螺紋環板使得過濾網筒卡固連接在連接盤的下側,再啟動前頂殼外側面的增壓泵,經由主抽水管和排水管配合輔助環板將污水抽入到過濾網板的內側,接著啟動過濾網筒內底部的微型電機,以帶動第一轉軸進行旋轉,從而帶動四組L型外刮桿一同旋轉,以對過濾網筒外側面的雜質進行刮除,能夠避免污水中的大顆粒雜質堵塞在主抽水管的內部,無需對主抽水管內部進行多次清理,減少了污水處理的工作時長,提高了裝置的工作效率,也提高了污水的進水效率。
3、通過插接桿和插接槽配合兩組第一卡固螺桿和兩組第一內螺紋柱使得前頂殼與主殼體相分離,再通過四組第一連接桿配合四組連接槽柱使得第二上轉動盤、過濾網板和第一上轉動盤相分離,接著通過四組第二卡固螺桿和四組第二內螺紋柱使得前底殼與主殼體相分離,再通過第二連接桿和連接孔的配合使得第二下轉動盤、活性炭網板和第一下轉動盤相分離,具有便捷的分步拆卸功能,有利于對過濾網板和活性炭網板進行清理和維護,以確保過濾網板和活性炭網板的使用壽命。
(發明人:孔小桃;孔小源;曹麗萍)






