公布日:2023.08.29
申請日:2023.05.23
分類號:C02F1/00(2023.01)I;B01D35/30(2006.01)I;C02F103/10(2006.01)N
摘要
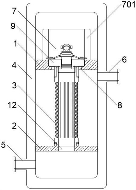
本發明公開了一種礦山廢水過濾裝置,涉及廢水過來領域,包括內部通過上固定板和下固定板設置有濾芯的殼體,殼體上設置有進水管和出水管,下固定板上設置有用于連通濾芯與進水管的進水孔,上固定板上設置有超壓彈起機構,上固定板設置有供濾芯彈起而與下固定板脫離的彈出孔,超壓彈起機構通過壓力密封板與濾芯連接,壓力密封板借助于超壓彈起機構而將彈出孔密封,且超壓彈起機構用于在濾芯內的水壓過高時使壓力密封板帶動濾芯彈起,以使濾芯底部與下固定板脫離,以避免濾芯堵塞問題未及時解決而存在的造成濾芯、過濾器及管道損壞的隱患。

權利要求書
1.一種礦山廢水過濾裝置,包括內部通過上固定板(1)和下固定板(2)設置有濾芯(3)的殼體(4),所述殼體(4)上設置有進水管(5)和出水管(6),所述下固定板(2)上設置有用于連通所述濾芯(3)與所述進水管(5)的進水孔(12),其特征在于,所述上固定板(1)上設置有超壓彈起機構(7),所述上固定板(1)設置有供濾芯(3)彈起而與下固定板(2)脫離的彈出孔(8),所述超壓彈起機構(7)通過壓力密封板(9)與濾芯(3)連接,所述壓力密封板(9)借助于所述超壓彈起機構(7)而將所述彈出孔(8)密封,且所述超壓彈起機構(7)用于在濾芯(3)內的水壓過高時使所述壓力密封板(9)帶動濾芯(3)彈起。
2.根據權利要求1所述的一種礦山廢水過濾裝置,其特征在于,所述超壓彈起機構(7)包括導向圓筒(701)、活塞(702)、反饋連桿(703)、鉸接連桿(704)、滑動爪(705)和阻力組件(706),所述導向圓筒(701)設置在所述壓力密封板(9)的頂部,所述壓力密封板(9)的軸心處設置有進水孔(12),所述反饋連桿(703)通過所述活塞(702)與所述進水孔(12)滑動密封插接,所述反饋連桿(703)側面與所述鉸接連桿(704)鉸接,所述滑動爪(705)與所述壓力密封板(9)頂部貼合并滑動連接,所述導向圓筒(701)的內壁上設置有供所述滑動爪(705)插入以將所述壓力密封板(9)鎖定的卡槽(10),所述阻力組件(706)與所述壓力反饋連桿(703)鉸接。
3.根據權利要求2所述的一種礦山廢水過濾裝置,其特征在于,所述阻力組件(706)包括螺紋連桿(7061)、套筒(7062)和阻力彈簧(7063),所述螺紋連桿(7061)的一端通過與所述反饋連桿(703)鉸接,且所述螺紋連桿(7061)的另一端與所述套筒(7062)滑動插接,所述套筒(7062)與所述導向圓筒(701)鉸接,所述阻力彈簧(7063)套設在所述螺紋連桿(7061)上,所述阻力彈簧(7063)通過阻止所述螺紋連桿(7061)向所述套筒(7062)內進行移動而對所述反饋連桿(703)施加阻力。
4.根據權利要求3所述的一種礦山廢水過濾裝置,其特征在于,所述螺紋連桿(7061)上套設有阻力調節螺母(11),所述螺紋連桿(7061)的側面設置有與所述阻力調節螺母(11)相配合的螺紋,所述阻力彈簧(7063)的兩端分別與所述阻力調節螺母(11)及所述套筒(7062)抵接。
5.根據權利要求3所述的一種礦山廢水過濾裝置,其特征在于,所述螺紋連桿(7061)、套筒(7062)和阻力彈簧(7063)組成彈簧伸縮桿,所述彈簧伸縮桿的所述螺紋連桿(7061)所在的一端在所述滑動爪(705)脫離所述卡槽(10)時向上傾斜,以使所述彈簧伸縮桿輔助攜帶有濾芯(3)的所述壓力密封板(9)進行彈起,并對彈起的所述壓力密封板(9)進行支撐固定。
6.根據權利要求2所述的一種礦山廢水過濾裝置,其特征在于,所述滑動爪(705)和所述卡槽(10)均圍繞所述反饋連桿(703)等間隔設置有至少兩個。
7.根據權利要求5所述的一種礦山廢水過濾裝置,其特征在于,所述彈簧伸縮桿圍繞所述反饋連桿(703)等間隔設置有至少兩個。
8.根據權利要求5所述的一種礦山廢水過濾裝置,其特征在于,相鄰所述彈簧伸縮桿關于所述滑動爪(705)相互對稱。
發明內容
本發明的目的在于提供一種礦山廢水過濾裝置,以解決現有技術中導致的上述缺陷。
一種礦山廢水過濾裝置,包括內部通過上固定板和下固定板設置有濾芯的殼體,所述殼體上設置有進水管和出水管,所述下固定板上設置有用于連通所述濾芯與所述進水管的進水孔,所述上固定板上設置有超壓彈起機構,所述上固定板設置有供濾芯彈起而與下固定板脫離的彈出孔,所述超壓彈起機構通過壓力密封板與濾芯連接,所述壓力密封板借助于所述超壓彈起機構而將所述彈出孔密封,且所述超壓彈起機構用于在濾芯內的水壓過高時使所述壓力密封板帶動濾芯彈起。
優選的,所述超壓彈起機構包括導向圓筒、活塞、反饋連桿、鉸接連桿、滑動爪和阻力組件,所述導向圓筒設置在所述壓力密封板的頂部,所述壓力密封板的軸心處設置有進水孔,所述反饋連桿通過所述活塞與所述進水孔滑動密封插接,所述反饋連桿側面與所述鉸接連桿鉸接,所述滑動爪與所述壓力密封板頂部貼合并滑動連接,所述導向圓筒的內壁上設置有供所述滑動爪插入以將所述壓力密封板鎖定的卡槽,所述阻力組件與所述壓力反饋連桿鉸接;
優選的,所述阻力組件包括螺紋連桿、套筒和阻力彈簧,所述螺紋連桿的一端通過與所述反饋連桿鉸接,且所述螺紋連桿的另一端與所述套筒滑動插接,所述套筒與所述導向圓筒鉸接,所述阻力彈簧套設在所述螺紋連桿上,所述阻力彈簧通過阻止所述螺紋連桿向所述套筒內進行移動而對所述反饋連桿施加阻力。
優選的,所述螺紋連桿上套設有阻力調節螺母,所述螺紋連桿的側面設置有與所述阻力調節螺母相配合的螺紋,所述阻力彈簧的兩端分別與所述阻力調節螺母及所述套筒抵接。
優選的,所述螺紋連桿、套筒和阻力彈簧組成彈簧伸縮桿,所述彈簧伸縮桿的所述螺紋連桿所在的一端在所述滑動爪脫離所述卡槽時向上傾斜,以使所述彈簧伸縮桿輔助攜帶有濾芯的所述壓力密封板進行彈起,并對彈起的所述壓力密封板進行支撐固定。
優選的,所述滑動爪和所述卡槽均圍繞所述反饋連桿等間隔設置有至少兩個。
優選的,所述彈簧伸縮桿圍繞所述反饋連桿等間隔設置有至少兩個。
優選的,相鄰所述彈簧伸縮桿關于所述滑動爪相互對稱。
本發明的優點在于:
本發明通過超壓彈起機構對濾芯內的水壓進行反饋,并在濾芯內的水壓達到限值時通過壓力密封板帶動濾芯插入彈起孔,以使濾芯底部與下固定板脫離,以避免濾芯堵塞問題未及時解決而存在的造成濾芯、過濾器及管道損壞的隱患。
(發明人:閆浩;施維)






