公布日:2024.01.26
申請日:2023.08.17
分類號:C02F7/00(2006.01)I;C02F1/72(2023.01)I;B01D46/00(2022.01)I;B01D53/04(2006.01)I
摘要
本發明涉及污水處理相關技術領域,尤其涉及一種具有污水氧化處理效果的曝氣裝置及其使用方法,包括污水池,所述污水池的兩側均固定安裝有爬梯,所述爬梯的一側固定安裝有支撐平臺,所述支撐平臺的表面一側固定安裝有三葉羅茨風機,所述三葉羅茨風機的一端設置有進氣濾清器。該具有污水氧化處理效果的曝氣裝置及其使用方法,通過分子篩吸附罐、儲氧罐、排氣管、控制閥、輸氧管、連接管、曝氣盤的設置,分子篩吸附罐對空氣中的氮氣吸附,再將高含量的氧氣輸送到儲氧罐中,隨后經過儲氧罐將高含量的氧氣通過輸氧管輸送到多個連接管中,最后通過曝氣盤將高含量的氧氣排出,高含量的氧氣可以更好的和污水進行接觸,增加污水氧化處理的效率。

權利要求書
1.一種具有污水氧化處理效果的曝氣裝置,包括污水池(1),其特征在于:所述污水池(1)的兩側均固定安裝有爬梯(2),所述爬梯(2)的一側固定安裝有支撐平臺(3),所述支撐平臺(3)的表面一側固定安裝有三葉羅茨風機(4),所述三葉羅茨風機(4)的一端設置有進氣濾清器(5),所述三葉羅茨風機(4)的一端法蘭連接有送氣管(6),所述送氣管(6)的一端連接有電磁閥(7),所述電磁閥(7)的兩端均管道連接有分子篩吸附罐(8),所述分子篩吸附罐(8)的一端管道連接有儲氧罐(9),所述分子篩吸附罐(8)的一側表面設置有排氣管(10),所述排氣管(10)的一端設置有控制閥(11),所述儲氧罐(9)的下方固定連接有輸氧管(12),所述輸氧管(12)的一側設置有連接管(13),所述連接管(13)的一側表面螺紋連接有曝氣盤(14),所述污水池(1)的表面兩側均設置有混合機構(15)。
2.根據權利要求1所述的一種具有污水氧化處理效果的曝氣裝置,其特征在于:所述三葉羅茨風機(4)和進氣濾清器(5)為一體化結構,所述電磁閥(7)通過管道與分子篩吸附罐(8)底部相連接,所述分子篩吸附罐(8)設置有兩組。
3.根據權利要求1所述的一種具有污水氧化處理效果的曝氣裝置,其特征在于:所述分子篩吸附罐(8)和儲氧罐(9)的上端通過管道連接,所述連接管(13)和輸氧管(12)均為“T”字型結構。
4.根據權利要求1所述的一種具有污水氧化處理效果的曝氣裝置,其特征在于:所述連接管(13)在輸氧管(12)的一側呈等間距分布,所述曝氣盤(14)在連接管(13)的一側呈等間距分布。
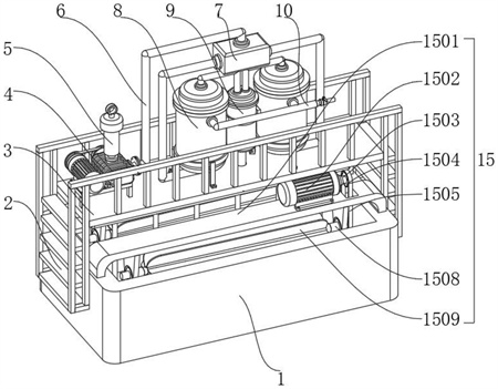
5.根據權利要求1所述的一種具有污水氧化處理效果的曝氣裝置,其特征在于:所述混合機構(15)包括支撐板(1501)、驅動電機(1502)、第一連接軸(1503)、第一齒輪盤(1504)、齒輪鏈條(1505)、第二齒輪盤(1506)、第二連接軸(1507)、連接桿(1508)、攪拌葉(1509)、軸承(1510)和連接板(1511),所述污水池(1)的上方表面兩側固定安裝有支撐板(1501),所述支撐板(1501)的上方表面螺紋連接有驅動電機(1502),所述驅動電機(1502)的一端安裝有第一連接軸(1503),所述第一連接軸(1503)的一端固定連接有第一齒輪盤(1504),所述第一齒輪盤(1504)的一端連接有齒輪鏈條(1505),所述齒輪鏈條(1505)的一端連接有第二齒輪盤(1506),所述第二齒輪盤(1506)的一端貫穿固定有第二連接軸(1507),所述第二連接軸(1507)的一端固定連接有連接桿(1508),所述連接桿(1508)的外圈表面固定安裝有攪拌葉(1509),所述連接桿(1508)的兩端均套設固定有軸承(1510),所述軸承(1510)的一端固定連接有連接板(1511)。
6.根據權利要求5所述的一種具有污水氧化處理效果的曝氣裝置,其特征在于:所述第一齒輪盤(1504)通過第一連接軸(1503)與驅動電機(1502)構成旋轉結構,所述第一齒輪盤(1504)和第二齒輪盤(1506)均與齒輪鏈條(1505)相連接。
7.根據權利要求5所述的一種具有污水氧化處理效果的曝氣裝置,其特征在于:所述連接桿(1508)通過軸承(1510)和連接板(1511)固定連接,所述軸承(1510)通過連接板(1511)和支撐板(1501)固定連接。
8.一種具有污水氧化處理效果的曝氣裝置使用方法包括如上述1-7任一所述的一種具有污水氧化處理效果的曝氣裝置,其特征在于:具體方法流程步驟如下:S1:首先打開三葉羅茨風機(4)通過進氣濾清器(5)對吸入的空氣過濾;S2:然后將電磁閥(7)打開,使空氣進入到分子篩吸附罐(8)中,通過分子篩吸附罐(8)將空氣中的氮氣吸附,使氧氣可以進入到儲氧罐(9)中;S3:其次氧氣通過儲氧罐(9)再流通到下方的輸氧管(12)中,再經過輸氧管(12)輸送到下方的多個連接管(13)中;S4:最后氧氣通過曝氣盤(14)排出,與污水充分接觸,進行氧化處理。
發明內容
本發明的目的在于提供一種具有污水氧化處理效果的曝氣裝置及其使用方法,以解決上述背景技術中提出的現有的具有污水氧化處理效果的曝氣裝置,在進行使用時,一般都是直接通過風機將氧氣輸送到曝氣盤進行曝氣處理,但是空氣中的氧氣含量約占百分之二十一,含量較低,這樣在進行污水處理時,氧氣與污水的混合效率較低,同時污水僅通過曝氣盤排出的空氣進行翻涌來和氧氣接觸,這樣會導致和氧氣的混合不夠徹底,增加污水處理的時間的問題。
為實現上述目的,本發明提供如下技術方案:一種具有污水氧化處理效果的曝氣裝置及其使用方法,包括污水池,所述污水池的兩側均固定安裝有爬梯,所述爬梯的一側固定安裝有支撐平臺,所述支撐平臺的表面一側固定安裝有三葉羅茨風機,所述三葉羅茨風機的一端設置有進氣濾清器,所述三葉羅茨風機的一端法蘭連接有送氣管,所述送氣管的一端連接有電磁閥,所述電磁閥的兩端均管道連接有分子篩吸附罐,所述分子篩吸附罐的一端管道連接有儲氧罐,所述分子篩吸附罐的一側表面設置有排氣管,所述排氣管的一端設置有控制閥,所述儲氧罐的下方固定連接有輸氧管,所述輸氧管的一側設置有連接管,所述連接管的一側表面螺紋連接有曝氣盤,所述污水池的表面兩側均設置有混合機構。
優選的,所述三葉羅茨風機和進氣濾清器為一體化結構,所述電磁閥通過管道與分子篩吸附罐底部相連接,所述分子篩吸附罐設置有兩組。
優選的,所述分子篩吸附罐和儲氧罐的上端通過管道連接,所述連接管和輸氧管均為“T”字型結構。
優選的,所述連接管在輸氧管的一側呈等間距分布,所述曝氣盤在連接管的一側呈等間距分布。
優選的,所述混合機構包括支撐板、驅動電機、第一連接軸、第一齒輪盤、齒輪鏈條、第二齒輪盤、第二連接軸、連接桿、攪拌葉、軸承和連接板,所述污水池的上方表面兩側固定安裝有支撐板,所述支撐板的上方表面螺紋連接有驅動電機,所述驅動電機的一端安裝有第一連接軸,所述第一連接軸的一端固定連接有第一齒輪盤,所述第一齒輪盤的一端連接有齒輪鏈條,所述齒輪鏈條的一端連接有第二齒輪盤,所述第二齒輪盤的一端貫穿固定有第二連接軸,所述第二連接軸的一端固定連接有連接桿,所述連接桿的外圈表面固定安裝有攪拌葉,所述連接桿的兩端均套設固定有軸承,所述軸承的一端固定連接有連接板。
優選的,所述第一齒輪盤通過第一連接軸與驅動電機構成旋轉結構,所述第一齒輪盤和第二齒輪盤均與齒輪鏈條相連接。
優選的,所述連接桿通過軸承和連接板固定連接,所述軸承通過連接板和支撐板固定連接。
一種具有污水氧化處理效果的曝氣裝置使用方法,具體方法流程步驟如下:
S1:首先打開三葉羅茨風機通過進氣濾清器對吸入的空氣過濾;
S2:然后將電磁閥打開,使空氣進入到分子篩吸附罐中,通過分子篩吸附罐將空氣中的氮氣吸附,使氧氣可以進入到儲氧罐中;
S3:其次氧氣通過儲氧罐再流通到下方的輸氧管中,再經過輸氧管輸送到下方的多個連接管中;
S4:最后氧氣通過曝氣盤排出,與污水充分接觸,進行氧化處理。
與現有技術相比,本發明的有益效果是:該具有污水氧化處理效果的曝氣裝置及其使用方法,通過三葉羅茨風機、進氣濾清器、送氣管、電磁閥、分子篩吸附罐、儲氧罐、排氣管、控制閥、輸氧管、連接管、曝氣盤的設置,在使用時,打開三葉羅茨風機進行吸氣,通過進氣濾清器對空氣進行雜質過濾,然后打開電磁閥,通過送氣管將空氣輸送到電磁閥,再通過電磁閥將空氣輸送到分子篩吸附罐中,經過分子篩吸附罐對空氣中的氮氣吸附,再將高含量的氧氣輸送到儲氧罐中,隨后經過儲氧罐將高含量的氧氣通過輸氧管輸送到多個連接管中,再經過連接管輸送到曝氣盤,最后通過曝氣盤將高含量的氧氣排出,高含量的氧氣可以更好的和污水進行接觸,增加污水氧化處理的效率;
通過支撐板、驅動電機、第一連接軸、第一齒輪盤、齒輪鏈條、第二齒輪盤、第二連接軸、連接桿、攪拌葉、軸承和連接板的設置,在使用時,可以通過驅動電機帶動第一連接軸一端的第一齒輪盤進行旋轉,第一齒輪盤通過齒輪鏈條帶動第二齒輪盤進行旋轉,第二齒輪盤帶動第二連接軸一端的連接桿進行旋轉,使攪拌葉可以通過連接桿在軸承的一端旋轉,攪拌葉在旋轉的過程對污水進行攪動,使污水可以更充分的和氧氣進行接觸。
(發明人:傅秀云;周振江;劉瑩;付樹禹)






