公布日:2024.01.26
申請日:2023.11.06
分類號:B01D21/24(2006.01)I;B01D36/04(2006.01)I
摘要
本發明涉及污水處理技術領域,具體說是一種基于污水處理廠用的快速除浮污染物裝置及其使用方法;包括殼體以所述殼體移動方向靠前的一側設置的收集槽;所述收集槽槽底與殼體移動方向靠后一側貫穿設置有濾水孔;所述殼體靠近操作人員的一側設置有轉槽;所述轉槽上下槽壁之間轉動連接著主動軸;所述主動軸外壁固連著靠上位置的帶輪以及靠下位置的主滾輪;所述主滾輪的邊緣延伸至轉槽外部;本發明通過皮帶拉動殼體的力垂直于池體邊緣內壁,并與帶輪帶動主滾輪滾輪配合下,使得殼體能夠緊貼池體邊緣內壁對浮污染物進行處理,如此避免殼體與池體邊緣形成間隙造成污染物漏清理的情況出現,進而提高污水處理廠內的浮污染物的處理效率。

權利要求書
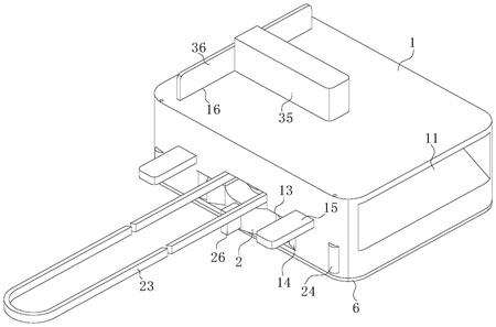
1.一種基于污水處理廠用的快速除浮污染物裝置,包括殼體(1)以所述殼體(1)移動方向靠前的一側設置的收集槽(11);所述收集槽(11)槽底與殼體(1)移動方向靠后一側貫穿設置有濾水孔(12);其特征在于:所述殼體(1)靠近操作人員的一側設置有轉槽(13);所述轉槽(13)上下槽壁之間轉動連接著主動軸(21);所述主動軸(21)外壁固連著靠上位置的帶輪(22)以及靠下位置的主滾輪(2);所述主滾輪(2)的邊緣延伸至轉槽(13)外部;所述帶輪(22)外側套設傳動連接著皮帶(23);所述皮帶(23)延伸至轉槽(13)外部;所述皮帶(23)在控制下驅動主滾輪(2)轉動帶動殼體(1)上的收集槽(11)對邊緣位置的懸浮污染物進行處理;所述主滾輪(2)的外壁設置有延伸槽(25);所述延伸槽(25)內滑動連接著延伸塊(26);所述延伸塊(26)與延伸槽(25)槽底之間通過彈簧(27)連接;所述延伸塊(26)在彈簧(27)的彈力作用下朝著主滾輪(2)外緣延伸;所述延伸塊(26)在彈簧(27)彈力作用下抵緊在池體邊緣內壁;所述殼體(1)中心豎直貫穿并轉動連接著從動軸(3);所述從動軸(3)靠下一端延伸至轉槽(13)內部并固連著從動齒輪(31);所述主動軸(21)外壁固連著主動齒輪(28);所述主動齒輪(28)與從動齒輪(31)之間通過過渡齒輪(32)嚙合傳動;所述過渡齒輪(32)轉動連接在轉槽(13)內;所述從動軸(3)延伸至收集槽(11)內的外壁固連著刀片(33);所述從動軸(3)靠上一端延伸至殼體(1)的上方;所述從動軸(3)位于殼體(1)上表面的外壁設置有雙向螺紋;所述從動軸(3)位于殼體(1)上表面的外壁螺紋傳動連接著滑條(34);所述滑條(34)外側由保護殼(35)罩設;所述殼體(1)上表面與收集槽(11)上表面之間貫穿設置有豎槽(16);所述豎槽(16)內滑動密封連接著豎件(36);所述豎件(36)靠上一端固連在滑條(34)遠離從動軸(3)的一端;所述豎件(36)靠下一端延伸至收集槽(11)內,并固連著刮板(4);所述刮板(4)橫向放置,且長度的收集槽(11)的寬度一致;所述刮板(4)邊緣與收集槽(11)槽底接觸;刮板(4)在從動軸(3)轉動過程中來回上下對收集槽(11)槽底進行刮擦。
2.根據權利要求1所述的一種基于污水處理廠用的快速除浮污染物裝置,其特征在于:所述殼體(1)設置轉槽(13)的一側轉動連接著兩個副滾輪(24),其中一個所述副滾輪(24)靠近殼體(1)移動方向靠前位置設置,另一個所述副滾輪(24)靠近殼體(1)移動方向靠后位置設置。
3.根據權利要求2所述的一種基于污水處理廠用的快速除浮污染物裝置,其特征在于:所述轉槽(13)空間與所述主滾輪(2)的外緣相適應;所述轉槽(13)靠近殼體(1)運動方向的前側以及后側的槽口均設置有導向面(14);所述延伸塊(26)在導向面(14)的導向擠壓下克服彈簧(27)縮回至相對應的延伸槽(25)內;所述延伸塊(26)在彈力作用下從轉槽(13)移出過程中朝外延伸;所述延伸塊(26)在彈簧(27)的彈力作用下撞擊并抵緊在池體邊緣內壁上。
4.根據權利要求3所述的一種基于污水處理廠用的快速除浮污染物裝置,其特征在于:所述殼體(1)設置有轉槽(13)的一側固連著搭塊(15);所述搭塊(15)的設置位置與皮帶(23)的豎直高度相適應;所述搭塊(15)在豎直方向高于污水面;所述搭塊(15)搭在池體邊緣的臺面上。
5.根據權利要求4所述的一種基于污水處理廠用的快速除浮污染物裝置,其特征在于:所述豎槽(16)以及豎件(36)的長度與收集槽(11)的寬度相適應;所述豎件(36)為板狀;所述豎件(36)與收集槽(11)活動密封連接;所述刮板(4)與收集槽(11)槽壁活動密封連接;所述刮板(4)遠離濾水孔(12)的邊緣與豎件(36)靠下的邊緣固連;所述刮板(4)、收集槽(11)槽底、收集槽(11)槽壁以及豎件(36)之間形成疏通腔(5);所述疏通腔(5)擴大或縮小能夠帶動污水穿過濾水孔(12);所述殼體(1)下表面設置有儲存槽(17);所述儲存槽(17)位于所述收集槽(11)下方;所述殼體(1)的下表面蓋合著孔板(6);所述儲存槽(17)上槽壁與收集槽(11)的下槽壁之間通過連通槽(18)連通;所述連通槽(18)靠近濾水孔(12)設置;所述連通槽(18)內活動連接著連通板(42);所述連通板(42)上表面與刮板(4)下表面之間通過連桿(41)固連;所述連通板(42)在刮板(4)上極限位置的情況下位于連通槽(18)內。
6.一種基于污水處理廠用的快速除浮污染物裝置的使用方法,該方法適用于權利要求5所述的基于污水處理廠用的快速除浮污染物裝置,其特征在于:該方法的步驟如下:S1:將裝置檢查無故障后放置在池體的邊緣內側,并將搭塊(15)搭在池體的邊緣臺面上,在皮帶(23)垂直池體邊緣內壁的方向拉動皮帶(23)運動;S2:皮帶(23)在被拉動下帶動殼體(1)上的主滾輪(2)以及副滾輪(24)在殼體(1)邊緣內壁上運動,主滾輪(2)帶動延伸塊(26)與殼體(1)邊緣內壁接觸;浮污染物隨著污水進入至收集槽(11)內被刀片(33)切斷,污水沿著濾水孔(12)排出,浮污染物被攔截在收集槽(11)槽底;S3:從動軸(3)在主動軸(21)的轉動下帶動滑條(34)上下往復運動,滑條(34)帶動刮板(4)將收集槽(11)槽底的浮污染物推開,收集槽(11)內的污水會將刮板(4)下方的浮污染物充入連通槽(18),并進入至儲存槽(17)內,儲存槽(17)內的多余污水沿著孔板(6)上的孔排出;S4:疏通腔(5)的空間隨著刮板(4)下移而增大,殼體(1)外側污水穿過濾水孔(12)進入疏通腔(5),疏通腔(5)空間隨著刮板(4)上移而減小,連通槽(18)隨著連通板(42)上移而關閉;疏通腔(5)內污水繼續穿過濾水孔(12)排出;收集槽(11)收集浮污染物一段時間后,打開孔板(6)對儲存槽(17)內的浮污染物進行集中清理。
發明內容
為了彌補現有技術的不足,本發明提出了一種基于污水處理廠用的快速除浮污染物裝置及其使用方法,本發明通過皮帶拉動殼體的力垂直于池體邊緣內壁,并與帶輪帶動主滾輪滾輪配合下,使得殼體能夠緊貼池體邊緣內壁對浮污染物進行處理,如此避免殼體與池體邊緣形成間隙造成污染物漏清理的情況出現,進而提高污水處理廠內的浮污染物的處理效率。
本發明解決其技術問題所采用的技術方案是:本發明所述的一種基于污水處理廠用的快速除浮污染物裝置,包括殼體以所述殼體移動方向靠前的一側設置的收集槽;所述收集槽槽底與殼體移動方向靠后一側貫穿設置有濾水孔;
所述殼體靠近操作人員的一側設置有轉槽;所述轉槽上下槽壁之間轉動連接著主動軸;所述主動軸外壁固連著靠上位置的帶輪以及靠下位置的主滾輪;所述主滾輪的邊緣延伸至轉槽外部;所述帶輪外側套設傳動連接著皮帶;所述皮帶延伸至轉槽外部;所述皮帶在控制下驅動主滾輪轉動帶動殼體上的收集槽對邊緣位置的懸浮污染物進行處理。
優選的,所述殼體設置轉槽的一側轉動連接著兩個副滾輪,其中一個所述副滾輪靠近殼體移動方向靠前位置設置,另一個所述副滾輪靠近殼體移動方向靠后位置設置;所述主滾輪的外壁設置有延伸槽;所述延伸槽內滑動連接著延伸塊;所述延伸塊與延伸槽槽底之間通過彈簧連接;所述延伸塊在彈簧的彈力作用下朝著主滾輪外緣延伸;所述延伸塊在彈簧彈力作用下抵緊在池體邊緣內壁。
優選的,所述轉槽空間與所述主滾輪的外緣相適應;所述轉槽靠近殼體運動方向的前側以及后側的槽口均設置有導向面;所述延伸塊在導向面的導向擠壓下克服彈簧縮回至相對應的延伸槽內;所述延伸塊在彈力作用下從轉槽移出過程中朝外延伸;所述延伸塊在彈簧的彈力作用下撞擊并抵緊在池體邊緣內壁上。
優選的,所述殼體設置有轉槽的一側固連著搭塊;所述搭塊的設置位置與皮帶的豎直高度相適應;所述搭塊在豎直方向高于污水面;所述搭塊搭在池體邊緣的臺面上。
優選的,所述殼體中心豎直貫穿并轉動連接著從動軸;所述從動軸靠下一端延伸至轉槽內部并固連著從動齒輪;所述主動軸外壁固連著主動齒輪;所述主動齒輪與從動齒輪之間通過過度齒輪嚙合傳動;所述過度齒輪轉動連接在轉槽內;所述從動軸延伸至收集槽內的外壁固連著刀片。
優選的,所述從動軸靠上一端延伸至殼體的上方;所述從動軸位于殼體上表面的外壁設置有雙向螺紋;所述從動軸位于殼體上表面的外壁螺紋傳動連接著滑條;所述滑條外側由保護殼罩設;所述殼體上表面與收集槽上表面之間貫穿設置有豎槽;所述豎槽內滑動密封連接著豎件;所述豎件靠上一端固連在滑條遠離從動軸的一端;所述豎件靠下一端延伸至收集槽內,并固連著刮板;所述刮板橫向放置,且長度的收集槽的寬度一致;所述刮板邊緣與收集槽槽底接觸;刮板在從動軸轉動過程中來回上下對收集槽槽底進行刮擦。
優選的,所述豎槽以及豎件的長度與收集槽的寬度相適應;所述豎件為板狀;所述豎件與收集槽活動密封連接;所述刮板與收集槽槽壁活動密封連接;所述刮板遠離濾水孔的邊緣與豎件靠下的邊緣固連;所述刮板、收集槽槽底、收集槽槽壁以及豎件之間形成疏通腔;所述疏通腔擴大或縮小能夠帶動污水穿過濾水孔;
所述殼體下表面設置有儲存槽;所述儲存槽位于所述收集槽下方;所述殼體的下表面蓋合著孔板;所述儲存槽上槽壁與收集槽的下槽壁之間通過連通槽連通;所述連通槽靠近濾水孔設置;所述連通槽內活動連接著連通板;所述連通板上表面與刮板下表面之間通過連桿固連;所述連通板在刮板上極限位置的情況下位于連通槽內。
一種基于污水處理廠用的快速除浮污染物裝置的使用方法,該方法適用于上述的基于污水處理廠用的快速除浮污染物裝置,該方法的步驟如下:
S1:將裝置檢查無故障后放置在池體的邊緣內側,并將搭塊搭在池體的邊緣臺面上,在皮帶垂直池體邊緣內壁的方向拉動皮帶運動;
S2:皮帶在被拉動下帶動殼體上的主滾輪以及副滾輪在殼體邊緣內壁上運動,主滾輪帶動延伸塊與殼體邊緣內壁接觸;浮污染物隨著污水進入至收集槽內被刀片切斷,污水沿著濾水孔排出,浮污染物被攔截在收集槽槽底;
S3:從動軸在主動軸的轉動下帶動滑條上下往復運動,滑條帶動刮板將收集槽槽底的浮污染物推開,收集槽內的污水會將刮板下方的浮污染物充入連通槽,并進入至儲存槽內,儲存槽內的多余污水沿著孔板上的孔排出;
S4:疏通腔的空間隨著刮板下移而增大,殼體外側污水穿過濾水孔進入疏通腔,疏通腔空間隨著刮板上移而減小,連通槽隨著連通板上移而關閉;疏通腔內污水繼續穿過濾水孔排出;收集槽收集浮污染物一段時間后,打開孔板對儲存槽內的浮污染物進行集中清理。
本發明的有益效果如下:
1.本發明通過皮帶拉動殼體的力垂直于池體邊緣內壁,并與帶輪帶動主滾輪滾輪配合下,使得殼體能夠緊貼池體邊緣內壁對浮污染物進行處理,如此避免殼體與池體邊緣形成間隙造成污染物漏清理的情況出現,進而提高污水處理廠內的浮污染物的處理效率。
2.本發明通過延伸塊在彈簧的彈力推動下會沖擊在池體邊緣內壁上,使得延伸塊抵緊在池體邊緣內壁上附著的雜質被延伸塊撞擊下擠開,使得延伸塊能夠在彈簧的彈力作用下直接與池體邊緣內壁接觸,降低雜質影響延伸塊與池體邊緣內壁接觸效果而打滑的情況出現,提高延伸塊隨著主滾輪在池體邊緣內壁上的滾動效果。
3.本發明通過疏通腔的擴大形成負壓以及縮小增大液體壓強的作用下,使得污水來回穿過濾水孔,從而實現對濾水孔疏通的目的,進而保證濾水孔的通暢,為收集槽內的污水流動提供保障,進而避免濾水孔堵塞影響收集槽處理浮污染物的效率,使得污水處理廠的浮污染物處理效率得到提高。
(發明人:李祥瑞;廉偉杰;陳利;趙清明;郭穎)






