公布日:2024.12.17
申請日:2024.10.14
分類號:C02F11/122(2019.01)I;C02F11/13(2019.01)I;B01D25/34(2006.01)I;B01D25/38(2006.01)I
摘要
本發明涉及污泥處理領域,具體公開了高壓雙隔膜板框干化一體機,包括支撐架,所述支撐架上設置有壓動機構,所述支撐架上設置有隔膜組件及板框組件,所述隔膜組件與所述板框組件交替排布,所述隔膜組件與所述板框組件之間形成容納泥餅的容置空間。本發明對泥餅循環加熱進行干燥,從而降低泥餅的含水率,在卸載泥餅時,依次拉動隔膜組件與板框組件,迫使泥餅與隔膜組件及板框組件松動分離,實現隔膜組件與板框組件分離時,泥餅順利掉落,避免擠壓作用導致泥餅附著現象,迫使泥餅自動脫落,減小設備卡頓現象,使得設備連續性工作,提高設備對污泥的處理效率,利于設備對泥餅分離的自動處理,提高干燥效率,降低企業的生產成本。

權利要求書
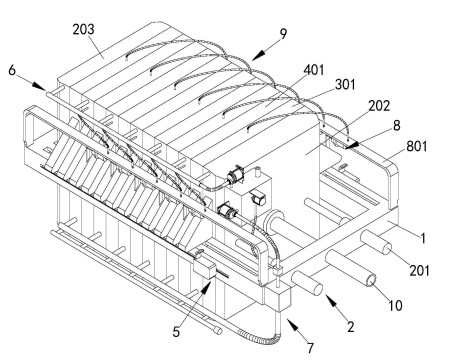
1.高壓雙隔膜板框干化一體機,其特征在于,包括支撐架(1),所述支撐架(1)上設置有壓動機構(2),所述支撐架(1)上設置有隔膜組件(3)及板框組件(4),所述隔膜組件(3)與所述板框組件(4)交替排布,所述隔膜組件(3)與所述板框組件(4)之間形成容納泥餅的容置空間,所述壓動機構(2)用于擠壓所述隔膜組件(3)與所述板框組件(4),所述支撐架(1)上設置有用于拉動所述隔膜組件(3)與所述板框組件(4)的拉動機構(5);所述壓動機構(2)上設置與容置空間相連通的清洗組件(6),所述清洗組件(6)用于清洗泥餅,所述支撐架(1)上設置有與所述隔膜組件(3)及所述清洗組件(6)連通的循環加熱組件(7),所述循環加熱組件(7)對泥餅加熱處理以干燥泥餅;所述拉動機構(5)上均設置有傳動組件(8),所述傳動組件(8)上設置有推動組件(9),所述推動組件(9)位于所述隔膜組件(3)與所述板框組件(4)內部,當所述拉動機構(5)運動時,所述隔膜組件(3)與所述板框組件(4)分離,所述推動組件(9)推動容置空間的泥餅掉落;所述壓動機構(2)上設置有通入污泥的進料管(10),所述進料管(10)與每個容置空間均連通。
2.根據權利要求1所述的高壓雙隔膜板框干化一體機,其特征在于,所述壓動機構(2)包括安裝在所述支撐架(1)上的液壓推桿(201),所述支撐架(1)上滑動設置有壓動板(202),所述壓動板(202)設置在所述液壓推桿(201)的輸出端上,所述支撐架(1)的末端設置有抵觸板(203),所述隔膜組件(3)與所述板框組件(4)位于所述壓動板(202)與所述抵觸板(203)之間。
3.根據權利要求2所述的高壓雙隔膜板框干化一體機,其特征在于,所述隔膜組件(3)包括滑動設置在所述支撐架(1)上的框體一(301),所述框體一(301)的內部中空,所述框體一(301)的兩側安裝有橡膠膜片(302),兩個所述橡膠膜片(302)通過管道一(303)連接以使得所述框體一(301)的內部空間封閉,所述管道一(303)將所述框體一(301)兩側的容置空間連通,所述框體一(301)的兩側均卡接有濾布(304),所述濾布(304)緊貼在所述橡膠膜片(302)的表面。
4.根據權利要求3所述的高壓雙隔膜板框干化一體機,其特征在于,所述板框組件(4)包括滑動設置在所述支撐架(1)上的框體二(401),所述框體二(401)上設置有與所述管道一(303)相適配的管道二(402),所述管道二(402)將所述框體二(401)兩側的容置空間連通,所述框體二(401)的兩側均卡接有濾布(304),所述濾布(304)緊貼在所述框體二(401)的表面,所述框體一(301)與所述框體二(401)貼合時容納泥餅。
5.根據權利要求4所述的高壓雙隔膜板框干化一體機,其特征在于,所述拉動機構(5)包括設置在所述框體一(301)、所述框體二(401)及所述壓動板(202)上的支撐塊(501),所述支撐塊(501)上設置有貫穿所述支撐架(1)的滑塊(502),所述支撐架(1)上安裝有運行車體(503),所述運行車體(503)上設置有彈性鉤片(504),所述彈性鉤片(504)用于拉動所述支撐塊(501)沿著所述支撐架(1)運動。
6.根據權利要求5所述的高壓雙隔膜板框干化一體機,其特征在于,所述清洗組件(6)包括設置在所述壓動板(202)上的水箱(601),所述水箱(601)上設置有補水管(602),所述水箱(601)上安裝有與所述水箱(601)連通的增壓泵一(603),所述增壓泵一(603)的輸出端連接有軟管一(604),所述框體二(401)上設置有與所述軟管一(604)連通的分水管(605),所述分水管(605)上設置有多個出水頭(606),所述出水頭(606)與所述框體二(401)兩側的容置空間連通。
7.根據權利要求6所述的高壓雙隔膜板框干化一體機,其特征在于,所述清洗組件(6)還包括設置在所述框體二(401)上的排水管(607),所述框體二(401)上設置有多個與所述排水管(607)連通的排水頭(608),所述排水頭(608)與所述框體二(401)兩側的容置空間連通,所述排水管(607)上連通設置有用于排水的軟管二(609),所述軟管二(609)將水排出設備外。
8.根據權利要求7所述的高壓雙隔膜板框干化一體機,其特征在于,所述循環加熱組件(7)包括安裝在所述水箱(601)上的增壓泵二(701)及增壓泵三(702),所述增壓泵二(701)的輸入端與所述水箱(601)連通,所述增壓泵二(701)的輸出端設置有輸出管(703),所述輸出管(703)上設置有循環箱(704),所述循環箱(704)上連通有軟管三(705),所述支撐架(1)上設置有換熱器(706),所述軟管三(705)穿過所述換熱器(706)且與所述換熱器(706)進行熱量交換,所述軟管三(705)上設置有與所述框體一(301)內部連通的循環管(707),所述增壓泵三(702)的輸出端與所述水箱(601)連通,所述增壓泵三(702)的輸入端與所述循環箱(704)連通。
9.根據權利要求8所述的高壓雙隔膜板框干化一體機,其特征在于,所述傳動組件(8)包括設置在所述支撐架(1)上的支撐板(801),所述支撐板(801)上設置有氣缸一(802),所述氣缸一(802)內設置有活塞一(803),所述活塞一(803)上設置有拉動桿(804),所述拉動桿(804)貫穿所述氣缸一(802),所述支撐塊(501)上設置有與所述拉動桿(804)連接的連接板(805)。
10.根據權利要求9所述的高壓雙隔膜板框干化一體機,其特征在于,所述推動組件(9)包括設置在所述氣缸一(802)上的導管(901),所述框體一(301)及所述框體二(401)上均設置有呈T型的氣缸二(902),所述氣缸二(902)的兩端均設置有活塞二(903),所述活塞二(903)上設置有推動桿(904),所述推動桿(904)貫穿所述氣缸二(902),所述推動桿(904)上設置有推動板(905),其中,所述推動板(905)位于所述框體一(301)內部時,所述推動板(905)位于兩個所述橡膠膜片(302)之間,且所述推動板(905)上開設有多個通孔(906);當所述推動板(905)位于所述框體二(401)外部時,所述推動板(905)緊密貼合在所述框體二(401)的表面,且所述推動桿(904)貫穿所述框體二(401)。
發明內容
本發明的一個目的在于提出高壓雙隔膜板框干化一體機,本發明所述的高壓雙隔膜板框干化一體機,包括支撐架,所述支撐架上設置有壓動機構,所述支撐架上設置有隔膜組件及板框組件,所述隔膜組件與所述板框組件交替排布,所述隔膜組件與所述板框組件之間形成容納泥餅的容置空間,所述壓動機構用于擠壓所述隔膜組件與所述板框組件,所述支撐架上設置有用于拉動所述隔膜組件與所述板框組件的拉動機構;
所述壓動機構上設置與容置空間相連通的清洗組件,所述清洗組件用于清洗泥餅,所述支撐架上設置有與所述隔膜組件及所述清洗組件連通的循環加熱組件,所述循環加熱組件對泥餅加熱處理以干燥泥餅;
所述拉動機構上均設置有傳動組件,所述傳動組件上設置有推動組件,所述推動組件位于所述隔膜組件與所述板框組件內部,當所述拉動機構運動時,所述隔膜組件與所述板框組件分離,所述推動組件推動容置空間的泥餅掉落;
所述壓動機構上設置有通入污泥的進料管,所述進料管與每個容置空間均連通。
優選的,所述壓動機構包括安裝在所述支撐架上的液壓推桿,所述支撐架上滑動設置有壓動板,所述壓動板設置在所述液壓推桿的輸出端上,所述支撐架的末端設置有抵觸板,所述隔膜組件與所述板框組件位于所述壓動板與所述抵觸板之間。
優選的,所述隔膜組件包括滑動設置在所述支撐架上的框體一,所述框體一的內部中空,所述框體一的兩側安裝有橡膠膜片,兩個所述橡膠膜片通過管道一連接以使得所述框體一的內部空間封閉,所述管道一將所述框體一兩側的容置空間連通,所述框體一的兩側均卡接有濾布,所述濾布緊貼在所述橡膠膜片的表面。
優選的,所述板框組件包括滑動設置在所述支撐架上的框體二,所述框體二上設置有與所述管道一相適配的管道二,所述管道二將所述框體二兩側的容置空間連通,所述框體二的兩側均卡接有濾布,所述濾布緊貼在所述框體二的表面,所述框體一與所述框體二貼合時容納泥餅。
優選的,所述拉動機構包括設置在所述框體一、所述框體二及所述壓動板上的支撐塊,所述支撐塊上設置有貫穿所述支撐架的滑塊,所述支撐架上安裝有運行車體,所述運行車體上設置有彈性鉤片,所述彈性鉤片用于拉動所述支撐塊沿著所述支撐架運動。
優選的,所述清洗組件包括設置在所述壓動板上的水箱,所述水箱上設置有補水管,所述水箱上安裝有與所述水箱連通的增壓泵一,所述增壓泵一的輸出端連接有軟管一,所述框體二上設置有與所述軟管一連通的分水管,所述分水管上設置有多個出水頭,所述出水頭與所述框體二兩側的容置空間連通。
優選的,所述清洗組件還包括設置在所述框體二上的排水管,所述框體二上設置有多個與所述排水管連通的排水頭,所述排水頭與所述框體二兩側的容置空間連通,所述排水管上連通設置有用于排水的軟管二,所述軟管二將水排出設備外。
優選的,所述循環加熱組件包括安裝在所述水箱上的增壓泵二及增壓泵三,所述增壓泵二的輸入端與所述水箱連通,所述增壓泵二的輸出端設置有輸出管,所述輸出管上設置有循環箱,所述循環箱上連通有軟管三,所述支撐架上設置有換熱器,所述軟管三穿過所述換熱器且與所述換熱器進行熱量交換,所述軟管三上設置有與所述框體一內部連通的循環管,所述增壓泵三的輸出端與所述水箱連通,所述增壓泵三的輸入端與所述循環箱連通。
優選的,所述傳動組件包括設置在所述支撐架上的支撐板,所述支撐板上設置有氣缸一,所述氣缸一內設置有活塞一,所述活塞一上設置有拉動桿,所述拉動桿貫穿所述氣缸一,所述支撐塊上設置有與所述拉動桿連接的連接板。
優選的,所述推動組件包括設置在所述氣缸一上的導管,所述框體一及所述框體二上均設置有呈T型的氣缸二,所述氣缸二的兩端均設置有活塞二,所述活塞二上設置有推動桿,所述推動桿貫穿所述氣缸二,所述推動桿上設置有推動板,其中,所述推動板位于所述框體一內部時,所述推動板位于兩個所述橡膠膜片之間,且所述推動板上開設有多個通孔;當所述推動板位于所述框體二外部時,所述推動板緊密貼合在所述框體二的表面,且所述推動桿貫穿所述框體二。
本發明的有益效果如下:
本發明對污泥進行處理時,啟動壓動機構,利用壓動機構推動隔膜組件及板框組件運動,直到隔膜組件與板框組件之間緊密接觸形成密封,且隔膜組件與板框組件之間交替排布,利用設備將污泥通入進料管,在壓力作用下,使得污泥充滿隔膜組件與板框組件的容置空間內,形成含水量高的泥餅,對泥餅進行清洗,利用清洗組件對各個容置空間內的泥餅進行清洗,然后將水排出,利用循環加熱組件將熱水通入隔膜組件,迫使隔膜組件膨脹,從而擠壓壓縮容置空間內的泥餅,迫使水分排出,由于通入熱水,使得容置空間內的泥餅的溫度升高,熱水不斷循環輸入,迫使容置空間內不斷產生水蒸氣且不斷排出,直到泥餅的水分被烘干至合理含量;當泥餅的含水率下降至理想水平時,需要對泥餅進行卸載,將壓動機構回退,迫使隔膜組件與板框組件之間的壓力消失,利用拉動機構將隔膜組件與板框組件依次拉動,當拉動時,迫使傳動組件動作,傳動組件帶動推動組件動作,推動組件將隔膜組件與板框組件上的泥餅推動,迫使泥餅松動順利掉落;綜上,本申請的高壓雙隔膜板框干化一體機,對泥餅循環加熱進行干燥,從而降低泥餅的含水率,在卸載泥餅時,依次拉動隔膜組件與板框組件,迫使泥餅與隔膜組件及板框組件松動分離,實現隔膜組件與板框組件分離時,泥餅順利掉落,避免擠壓作用導致泥餅附著現象,迫使泥餅自動脫落,減小設備卡頓現象,使得設備連續性工作,提高設備對污泥的處理效率,利于設備對泥餅分離的自動處理,提高干燥效率,降低企業的生產成本。
(發明人:汪振林;馬祖照)






