1 引言
工業化發展程度的不斷提高使得油品的使用量越來越大,產生的含油廢水也越來越多.大量的含油廢水被直接排放到環境中,不僅會浪費有限的水資源,還會造成嚴重的水污染問題,因此對含油廢水的處理勢在必行.含油廢水中的漂浮油和溶解油一般可以通過隔油、氣浮等工藝除去,但是以乳化態存在的乳化油,油滴粒徑分布從數微米至數毫米,體系比較穩定,很難將其去除.傳統工藝已經不能滿足本行業快速發展的需求.而膜生物反應器具有固液分離效率高、占地少、運行費用低、管理方便、出水水質好等優點,在污水處理領域已經得到了廣泛的應用,但膜污染問題始終制約著膜生物反應器的進一步推廣,尤其是對有機廢水的處理.由日本住友電工生產的聚四氟乙烯(PTFE)中空纖維膜.膜表面經過特殊的化學鍵技術親水改性,具有高通量、抗污染等優點,本研究就是利用這種膜與好氧生物反應器構成的浸沒式膜生物反應器來處理含油廢水,通過考察含油廢水中COD、石油類污染物、氨氮、揮發酚、濁度等污染物質的去除效率來評估膜生物反應器處理含油廢水的可行性,同時分析膜的抗油污性能.考慮到含油廢水的可生化性差,來水水質不穩定的特點,本研究采用厭氧消化過程作為好氧生物反應的預處理.
2 材料與方法
2.1 實驗用水
含油廢水中主要含有大量的油類、揮發酚、氨氮、懸浮物等污染物質.本實驗是在分析某油田含油廢水的基礎上,采用實驗室人工模擬的乳化含油廢水.實驗室中模擬含油廢水的合成步驟為:首先量取一定量的柴油倒入盛有自來水的三角瓶(500 mL)中,加入十二烷基硫酸鈉作為乳化劑,在六聯電動攪拌器上以3000 r · min-1的轉速持續攪拌36 h;接著再稱取適量的葡萄糖、NH4Cl,KH2PO4,CaCl2,MgSO4 · 7H2O,(NH4)2Fe(SO4)2,MnSO4 · H2O等營養物質和無機鹽,保持碳氮磷之比約為100 ∶ 5 ∶ 1,將之溶解,配制成溶液.然后添加一定量的硅藻土和苯酚分別構成模擬廢水的濁度和揮發酚,再將這些溶液倒入配水桶(200 L)中,在潛水攪拌泵的作用下使之充分混合.最后用NaOH和HCl溶液調節混合液的pH至7.0左右.模擬廢水水質如表 1所示.
表1 乳化含油廢水的水質情況
2.2 實驗用品
本研究使用的中空纖維膜絲是由日本住友電氣工業株式會社生產并提供,膜絲的材質為聚四氟乙烯,內外徑分別為1.3 mm和2.3 mm,膜的公稱孔徑為0.1~0.2 μm,開孔率在75%~85%.實驗用的膜組件是在實驗室自行加工而成,有效過濾面積為0.2 m2,外壓式過濾.
實驗中所使用的藥品均是分析純級的,其中葡萄糖(C6H12O6 · H2O)、氫氧化鈉(NaOH)購自北京化工廠;苯酚(C6H6O)、氯化銨(NH4Cl)、磷酸二氫鉀(KH2PO4)、硫酸鎂(MgSO4 · 7H20)、十二烷基苯磺酸鈉(C18H29NaO3S)、檸檬酸(C6H8O7 · H2O)均購自國藥集團化學試劑公司;硫酸錳(MnSO4 · H20)、次氯酸鈉(NaClO)購自西隴化工股份有限公司. 另外,硅藻土、柴油(0#)、硫酸亞鐵銨((NH4)2Fe(SO4)2 · 6H2O)、 無水氯化鈣(CaCl2)分別購自北京創清源、中國石化、天津化工、浙江城南等.
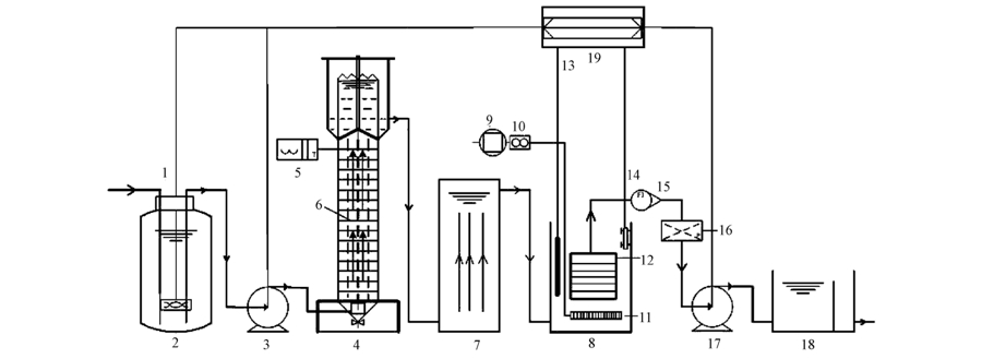
2.3 裝置圖及操作過程
本研究采用的UASB-SMBR工藝如圖 1所示.全過程分為配制廢水、厭氧消化、好氧生物降解、膜過濾和滲透出水5個階段.乳化含油廢水在配水桶中攪拌均勻之后由蠕動泵送入厭氧消化階段,厭氧消化采用升流式厭氧污泥床(UASB),在水解和酸化菌作用下水中的固體、大分子和不易生物降解的有機物被降解為易于生物處理的小分子有機物,提高廢水的可生化性.UASB的上清液流入好氧生物反應器中,好氧階段(趙穎等,2008)進行微孔曝氣,同時控制溫度、溶解氧、氧化還原電位等參數;大部分的污染物被微生物降解利用.膜生物反應器采用浸沒式,膜組件下方曝氣造成水流的紊動,不斷切向沖刷膜表面,從而使污染物質不易在膜表面沉積,保持較高的通量.最后在隔膜計量泵的負壓抽吸作用下,滲透液透過膜流入清水池.實驗運行條件如表 2所示.

圖 1 UASB-SMBR工藝實驗裝置圖(1. 潛水攪拌器; 2. 進料箱; 3. 進料泵; 4. UASB反應器; 5. 溫度控制儀; 6. 電加熱帶; 7. 緩沖罐; 8. 膜生物反應器; 9. 空氣壓縮機; 10. 氣體流量計; 11. 微孔曝氣管; 12. 膜組件; 13. 電熱棒; 14. 液位計; 15. 液體流量計; 16. 壓力傳感器; 17. 負壓抽吸泵; 18. 清水池; 19. 電控柜)
表2 實驗運行條件
2.4 分析方法
COD、氨氮、揮發酚、污泥濃度的測定均是按照國家環保總局《水和廢水監測分析方法》(第4版)進行;采用哈希BOD快速測試儀(HACH,America,TrakTMII)測定BOD5;采用哈希2100P型濁度儀(HACH,America,2100P)測定濁度;采用紫外分光光度法(紫外可見分光光度計(Unic,America,UV—2102 PES))測定水中石油類污染物濃度;pH、溶解氧、氧化還原電位等數據使用在線監測儀(METTLER TOLEDO,Switzerl and ,M300)獲得;進、出水pH采用便攜式pH計(METTLER TOLEDO,Switzerl and ,DELTA320)測得.
3 結果與討論
3.1 UASB的作用效果
從圖 2中可以看出,進水的可生化性較低,BOD5/COD值只有0.09~0.24,平均值為0.14,但是,經過水解酸化作用后,含油廢水的可生化性B/C提升到0.21~0.51,平均值達到0.35,提升幅度在35.42%~641.16%.通過UASB的水解酸化,難生物降解的大分子結構被破壞,微生物體內的一些不溶或難溶的大分子物質轉化為可以被微生物直接攝取溶解性的小分子有機物質,含油廢水的可生化性得到了很大程度的提高,為后續的好氧生物降解提供了有利環境.

圖 2 UASB對含油廢水可生化性的改善效果
3.2 各種污染物質去除效果 3.2.1 COD的去除效果
COD的變化及去除效果如圖 3所示.在為期69 d的試驗里,進水COD最低濃度為341.28 mg · L-1,最高為914.82 mg · L-1,平均值為596.34 mg · L-1,而出水COD為8.17~37.62 mg · L-1,平均值為21.73 mg · L-1;COD的平均去除率高達96.19%.從圖中可以看出,雖然進水COD總體呈逐漸上升趨勢,期間也出現了較大的波動,但出水中COD始終維持在一個較低的水平,這說明UASB-SMBR工藝不僅能夠有效去除含油廢水中的COD,而且能夠抵抗較強的有機沖擊負荷.UASB中懸浮載體上附著的厭氧微生物將水中的大分子和不易生物降解的有機物轉化為易于被微生物降解的小分子有機物,提高廢水的可生化性,同時一部分COD被去除.MBR中微濾膜的截留作用保證了較高的污泥濃度,而且延長了有機物大分子與微生物的接觸時間,增加了微生物與有機物接觸反應的機會,提高了有機物的去除效率.

圖 3 COD的去除情況
3.2.2 石油類污染物的去除效果
如圖 4所示,UASB-SMBR工藝對含油廢水中石油類污染物的去除效果非常明顯.進水含油量由83.89 mg · L-1上升到333.84 mg · L-1,平均值為201.94 mg · L-1;出水含油量在0.16~6.82 mg · L-1之間波動,平均值為2.76 mg · L-1,污染物的平均去除率達到98.76%.圖中顯示,隨著進水中石油類污染物濃度的提高,污染物的去除率出現略微的下降,出水中石油類污染物的濃度也有所上升,但是仍然滿足石油煉制工業水污染排放標準(GB3551-83)和國家污水綜合排放標準(GB8978—1996).石油類污染物主要是一些大分子的有機物,呈非溶解態,很難被微生物所降解.在兼性厭氧微生物的作用下,這些有機物被轉化為易于生物降解的溶解態小分子有機物,廢水的可生化性得到了提高,為后續的好氧反應創造了條件.好氧及膜生物反應器階段進一步降解這些溶解態的小分子有機物,提高石油類污染物的去除效率.

圖 4 石油類污染物的去除情況
3.2.3 濁度的去除效果
圖 5顯示進水的濁度在持續增加,從69.2 NTU到410 NTU,平均值為164 NTU,而出水的濁度始終小于0.5 NTU,平均濁度只有0.32 NTU,濁度的平均去除率高達99.77%.其中UASB中的懸浮載體和MBR中的微濾膜是降低濁度的主要原因.他們將一些粒徑較大的懸浮固體截留在反應器內,保證了出水水質優越性和穩定性.李繼宏等(2013)在利用膜生物反應器處理聚驅采油廢水時發現通過膜截留和生物降解的共同作用,粒徑大于600 nm的懸浮顆粒的去除率達到98.8%.

圖 5 濁度的變化及去除情況
3.2.4 氨氮和揮發酚的去除效果
從表 3中可以看出,UASB-SMBR工藝對氨氮以及揮發酚都有很好的去除效果.氨氮的去除率均在90%以上,平均去除率達98.18%.揮發酚的去除率均在99%以上,平均達99.84%.出水水質都能滿足國家污水綜合排放標準.膜的截留作用防止了菌種的流失,保證了反應器中有非常高的污泥濃度,同時延長了污泥的停留時間,微生物與污染物質的接觸時間和反應機會增多,有利于提高污染物的去除效率在利用水解酸化-膜生物反應器工藝處理城市綜合廢水時也認為膜的截留有助于某些專性微生物的培養,進而提高污染物的去除效率.
表3 氨氮及揮發酚的去除情況
3.3 膜污染
3.3.1 膜污染速率分析
上圖呈現了實驗過程中跨膜壓差和膜通量隨運行時間的變化情況.運行過程中膜通量出現了微小的波動,但是總體保持在19.46 L · m-2 · h-1,所以可以認為膜通量保持不變,系統是在恒流模式下運行.實驗過程分為3個階段,每個階段結束之后對微濾膜進行1次清洗.在第一階段(1~29 d),最初的幾天里跨膜壓差迅速上升,膜滲透率快速下降,之后跨膜壓差的上升態勢趨于平緩,但仍有較大的波動.這是由于微濾膜在接觸到污水以后,水中的一些小分子物質會迅速吸附在膜孔內壁,造成膜孔變小,甚至堵塞膜孔.隨著膜過濾的不斷進行,一些大分子物質被膜截留,吸附、沉積在膜表面,形成沉積層,使得膜的過濾阻力增大,跨膜壓差繼續上升.第二個階段(30~48 d)的膜通量基本維持在一個恒定的水平,波動較小,但是18 d的時間里跨膜壓差迅速由
3.66 kPa上升到12.75 kPa,膜滲透率下降很快,而在第三個階段(49~68 d)也觀察到同樣的變化趨勢,其中部分時間段由于膜通量過高使得跨膜壓差最高時接近20 kPa.比較這3個階段不難發現,隨著時間的推移,跨膜壓差的上升速率逐漸加快,原因可能是隨著運行時間的延長,更多的污染物質被吸附到膜孔或膜表面,形成凝膠層,造成了滲透阻力增加.

圖 6 跨膜壓差及膜通量變化情況
3.3.2 膜清洗
實驗期間分別在第29、48、69 d的時候從生物反應器中把膜組件抽出來進行化學清洗.化學清洗步驟為:首先用自來水沖洗膜組件表面,然后浸泡在2%(質量比)NaOH和1000 mg · L-1 NaClO混合溶液中12 h,接著浸泡在1%(質量比)檸檬酸溶液中12 h,最后再用清水沖洗干凈.實驗結束時對不同狀態下的膜外表面進行了掃描電鏡分析.
圖 7a是新膜的SEM圖,膜過濾層呈網狀結構,孔徑大、孔隙率高;圖 7b是被污染膜的SEM圖,膜表面覆蓋有粗糙而致密的凝膠層,上面還粘附著一些絲狀和球狀微生物;圖 7c是清洗之后的膜,膜表面仍剩有一些污染物質.與新膜相比,膜孔徑有所減小,孔隙率有所降低.實驗結束時分別測定了新膜和經過最后一次清洗膜的清水比通量K0、Kt,測試結果圖 8所示.

圖 7 不同狀態下膜外表面的SEM圖

圖 8 新膜與清洗后的膜透水率比較
從圖 8可以看出,新膜的清水比通量K0為3.79 L ·(m2 · kPa · h)-1,清洗后的膜清水比通量Kt為3.61 L ·(m2 · kPa · h)-1,膜透水率恢復到了95.11%,仍然保持非常低的過濾阻力.這說明聚四氟乙烯中空纖維微濾膜在處理乳化含油廢水方面有獨特的優越性.具體參見污水寶商城資料或http://www.dongaorq.cn更多相關技術文檔。
4 結論
1)采用UASB-SMBR工藝處理含油廢水的效果非常明顯,COD、石油類污染物、氨氮、揮發酚以及濁度的平均去除率均在96%以上,出水能夠滿足行業和國家綜合廢水排放標準;聚四氟乙烯膜的高效截留保證了較高的污泥濃度和較長的污泥停留時間,增加了接觸反應的機會,污染物的去除率增大,出水水質更優.
2)實驗過程中始終保持有很高的膜通量,雖然出現了輕微的膜污染,但是在化學清洗之后透水率基本完全恢復,說明膜的抗污染性能非常好.這與膜表面的親水性密切相關,經過化學鍵技術親水改性之后的聚四氟乙烯微濾膜具有高通量、抗污染的特點,對含有廢水的處理有獨特的優勢.
3)該工藝對處理可生化性低、有機沖擊負荷大的廢水有很好的效果,而且固液分離效率高、占地少、自動化控制,運行管理非常方便;聚四氟乙烯膜與UASB-SMBR工藝組合用于處理含油廢水有著非常重要的推廣意義.





