含氟聚合物廣泛應用于航天航空、汽車工業、化學工業和電子信息等領域,在含氟聚合物生產過程中,需用到大量去離子水進行后處理以確保產品色澤和介電性能達標,從而導致大量含氟廢水的產生。目前,氟化工廢水處理方法主要有物理處理、化學處理和生物處理,其中化學處理方法中的混凝法是現階段的主要處理方式,尤其是將無機化合物絮凝劑聚合氯化鋁(PAC)和有機高分子絮凝劑聚丙烯酰胺(PAM)相結合,其高效的凈水效果得到了廣泛認可,也逐漸被人們所重視。
聚合氯化鋁中的鋁離子與廢水中的氫氧根離子結合生成氫氧化鋁,生成的氫氧化鋁吸附在含氟聚合物粒子上形成凝結顆粒,此顆粒相互碰撞凝聚成較大絮團,而且鋁離子能夠壓縮含氟聚合物表面的雙電子層,加速凝結顆粒凝聚。聚丙烯酰胺分子上的極性基團對含氟聚合物進行吸附,聚丙烯酰胺的分子鏈固定在不同含氟聚合物顆粒表面上,通過吸附交聯作用使顆粒凝聚沉淀。
采用混凝法處理含氟廢水的影響因素主要有絮凝劑的投入量和絮凝劑類型,以及廢水的pH、水溫、黏度和組分。研究了絮凝劑投入量以及含氟聚合物生產中產生廢水所含的過硫酸銨、全氟癸酸銨鹽、NP-10乳化劑對PAC-PAM絮凝劑處理廢水固體懸浮物(SS)的影響。
1、試驗部分
1.1 試驗原料
過硫酸銨,98.5%,全氟癸酸銨鹽,80%,自制;NP-10乳化劑,99.0%,PAC,90.0%,PAM,90.0%,氧化鈣,97.6%。
廢水組分:FEP、PTFE等含氟聚合物乳液,過硫酸銨、全氟癸酸銨鹽、NP-10乳化劑等。
1.2 廢水SS值檢測
取不同SS值的原廢水500g,通過CaO溶液調節pH至8左右,分別加入PAM0.025g、PAC0.250g[m(PAC)∶m(PAM)=10∶1,下同],在350r/min的攪拌速率下,將加入絮凝劑的廢水攪拌2h,然后靜置0.5h,取上層液體100mL測量其SS值。以相同的方法,增加絮凝劑的使用量,然后測其SS值。
取原廢水500g,分別加入5.75g、11.5g和23g過硫酸銨,通過CaO溶液調節pH至8左右,加入PAC0.075g、PAM0.0075g,在350r/min的攪拌速率下,將加入絮凝劑的廢水攪拌2h,然后靜置0.5h,取上層液體100mL,測量其SS值。
取不同SS值的原廢水400g,分別加入全氟癸酸銨鹽8g、6g、4g、3g、2g、1g,通過CaO溶液調節pH至8左右,加入PAC0.060g、PAM0.006g,在350r/min的攪拌速率下,將加入絮凝劑的廢水攪拌2h,然后靜置0.5h,取上層液體100mL,測量其SS值。
取原廢水500g,分別加入不同質量的NP-10乳化劑30.00g、15.00g、7.50g、5.00g、3.00g、0.40g、0.20g、0.10g和0.05g,通過CaO溶液調節pH至8左右,加入PAM15mg/L、PAC150mg/L,攪拌2h,然后靜置0.5h,取上層液體100mL,測量其SS值。
2、結果與討論
2.1 絮凝劑加入量對廢水處理效果的影響
絮凝劑加入量對廢水處理效果的影響如圖1所示。

由圖1可見,不同SS值的原廢水在加入絮凝劑進行處理后,原廢水SS值越低,經過絮凝劑處理后的廢水SS值越低,廢水SS的去除率越高。隨著絮凝劑加入量的增加,廢水SS去除率逐漸升高。而原廢水SS值低于1584mg/L時,在PAM加入量大于15mg/L后,該廢水SS去除率逐漸穩定,去除率穩定在95%以上,而原廢水SS值為1584mg/L時,廢水SS去除率仍處于增加趨勢。
2.2 過硫酸銨對廢水處理效果的影響
過硫酸銨對廢水處理效果的影響如圖2所示。

由圖2可見,在未加入絮凝劑之前,隨著過硫酸銨加入量的增加,廢水SS值呈緩慢降低趨勢,由1385mg/L降至1299mg/L,而加入絮凝劑之后,隨著過硫酸銨的引入以及加入量的改變,廢水SS值降低并穩定在1200mg/L左右。過硫酸銨具有強氧化性,在高分子聚合時用作助聚劑,過硫酸銨的引入,使得廢水中含氟聚合物部分凝聚沉淀,從而降低了廢水的SS值。
2.3 全氟癸酸銨鹽對廢水處理效果的影響
全氟癸酸銨鹽對廢水處理效果的影響如圖3所示。


由圖3可見,隨著全氟癸酸銨鹽加入量的增加,絮凝劑處理后的廢水SS值呈現出逐漸增加的趨勢,而廢水SS去除率則逐漸降低,且該變化趨勢受原廢水SS值的影響,廢水SS去除率隨著原廢水SS值的增大而減小。
為了進一步研究過硫酸銨的引入導致絮凝劑處理后廢水SS值升高的原因,以去離子水作為溶劑,分別對去離子水+絮凝劑、全氟癸酸銨鹽+CaO堿液+絮凝劑、全氟癸酸銨鹽+絮凝劑、全氟癸酸銨鹽+硝酸+絮凝劑以及絮凝劑+硝酸進行研究。全氟癸酸銨鹽對絮凝劑的影響如圖4所示。

由圖4可見,去離子水+絮凝劑和絮凝劑+硝酸兩組對照試驗樣品,在攪拌靜置之后沒有絮狀懸浮物或者沉淀生成,而在全氟癸酸銨鹽+CaO堿液+絮凝劑、全氟癸酸銨鹽+絮凝劑、全氟癸酸銨鹽+硝酸+絮凝劑樣品中,可以觀察到有明顯的絮狀沉淀生成,而且全氟癸酸銨鹽溶液的加入不會增加去離子水的SS值,因此,全氟癸酸銨鹽的引入會使得絮凝劑生成絮狀沉淀,從而降低了絮凝劑的凈水能力,導致處理后廢水SS值偏高。
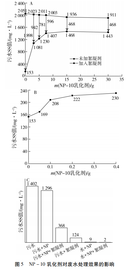
2.4 NP-10乳化劑對廢水處理效果的影響
NP-10乳化劑對廢水處理效果的影響如圖5所示。

原廢水經CaO溶液調節pH至8左右后,在未加入絮凝劑時,隨著NP-10乳化劑的加入,廢水的SS值有所降低,從原廢水的2051mg/L降至1911mg/L。而在加入絮凝劑之后,隨著NP-10乳化劑的增加,絮凝劑的凈水效果逐漸減弱,廢水SS值由1898mg/L降至468mg/L。即使將NP-10乳化劑的加入量降至0.05g,絮凝劑處理后的廢水SS值(169mg/L)仍然高于未添加NP-10乳化劑、絮凝劑處理后的廢水SS值(153mg/L)。如圖5C所示,隨著NP-10乳化劑的引入,原廢水SS值有所降低,但是經過絮凝劑處理后,NP-10乳化劑的引入會使得絮凝劑處理后的廢水SS值由124mg/L增至368mg/L,但是在去離子水空白對照試驗中,NP-10乳化劑對絮凝劑的凈水效果沒有影響。因此,NP-10乳化劑的引入不是對絮凝劑起作用而導致處理后廢水SS值升高,而是對廢水中的懸浮物起作用,導致絮凝劑處理后的廢水SS值偏高。分析原因如下:1)NP-10乳化劑具有較強的分散性,從而使得廢水中懸浮物分散更加均勻,導致絮凝劑的絮凝效果降低,處理后的廢水SS值有所升高;2)NP-10乳化劑的引入,會大幅增加廢水的黏度,從而降低了絮凝劑的處理效果。
3、結論
對絮凝劑加入量以及含氟聚合物生產中所產廢水組分中的過硫酸銨、全氟癸酸銨鹽和NP-10乳化劑4種影響因素對廢水處理效果進行了研究,結果表明:過硫酸銨對處理后廢水的SS值沒有影響,絮凝劑的加入量會直接影響處理后的廢水SS值。如果絮凝劑加入量偏低,會使得處理后的廢水SS值偏高。全氟癸酸銨鹽的引入會引起絮凝劑絮凝沉淀,從而使得凈水效果降低,處理后的廢水SS值升高。NP-10乳化劑的引入大幅增大了廢水黏度,加之NP-10乳化劑的分散性,大幅度降低了絮凝劑的水處理效果。(來源:金華永和氟化工有限公司)


