一、項目概況
該項目為碳酸飲料生產過程中產生的廢水,現有污水處理設施一套,系統一直運行穩定,但由于環保排放要求的提高,原有系統處理出水已經不能達到現在要求的排放標準(廣東省綜合排放標準DB4426-2001中的一級標準),其中主要是氨氮、總磷超標。所以為使污水站處理出水達標排放,決定將現有污水站進行改造擴建,以使處理出水達標排放。
二、原廢水水量和水質
根據業主提供的污水資料,污水處理站需要處理的廢水為碳酸飲料生產廢水,廢水水量為104m3/h;廢水主要成分和濃度見表1。

三、排放出水標準
廢水經處理后,出水達到《廣東省水污染物排放限值標準》(DB4426-2001)中的一級標準要求,部分指標具體如下表2。

四、設計原則
(1)選擇技術先進、工藝可靠、經濟合理的工藝;
(2)充分利用現有資源設施,盡量節約投資,完善系統;
(3)依據相關標準規范選擇確定污水處理工藝和設備,確保污水處理系統長期穩定可靠運行,出水達標排放。
五、設計采用的主要標準和規范
(1)《中華人民共和國水污染防治法》2018年1月1日;
(2)《中華人民共和國固體廢物污染環境防治法》2020年9月1日;
(3)《室外排水設計規范》(GB50014-2006);
(4)《建筑給水排水設計標準》(GB50015-2019);
(5)《混凝土結構設計規范》(GB50010-2010);
(6)《工業企業總平面設計規范》(GB50187-2012);
(7)《供電系統設計規范》(GB50052-2009);
(8)《低壓配電設計規范》(GB50054-2011);
(9)《城市污水處理廠污水、污泥排放標準》(CJ3025-93)。
六、廢水處理工藝設計
工藝選擇:廢水設計能力為104m3/h,在原有處理工藝的基礎上增加缺氧池、混凝池、絮凝池、沉淀池,出水氨氮、總磷達標排放。
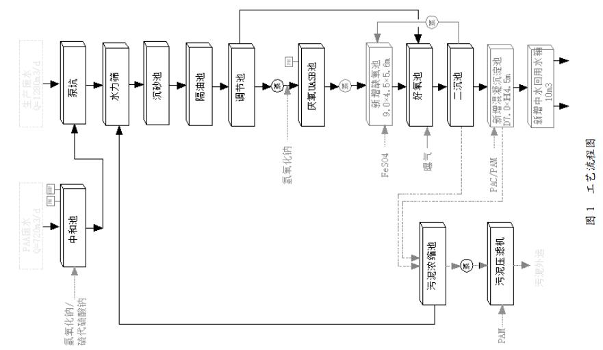
(一)工藝流程說明
(1)車間廢水自流至集水井,集水井內部設置粗格柵,去除瓶蓋、塑料瓶、塑料袋等懸浮垃圾;集水井內安裝兩臺潛污泵,提升污水至后續處理構筑物。
(2)廢水收集到調節池內,調節池進口處設1mm的細格柵,攔截部分較大的果肉,并去除部分不可降解的懸浮固體。
(3)調節池出水通過離心泵提升至UASB池,水泵出口管道上設置NaOH加藥點,通過PH計的控制自動投加NaOH,調整廢水的PH值,保證進入UASB的廢水PH在6.8—7.5之間。
(4)廢水經過UASB反應后,出水COD正常在500mg/L以下,生化性也有所提高。
(5)UASB出水自流進入新增缺氧池,缺氧池內部設置潛水推流攪拌器,并投加FeSO4藥劑,加藥量為50ppm。
(6)缺氧池出水自流進入好氧池,好氧池采用盤式曝氣器,污水經過好氧生化處理后,COD在90mg/L以下,即可達標排放。
(7)生物沉淀池底部污泥回流至好養池和缺氧池,回流比為100%(好氧池為70%,缺氧池為30%);上清液自流至中間緩沖水池;每日定時排泥至污泥濃縮池,然后用污泥泵(螺桿泵)將濃縮液打入帶式壓濾機進行脫水處理,干泥定期外運,污泥濃縮池中的上清液及壓濾機的濾液回流入集水井進行再處理。
(8)中間緩沖水池出水經提升泵至反應池。
(9)PH調整反應池內投加NaOH,內設攪拌機,轉速為97RPM;藥劑投加量為50PPM。
(10)混凝反應槽內投加PAC,內設攪拌機,轉速為97RPM;藥劑投加量為50PPM。
(11)絮凝反應槽內投加PAM,內設攪拌機,轉速為60RPM;藥劑投加量為3PPM。
(12)物化沉淀池內設刮泥機,轉速為4.98RPH,上清液達標排放,底部污泥定時排至污泥濃縮池。
(二)工藝流程圖
如圖1。

(三)新增構筑物及其設計參數
(1)缺氧池。
在UASB池后好氧池前增加1個缺氧池,主要是增加生化處理系統的脫氮除磷效果,使系統成A/O工藝;在缺氧池中投加FeSO4,可以最大限度去除厭氧過程釋放出來的磷酸鹽;設計尺寸:15.0×2.7×5.6m,污泥回流比:30%,水力停留時間:2小時,材質:Q235+環氧防腐。
(2)混凝絮凝沉淀池。
通過向池內投加PAC、PAM,并進行機械攪拌混合,使之進行反應。反應后至沉淀池進行泥水分離,進一步去除水中的TP,使出水達標;反應池、絮凝池尺寸:2.00×1.50×2.50m,設計水力停留時間6分鐘。
七、運行成本分析
運營管理費用只包括電費、水費、人工費,污泥最終處置及藥劑費用,不包括設備折舊費、修理基金。處理水量以2500噸/天計。
(一)電費
系統裝機功率約為20Kw,系統常用功率為14Kw,以每度電按0.60元計,則每天處理廢水的電費為:14Kw×0.60元/Kwh×24=201.6元/天。
(二)人工費
廢水處理站設置2人,每班1人,工資按照3000元計算,則每月6000元。
廢水的人工費用:6000元÷30天=200元/天。
(三)藥劑、自來水費用
藥劑需要加入FeSO4、PAC、PAM等,每天處理廢水約花費250元。
(四)污泥處理費用
按照除去每kgCOD,需要產生0.4kg干泥計算。
水量按照2500噸計算,進入好氧池COD濃度按照300mg/L計算,日除去COD量為750kgCOD,日平均產生2000kg污泥(85%含水率的污泥),污泥外運填埋,處理費用約為1000元。
總計每天處理廢水費用為:
電費+人工費+藥劑費+污泥處理費用=201+200+250+1000=1651元/天(RMB)
按照實際處理水量為2500噸/天計算,噸水處理成本增加0.66元。
運行費用根據污水處理濃度變化而變化。
八、結束語
通過集水井——隔油沉砂池——調節池——UASB池——缺氧池——好氧池——生物沉淀池——緩沖池——混凝反應槽——絮凝反應槽——沉淀池——養魚池排放工藝,使得碳酸飲料生產廢水中氨氮、總磷均滿足《廣東省水污染物排放限值標準》(DB4426-2001)中的一級標準要求。(來源:蘇州宜科環保工程有限公司,山東省公路設計咨詢有限公司)



