申請日2017.09.30
公開(公告)日2018.01.09
IPC分類號E03F3/02; E03F5/10; E03F7/02; E03F5/14; E03F1/00
摘要
本發明提供一種污水和雨水的分流制排水系統,包括市政道路上的污水干管,污水干管的出口設置有污水處理廠;市政道路上的雨水干管,雨水干管的末端與自然水體相連;單元區域內的雨水管道和污水管道,污水管道與所述污水干管相連;雨水管道的出口設置雨水處理系統,雨水處理系統包括分流設備和調蓄設施;雨水管道與分流設備的進水口連接,分流設備的第一出水口與污水干管連接,第二出水口與調蓄設施相連,第三出水口與雨水干管相連。本發明的系統結構簡單、建造方便,只需在小區有限的區域內建造分流設備和調蓄設施即可實現對小區區域內的混合污水的高效處理。
權利要求書
1.一種污水和雨水的分流制排水系統,所述系統包括:
市政道路上的污水干管,所述污水干管的出口設置有污水處理廠;
市政道路上的雨水干管,所述雨水干管的末端與自然水體相連;
單元區域內的雨水管道和污水管道,所述污水管道與所述污水干管相連;
其特征在于,所述雨水管道的出口設置雨水處理系統,所述雨水處理系統包括分流設備和調蓄設施;所述分流設備具有四個開口,分別是進水口、第一出水口、第二出水口和第三出水口;
所述雨水管道與分流設備的進水口連接,分流設備的第一出水口與污水干管連接,分流設備的第二出水口與調蓄設施相連,分流設備的第三出水口與雨水干管相連。
2.根據權利要求1所述的排水系統,其特征在于,所述單元區域為城市區域內以功能用途屬性劃分的包括建筑物和構筑物的土地區域;
優選地,所述單元區域的面積為0.01-0.6平方公里,優選為0.01-0.3平方公里;
優選地,所述雨水干管為市政道路上原有的雨水干管;或當所述市政道路上沒有雨水干管時,在市政道路上鋪設一條雨水干管;
優選地,所述分流設備選自分流井、棄流井或截流井。
3.根據權利要求1或2所述的排水系統,其特征在于,在分流設備的出水口上設置水利開關;
優選地,在每個出水口上均設置水利開關;在分流設備的第一出水口設置水利開關1,在分流設備的第二出水口設置水利開關2,在分流設備的第三出水口設置水利開關3;
優選地,所述系統還包括控制系統,所述控制系統包括用于監測分流設備的第一監測裝置、用于監測調蓄設施的第二監測裝置和與二者信號連接的控制單元;所述控制單元與水利開關1、水利開關2和水利開關3信號連接;所述第一監測裝置和第二監測裝置用于監測信號并將監測的信號輸送給控制單元,控制單元根據接收的信號控制水利開關1、水利開關2和水利開關3的開度;
優選地,所述第一監測裝置包括監測水體液位的裝置(例如可以是液位傳感器、液位計、液位開關等),監測水體水質的裝置(例如可以是水質檢測器、在線COD監測儀、在線TSS監測儀、在線BOD監測儀、在線TN監測儀、在線TP監測儀、在線NH3-N監測儀、在線氨氮監測儀、電極、電導率儀等),監測水體總量的裝置(例如可以是帶有計量功能的電動啟閉機等),監測雨量的裝置(如雨量計等),監測時間的裝置(如計時器等)中的至少一種;
優選地,所述第一監測裝置根據類型需求可設置在分流設備井體內或分流設備井體外;例如,監測水體液位的裝置和監測水體水質的裝置設置在分流設備井體內,監測雨量的裝置設置在分流設備井體外,監測水體總量的裝置設置在分流設備井體中的水利開關上,監測時間的裝置設置在分流設備井體內或井體外;
優選地,所述第二監測裝置包括監測水體液位的裝置(例如可以是液位傳感器、液位計、液位開關等);
優選地,所述第二監測裝置設置于調蓄設施中;
優選地,所述分流設備可以為槽式、堰式或槽堰式分流設備;
優選地,所述水利開關1、水利開關2和水利開關3相同或不同;彼此獨立地選自閥門、閘門、拍門或者堰門;
優選為上開式閘門、下開式閘門、下開式堰門、旋轉堰門、浮筒截流裝置、閘閥、蝶閥、球閥、升降式橡膠瓣截流止回閥、或截流拍門。
4.根據權利要求1-3任一項所述的排水系統,其特征在于,所述調蓄設施選自初雨調蓄池、溢流調蓄池、調蓄箱涵和深隧中的任一種或兩種以上的組合,優選為初雨調蓄池;
優選地,所述分流設備可以為一個或更多個。
5.根據權利要求1-4任一項所述的排水系統,其特征在于,所述系統還包括雨水預處理系統;其可以并入所述雨水干管上,或者設于所述雨水干管旁。
6.根據權利要求5所述的排水系統,其特征在于,所述雨水預處理系統包括分流井、雨水過濾器、顆粒分離器、圓筒過濾器、雨水分離器、水力旋流分離器、滲透池、磁分離裝置、介質過濾器、在線處理池中的一種或多種;
優選地,所述雨水預處理系統還包括調蓄設施和/或截流裝置和/或流量控制裝置;
優選地,所述雨水預處理系統包括分流井、截流裝置、流量控制裝置、雨水過濾器、調蓄設施,所述分流井設置在所述市政道路上的雨水干管上,當所述分流井為槽式時,不設置截流裝置;分流井進水口位置處為分流井前側,分流井第一出水口位置處為分流井后側;所述分流井的進水口與所述分流井前側的所述市政道路上的雨水干管連通,所述分流井的第一出水口與所述分流井后側的所述市政道路上的雨水干管連通,所述截流裝置設置在所述分流井的第一出水口處;所述分流井的第二出水口處設置流量控制裝置,所述流量控制裝置的另一端與雨水過濾器、調蓄設施依次相連,所述調蓄設施的出水口與污水管道連通;
優選地,所述雨水預處理系統包括分流井、截流裝置、顆粒分離器、圓筒過濾器,所述分流井設置在所述市政道路上的雨水干管上,當所述分流井為槽式時,不設置截流裝置;分流井進水口位置處為分流井前側,分流井第一出水口位置處為分流井后側;所述分流井的進水口與所述分流井前側的所述市政道路上的雨水干管連通,所述分流井的第一出水口與所述分流井后側的所述市政道路上的雨水干管連通,所述截流裝置設置在所述分流井的第一出水口處;所述分流井的第二出水口與顆粒分離器、圓筒過濾器依次相連,所述圓筒過濾器的出水口與所述分流井后側的所述市政道路上的雨水干管連通;
優選地,所述雨水預處理系統包括分流井、截流裝置、水力旋流分離器、滲透池和流量控制裝置,所述分流井設置在所述市政道路上的雨水干管上,當所述分流井為槽式時,不設置截流裝置;分流井進水口位置處為分流井前側,分流井第一出水口位置處為分流井后側;所述分流井的進水口與所述分流井前側的所述市政道路上的雨水干管連通,所述分流井的第一出水口與所述分流井后側的所述市政道路上的雨水干管連通,所述截流裝置設置在所述分流井的第一出水口處;所述分流井的第二出水口處設置流量控制裝置,所述流量控制裝置的另一端與水力旋流分離器、滲透池依次相連,位于所述滲透池內的水滲透至地下;
優選地,所述雨水預處理系統包括分流井、截流裝置、磁分離裝置、滲透池、介質過濾器,所述分流井設置在所述市政道路上的雨水干管上,當所述分流井為槽式時,不設置截流裝置;分流井進水口位置處為分流井前側,分流井第一出水口位置處為分流井后側;所述分流井的進水口與所述分流井前側的所述市政道路上的雨水干管連通,所述分流井的第一出水口與所述分流井后側的所述市政道路上的雨水干管連通,所述截流裝置設置在所述分流井的第一出水口處;所述分流井的第二出水口與磁分離裝置、滲透池、介質過濾器依次相連,所述介質過濾器的出水口與所述分流井后側的所述市政道路上的雨水干管連通;
優選地,所述雨水預處理系統包括第一分流井、第二分流井、截流裝置、在線處理池和流量控制裝置,所述第一分流井設置在所述市政道路上的雨水干管上,當所述第一分流井為槽式時,不設置截流裝置;第一分流井進水口位置處為分流井前側,第一分流井第一出水口位置處為分流井后側;所述第一分流井的進水口與所述第一分流井前側的所述市政道路上的雨水干管連通,所述第一分流井的第一出水口與所述第一分流井后側的所述市政道路上的雨水干管連通,所述截流裝置設置在所述第一分流井的第一出水口處;所述第一分流井的第二出水口與所述第二分流井的進水口連接,所述第二分流井的第一出水口與污水管道的一端連接,污水管道的另一端與污水處理廠連接;所述第二分流井的第二出水口與在線處理池的進水口連接,在線處理池的出水口與所述第一分流井后側的所述市政道路上的雨水干管連通;所述流量控制裝置設置在第一分流井的第二出水口處或分別設置在第二分流井的第一出水口處和第二分流井的第二出水口處;
優選地,所述截流裝置為固定堰;或者水利開關。
7.根據權利要求5或6所述的排水系統,其特征在于,所述雨水干管上可以設置一個或多個雨水預處理系統,或多個雨水預處理系統的組合;
優選地,當雨水干管上設置多個雨水預處理系統或多個雨水預處理系統的組合時,相鄰的兩個雨水預處理系統或兩個雨水預處理系統的組合之間的距離為0.2-1公里。
8.根據權利要求1-7任一項所述的排水系統,其特征在于,所述污水處理廠的出水管與自然水體相連。
9.根據權利要求1-8任一項所述的排水系統,其特征在于,所述系統還包括生物濾池,其可以設置在污水處理廠的出水管上;
優選地,所述生物濾池可以為一個或多個。
10.一種權利要求1-9任一項所述的污水和雨水的分流制排水系統的控制方法,其特征在于,所述方法包括:
晴天時,污水管道的污水通過污水干管流入污水處理廠進行處理;分流設備將雨水管道錯接混接的生活污水分流至污水干管進入污水處理廠處理;
初期降雨時,污水管道的污水通過污水干管流入污水處理廠進行處理;分流設備將雨水管道錯接混接的生活污水與進入小區內的雨水管道的雨水形成的混合污水分流至污水干管進入污水處理廠處理;
中后期降雨時,當水量超過通往污水處理廠的截污管的最大過流量時,分流設備將混合污水分流至調蓄設施中存儲;
泄洪時,當調蓄設施中的水量達到最大儲水量時,分流設備直接將混合污水分流至雨水干管;
優選地,本發明的方法還包括:
晴天時,水利開關1開啟,水利開關2、水利開關3關閉,污水管道的污水通過污水干管流入污水處理廠進行處理;雨水管道錯接混接的生活污水經過水利開關1和污水干管進入污水處理廠處理;
初期降雨時,水利開關1開啟,水利開關2、水利開關3關閉,污水管道的污水通過污水干管流入污水處理廠進行處理;雨水管道錯接混接的生活污水與進入小區內的雨水管道的雨水形成的混合污水經過水利開關1和污水干管進入污水處理廠處理;
中后期降雨時,當水量超過通往污水處理廠的截污管的最大過流量時,開啟水利開關2,混合污水進入調蓄設施中存儲;
泄洪時,當調蓄設施中的水量達到最大儲水量時,關閉水利開關2,開啟水利開關3,混合污水流入雨水干管。
說明書
一種污水和雨水的分流制排水系統與控制方法
技術領域
本發明涉及一種分流制排水管網系統,具體涉及一種污水和雨水的分流制排水系統與控制方法。
背景技術
城市市政排水系統主要分為合流制排水系統和分流制排水系統。最早出現的合流制排水系統是將污水、工業廢水和雨水混合在同一個管渠內,不經任何處理就直接就近排入水體,使受納水體遭受嚴重污染,國內外很多老城市幾乎都采用這種方式。現在常采用的是截流式合流制排水系統。
截流式合流制排水系統與傳統的合流制排水系統在結構上基本相同,區別點在于截流式合流制排水系統在市政合流干管與污水處理廠之間設置有截流井。截流式合流制排水系統工作時,居民排出的污水和雨水口收集的雨水都通過合流總管進入市政合流干管,市政道路沿線的雨水口收集的雨水也都進入市政合流干管,在干管末端設置截流井。晴天時,所有污水都輸送至污水廠,經處理后排放到自然水體。降雨時,污水和降雨初期的雨水也會被輸送至污水廠,經處理后排放到自然水體。但隨著降雨量的增加,雨水徑流也增加,當混合污水的流量超過截流干管的輸水能力后,就會有部分混合污水溢流而直接進入自然水體。
針對這種合流制排水系統,其問題主要是:①降雨時,居住區及市政道路上會產生面源污染,現有的合流制排水系統雖然在末端設有截流井進行截流,但是設計的截流倍數不夠,使得截流井沒能對面源污染物進行攔截,面源污染物直接進入自然水體,對自然水體造成污染。②若要對面源污染進行控制,就需要增大截流井的尺寸,增大截流干管的尺寸,增加污水廠的容量。③截流井的截流為粗放式的控制,不能精確地對初期雨水進行截流。
分流制排水系統按照排除雨水方式的不同,又分為完全分流制和不完全分流制兩種排水系統。完全分流制排水系統是完全將雨水和生活污水、工業污水分離,由不同的管道進行輸送。居民排出的污水通過污水管道進入污水干管,然后輸送至污水廠處理后排放,雨水口收集的雨水通過雨水管道進入雨水干管,直接排放到自然水體。市政道路沿線的雨水口收集的雨水也都進入雨水干管,直接排放到自然水體。在這種分流制排水系統中,存在著很多問題:①居住區內的部分污水錯誤地進入了雨水管道,比如陽臺上洗衣機排出的污水會直接排放到自然水體。②市政道路上的部分污水錯誤地進入了雨水管道,比如道路清洗時產生的污水會直接排放到自然水體。③降雨時,居住區及市政道路上會產生面源污染,面源污染物會直接進入自然水體。
不完全分流制主要是針對雨水的收集處理上,將居民區收集的雨水和市政道路上收集到的雨水進行分離。居民排出的污水和雨水口收集的雨水都通過合流總管排出,在進入市政排水管道之前設置截流井進行截流。市政道路沿線的雨水口收集的雨水進入雨水干管,直接排放到自然水體。晴天時,居住區排放的污水被截流至污水干管,然后輸送至污水廠,經處理后排放到自然水體,但市政道路上會有部分污水進入雨水干管而直接排放到自然水體。降雨時,居住區排放的污水和降雨初期的雨水也會被截流至污水干管,然后輸送至污水廠,經處理后排放到自然水體,但隨著降雨量的增加,雨水徑流也增加,當混合污水的流量超過截流管道的輸水能力后,就會有部分混合污水溢流而直接進入雨水干管,同時市政道路上攜帶有大量污染物的初期雨水也會直接進入雨水干管,然后排放到自然水體。這種排水系統的問題主要是:①整個系統不能對面源污染物進行有效地攔截,攔截效率低。②不能對進入雨水管道的污水進行控制。③降雨時,污水易被雨水攜帶進入自然水體。④截流井的控制粗放,一方面可能不能將更多的初期雨水送入污水廠處理,使得面源污染物排放到了自然水體,另一方面可能將大量的后期雨水送入污水廠,增加了污水廠的負荷,降低了污水廠的處理效率。
總體說來,目前的排水體制存在著以下問題:第一,不能對面源污染進行控制;第二,控制粗放,不能對污水和初期雨水進行精確控制;第三,管道混接,污水直接排放到了自然水體;第四,對于用地緊張的地區,末端治理不能有效實施。
同時,本發明人還發現,在先的雨污管網設計的不夠完善,大量原有的雨水管道及雨水干管沒有對其收集的雨水與錯接混接排入其中的生活污水進行分離,使污水和雨水直接排放到遠端的自然水體,造成水體污染嚴重。
發明內容
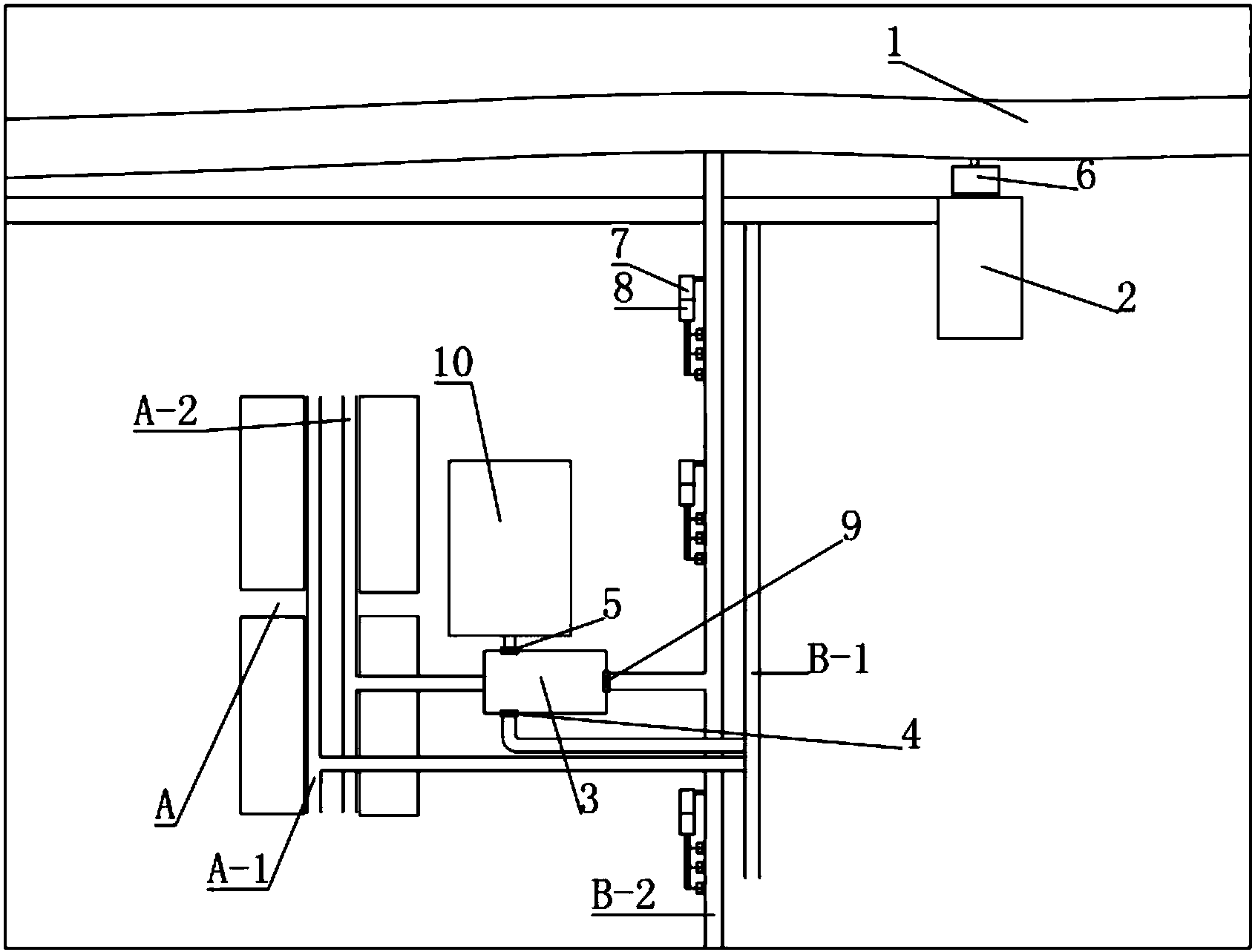
為了克服現有技術的缺陷,本發明提供一種污水和雨水的分流制排水系統,所述系統包括:
市政道路上的污水干管,所述污水干管的出口設置有污水處理廠;
市政道路上的雨水干管,所述雨水干管的末端與自然水體相連;
單元區域內的雨水管道和污水管道,所述污水管道與所述污水干管相連;
其中,所述雨水管道的出口設置雨水處理系統,所述雨水處理系統包括分流設備和調蓄設施;所述分流設備具有四個開口,分別是進水口、第一出水口、第二出水口和第三出水口;
所述雨水管道與分流設備的進水口連接,分流設備的第一出水口與污水干管連接,分流設備的第二出水口與調蓄設施相連,分流設備的第三出水口與雨水干管相連。
根據本發明,所述單元區域為城市區域內以功能用途屬性劃分的包括建筑物和構筑物的土地區域。
根據本發明,所述單元區域的面積為0.01-0.6平方公里,優選為0.01-0.3平方公里。
根據本發明,所述雨水干管為市政道路上原有的雨水干管;或當所述市政道路上沒有雨水干管時,在市政道路上鋪設一條雨水干管。
根據本發明,所述分流設備選自分流井、棄流井或截流井。
根據本發明,在分流設備的出水口上設置水利開關。優選地,在每個出水口上均設置水利開關。在分流設備的第一出水口設置水利開關1,在分流設備的第二出水口設置水利開關2,在分流設備的第三出水口設置水利開關3。
根據本發明,所述系統還包括控制系統,所述控制系統包括用于監測分流設備的第一監測裝置、用于監測調蓄設施的第二監測裝置和與二者信號連接的控制單元;所述控制單元與水利開關1、水利開關2和水利開關3信號連接;所述第一監測裝置和第二監測裝置用于監測信號并將監測的信號輸送給控制單元,控制單元根據接收的信號控制水利開關1、水利開關2和水利開關3的開度。
優選地,所述第一監測裝置包括監測水體液位的裝置(例如可以是液位傳感器、液位計、液位開關等),監測水體水質的裝置(例如可以是水質檢測器、在線COD監測儀、在線TSS監測儀、在線BOD監測儀、在線TN監測儀、在線TP監測儀、在線NH3-N監測儀、在線氨氮監測儀、電極、電導率儀等),監測水體總量的裝置(例如可以是帶有計量功能的電動啟閉機等),監測雨量的裝置(如雨量計等),監測時間的裝置(如計時器等)中的至少一種。
優選地,所述第一監測裝置根據類型需求可設置在分流設備井體內或分流設備井體外。例如,監測水體液位的裝置和監測水體水質的裝置設置在分流設備井體內,監測雨量的裝置設置在分流設備井體外,監測水體總量的裝置設置在分流設備井體中的水利開關上,監測時間的裝置設置在分流設備井體內或井體外。
優選地,所述第二監測裝置包括監測水體液位的裝置(例如可以是液位傳感器、液位計、液位開關等)。
優選地,所述第二監測裝置設置于調蓄設施中。
優選地,所述分流設備可以為槽式、堰式或槽堰式分流設備。
根據本發明,所述水利開關1、水利開關2和水利開關3相同或不同;彼此獨立地選自閥門、閘門、拍門或者堰門;優選為上開式閘門、下開式閘門、下開式堰門、旋轉堰門、浮筒截流裝置、閘閥、蝶閥、球閥、升降式橡膠瓣截流止回閥、或截流拍門。
根據本發明,所述調蓄設施選自初雨調蓄池、溢流調蓄池、調蓄箱涵和深隧中的任一種或兩種以上的組合,優選為初雨調蓄池。
根據本發明,所述分流設備可以為一個或更多個。
根據本發明,所述系統還包括雨水預處理系統;其可以并入所述雨水干管上,或者設于所述雨水干管旁。
根據本發明,所述雨水預處理系統包括分流井、雨水過濾器、顆粒分離器、圓筒過濾器、雨水分離器、水力旋流分離器、滲透池、磁分離裝置、介質過濾器、在線處理池中的一種或多種。
優選地,所述雨水預處理系統還包括調蓄設施和/或截流裝置和/或流量控制裝置。
根據本發明,所述雨水預處理系統包括分流井、截流裝置、流量控制裝置、雨水過濾器、調蓄設施,所述分流井設置在所述市政道路上的雨水干管上,當所述分流井為槽式時,不設置截流裝置;
分流井進水口位置處為分流井前側,分流井第一出水口位置處為分流井后側;
所述分流井的進水口與所述分流井前側的所述市政道路上的雨水干管連通,所述分流井的第一出水口與所述分流井后側的所述市政道路上的雨水干管連通,所述截流裝置設置在所述分流井的第一出水口處;所述分流井的第二出水口處設置流量控制裝置,所述流量控制裝置的另一端與雨水過濾器、調蓄設施依次相連,所述調蓄設施的出水口與污水管道連通。
根據本發明,所述雨水預處理系統包括分流井、截流裝置、顆粒分離器、圓筒過濾器,所述分流井設置在所述市政道路上的雨水干管上,當所述分流井為槽式時,不設置截流裝置;
分流井進水口位置處為分流井前側,分流井第一出水口位置處為分流井后側;
所述分流井的進水口與所述分流井前側的所述市政道路上的雨水干管連通,所述分流井的第一出水口與所述分流井后側的所述市政道路上的雨水干管連通,所述截流裝置設置在所述分流井的第一出水口處;所述分流井的第二出水口與顆粒分離器、圓筒過濾器依次相連,所述圓筒過濾器的出水口與所述分流井后側的所述市政道路上的雨水干管連通。
根據本發明,所述雨水預處理系統包括分流井、截流裝置、水力旋流分離器、滲透池和流量控制裝置,所述分流井設置在所述市政道路上的雨水干管上,當所述分流井為槽式時,不設置截流裝置;
分流井進水口位置處為分流井前側,分流井第一出水口位置處為分流井后側;
所述分流井的進水口與所述分流井前側的所述市政道路上的雨水干管連通,所述分流井的第一出水口與所述分流井后側的所述市政道路上的雨水干管連通,所述截流裝置設置在所述分流井的第一出水口處;所述分流井的第二出水口處設置流量控制裝置,所述流量控制裝置的另一端與水力旋流分離器、滲透池依次相連,位于所述滲透池內的水滲透至地下。
根據本發明,所述雨水預處理系統包括分流井、截流裝置、磁分離裝置、滲透池、介質過濾器,所述分流井設置在所述市政道路上的雨水干管上,當所述分流井為槽式時,不設置截流裝置;
分流井進水口位置處為分流井前側,分流井第一出水口位置處為分流井后側;
所述分流井的進水口與所述分流井前側的所述市政道路上的雨水干管連通,所述分流井的第一出水口與所述分流井后側的所述市政道路上的雨水干管連通,所述截流裝置設置在所述分流井的第一出水口處;所述分流井的第二出水口與磁分離裝置、滲透池、介質過濾器依次相連,所述介質過濾器的出水口與所述分流井后側的所述市政道路上的雨水干管連通。
根據本發明,所述雨水預處理系統包括第一分流井、第二分流井、截流裝置、在線處理池和流量控制裝置,所述第一分流井設置在所述市政道路上的雨水干管上,當所述第一分流井為槽式時,不設置截流裝置;
第一分流井進水口位置處為分流井前側,第一分流井第一出水口位置處為分流井后側;
所述第一分流井的進水口與所述第一分流井前側的所述市政道路上的雨水干管連通,所述第一分流井的第一出水口與所述第一分流井后側的所述市政道路上的雨水干管連通,所述截流裝置設置在所述第一分流井的第一出水口處;所述第一分流井的第二出水口與所述第二分流井的進水口連接,所述第二分流井的第一出水口與污水管道的一端連接,污水管道的另一端與污水處理廠連接;所述第二分流井的第二出水口與在線處理池的進水口連接,在線處理池的出水口與所述第一分流井后側的所述市政道路上的雨水干管連通;
所述流量控制裝置設置在第一分流井的第二出水口處或分別設置在第二分流井的第一出水口處和第二分流井的第二出水口處。
根據本發明,所述截流裝置為固定堰;或者水利開關。
根據本發明,所述雨水干管上可以設置一個或多個雨水預處理系統,或多個雨水預處理系統的組合。
根據本發明,當雨水干管上設置多個雨水預處理系統或多個雨水預處理系統的組合時,相鄰的兩個雨水預處理系統或兩個雨水預處理系統的組合之間的距離為0.2-1公里。
根據本發明,所述污水處理廠的出水管與自然水體相連。
根據本發明,所述系統還包括生物濾池,其可以設置在污水處理廠的出水管上。
根據本發明,所述生物濾池可以為一個或多個。
本發明還提供一種上述污水和雨水的分流制排水系統的控制方法,所述方法包括:
晴天時,污水管道的污水通過污水干管流入污水處理廠進行處理;分流設備將雨水管道錯接混接的生活污水分流至污水干管進入污水處理廠處理;
初期降雨時,污水管道的污水通過污水干管流入污水處理廠進行處理;分流設備將雨水管道錯接混接的生活污水與進入小區內的雨水管道的雨水形成的混合污水分流至污水干管進入污水處理廠處理;
中后期降雨時,當水量超過通往污水處理廠的截污管的最大過流量時,分流設備將混合污水分流至調蓄設施中存儲;
泄洪時,當調蓄設施中的水量達到最大儲水量時,分流設備直接將混合污水分流至雨水干管。
優選地,本發明的方法還包括:
晴天時,水利開關1開啟,水利開關2、水利開關3關閉,污水管道的污水通過污水干管流入污水處理廠進行處理;雨水管道錯接混接的生活污水經過水利開關1和污水干管進入污水處理廠處理;
初期降雨時,水利開關1開啟,水利開關2、水利開關3關閉,污水管道的污水通過污水干管流入污水處理廠進行處理;雨水管道錯接混接的生活污水與進入小區內的雨水管道的雨水形成的混合污水經過水利開關1和污水干管進入污水處理廠處理;
中后期降雨時,當水量超過通往污水處理廠的截污管的最大過流量時,開啟水利開關2,混合污水進入調蓄設施中存儲;
泄洪時,當調蓄設施中的水量達到最大儲水量時,關閉水利開關2,開啟水利開關3,混合污水流入雨水干管。
本發明的有益效果
(1)本發明的系統結構簡單、建造方便,只需在小區有限的區域內建造分流設備和調蓄設施即可實現對小區區域內的混合污水的高效處理。
(2)本發明通過將分流設備和調蓄設施設置于小區區域內,占地面積小,可設置于地下,有效地避免大幅度對小區區域內管道的改建,解決了小區用地緊張的問題。
(3)本發明源頭的分流處理,初雨從地面到分流設備的過流時間大大縮短,從而減少此源頭區域如小區后期雨水與初期雨水混合的概率,截留或收集的初期雨水濃度就會更高,截污效率很高。
(4)末端截污時,管道底部的積泥會影響初雨的特性,讓初雨的特性變的不明顯,但源頭截污管道較短,積泥的影響基本可以忽略不計,初雨特征變得非常明顯。
(5)末端截污時,管道距離較長,管道的破損會造成管線沿途地下水滲入,會稀釋初雨的濃度,對初雨截取一定量的初雨就會含有一定比例的外來水;但在源頭截污,由于管道較短,管網的問題基本可以忽略不計,截取的初雨濃度也將大大提高。



