申請日2017.09.30
公開(公告)日2018.01.30
IPC分類號G01N1/14
摘要
本發明涉及一種水質取樣設備,尤其涉及一種工業廢水處理用不同深度的水質取樣設備。本發明要解決的技術問題是提供一種能對根據不同需求調節需要取樣的深度,并且可以不同位置同時取樣的工業廢水處理用不同深度的水質取樣設備。為了解決上述技術問題,本發明提供了這樣一種工業廢水處理用不同深度的水質取樣設備,包括有安裝架等;安裝架上均勻設有取樣機構,安裝架上設有調節機構,取樣機構和調節機構相互配合。本發明設置了一種工業廢水處理用不同深度的水質取樣設備,取樣機構的設置可以實現多個取樣管同時取樣水質,方便了工作人員的工作,調節機構的設置可以方便對取樣管高度的調節,從而實現對同一個地方不同深度的污水水質同時進行取樣。
權利要求書
1.一種工業廢水處理用不同深度的水質取樣設備,其特征在于,包括有安裝架(1)、取樣機構(2)和調節機構(3),安裝架(1)上均勻設有取樣機構(2),安裝架(1)上設有調節機構(3),取樣機構(2)和調節機構(3)相互配合。
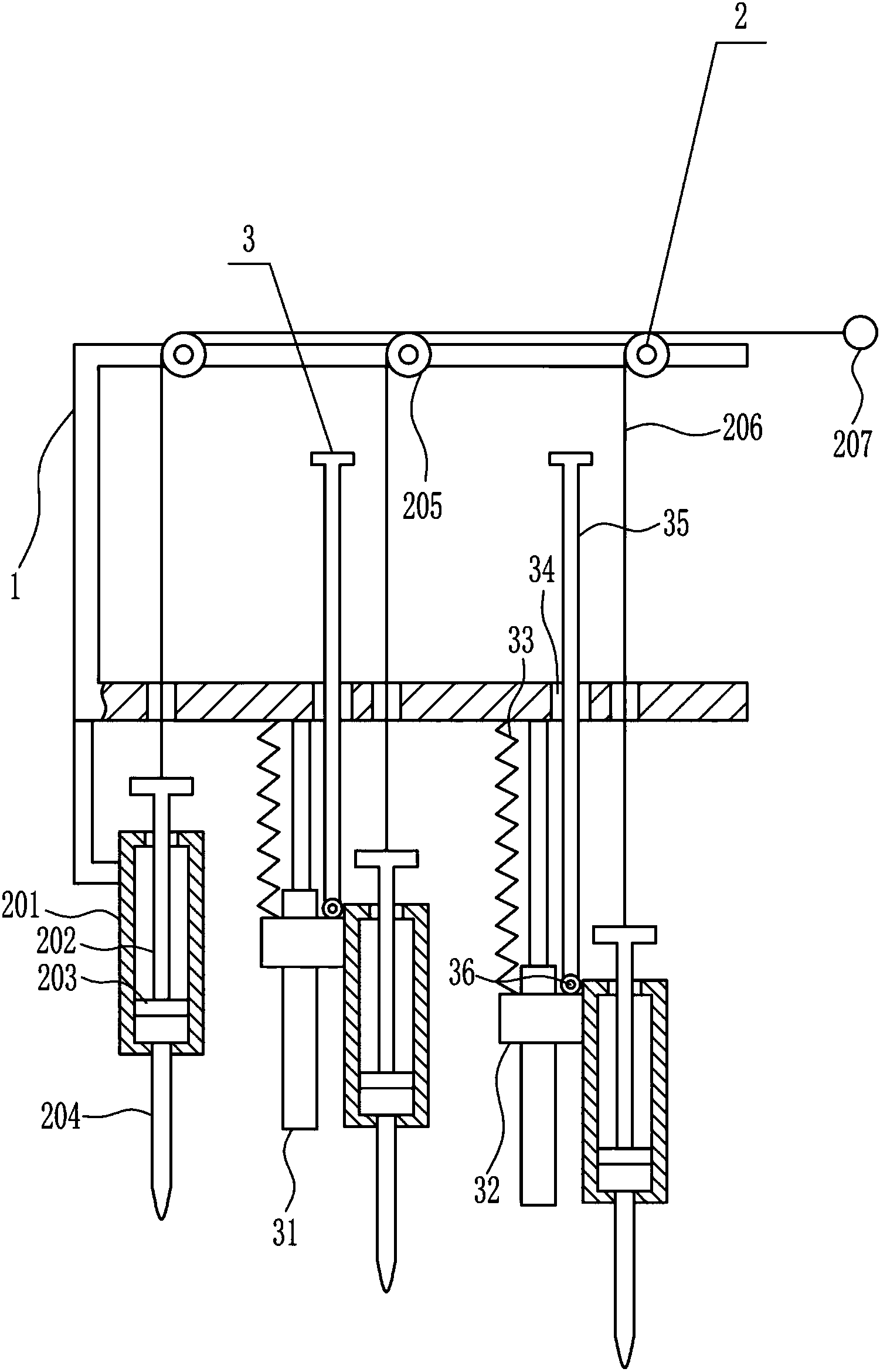
2.根據權利要求1所述的一種工業廢水處理用不同深度的水質取樣設備,其特征在于,取樣機構(2)包括有取樣管(201)、拉桿(202)、活塞(203)、吸管(204)、第一導向輪(205)、第一鋼絲繩(206)和拉環(207),安裝架(1)下部均勻設有取樣管(201),中部和右部的取樣管(201)連接在調節機構(3)上,左側的取樣管(201)連接在安裝架(1)的左部下方,取樣管(201)內設有拉桿(202),拉桿(202)穿過取樣管(201)的頂部,拉桿(202)底端連接有活塞(203),活塞(203)的外壁與取樣管(201)的內壁接觸配合,取樣管(201)的底部中間連接有吸管(204),拉桿(202)的頂端連接有第一鋼絲繩(206),第一鋼絲繩(206)穿過安裝架(1)的下部,安裝架(1)的頂部均勻連接有第一導向輪(205),第一鋼絲繩(206)繞過第一導向輪(205),第一鋼絲繩(206)上部右端連接有拉環(207)。
3.根據權利要求2所述的一種工業廢水處理用不同深度的水質取樣設備,其特征在于,調節機構(3)包括有滑軌(31)、滑塊(32)、彈簧(33)、升降桿(35)和接觸輪(36),安裝架(1)的下部中部與右側均連接有滑軌(31),滑軌(31)上滑動式連接有滑塊(32),滑軌(31)與滑塊(32)配合,中部和右部的滑塊(32)右端分別與中部和右部的取樣管(201)連接,滑塊(32)頂端與安裝架(1)的下部之間連接有彈簧(33),安裝架(1)下部的中部和右部均開有螺紋孔(34),螺紋孔(34)內通過螺紋連接的方式連接有升降桿(35),升降桿(35)上設有與螺紋孔(34)配合的外螺紋,升降桿(35)底端轉動式連接有接觸球,接觸球與滑塊(32)接觸配合。
4.根據權利要求3所述的一種工業廢水處理用不同深度的水質取樣設備,其特征在于,還包括有支架(4)、移動框(5)、滾輪(6)、第二鋼絲繩(7)、轉輪(8)、第三鋼絲繩(9)和第二導向輪(10),安裝架(1)外部設有支架(4),支架(4)頂部設有移動框(5),移動框(5)的左右前后兩側均轉動式連接有滾輪(6),滾輪(6)與支架(4)頂部接觸配合,移動框(5)內中部的左右兩側轉動式對稱連接有轉輪(8),支架(4)的頂部左側連接有第二鋼絲繩(7),第二鋼絲繩(7)繞過轉輪(8),第二鋼絲繩(7)穿過支架(4)的上部,第二鋼絲繩(7)的底端與安裝架(1)的頂部連接,支架(4)的上部右端連接有第二導向輪(10),移動框(5)的右端連接有第三鋼絲繩(9),第三鋼絲繩(9)繞過第二導向輪(10)。
5.根據權利要求4所述的一種工業廢水處理用不同深度的水質取樣設備,其特征在于,還包括有滾動軸承座(11)、轉桿(12)、繞線輪(13)、蝸輪(14)、電機(15)和蝸桿(16),支架(4)右側中部連接有滾動軸承座(11),滾動軸承座(11)上連接有轉桿(12),轉桿(12)的中部連接有繞線輪(13),第三鋼絲繩(9)繞在繞線輪(13)上,轉桿(12)的右部連接有蝸輪(14),支架(4)的右側下部連接有電機(15),電機(15)的輸出軸后端連接有蝸桿(16),蝸桿(16)與蝸輪(14)嚙合。
6.根據權利要求5所述的一種工業廢水處理用不同深度的水質取樣設備,其特征在于,還包括有環形塊(17)、濾網框(19)和轉塊(20),取樣管(201)的下部連接有環形塊(17),環形塊(17)下部開有螺紋槽(18),取樣管(201)下部設有濾網框(19),濾網框(19)上部外壁連接有轉塊(20),轉塊(20)頂部設有與螺紋槽(18)配合的外螺紋。
說明書
一種工業廢水處理用不同深度的水質取樣設備
技術領域
本發明涉及一種水質取樣設備,尤其涉及一種工業廢水處理用不同深度的水質取樣設備。
背景技術
工業廢水包括生產廢水、生產污水及冷卻水,是指工業生產過程中產生的廢水和廢液,其中含有隨水流失的工業生產用料、中間產物、副產品以及生產過程中產生的污染物。工業廢水種類繁多,成分復雜。例如電解鹽工業廢水中含有汞,重金屬冶煉工業廢水含鉛、鎘等各種金屬,電鍍工業廢水中含氰化物和鉻等各種重金屬,石油煉制工業廢水中含酚,農藥制造工業廢水中含各種農藥等。由于工業廢水中常含有多種有毒物質,污染環境對人類健康有很大危害,因此要開發綜合利用,化害為利,并根據廢水中污染物成分和濃度,采取相應的凈化措施進行處置后,才可排放。工業廢水治理指的是工業生產過程用過的水經過適當處理回用于生產或妥善地排放出廠,包括生產用水的管理和為便于治理廢水而采取的措施。
現在對排放的工業廢水要進行水質取樣檢測,然而水質的取樣都是人工直接對某一個地方的水取樣,不能夠對同一個地方不同深度的水質進行取樣對比,導致不能對污水全面的檢測。
因此亟需研發一種能對根據不同需求調節需要取樣的深度,并且可以不同位置同時取樣的工業廢水處理用不同深度的水質取樣設備,來克服現有技術中只能對同一位置同一深度對水質取樣的缺點。
發明內容
(1)要解決的技術問題
本發明為了克服現有技術中只能對同一位置同一深度對水質取樣的缺點,本發明要解決的技術問題是提供一種能對根據不同需求調節需要取樣的深度,并且可以不同位置同時取樣的工業廢水處理用不同深度的水質取樣設備。
(2)技術方案
為了解決上述技術問題,本發明提供了這樣一種工業廢水處理用不同深度的水質取樣設備,包括有安裝架、取樣機構和調節機構,安裝架上均勻設有取樣機構,安裝架上設有調節機構,取樣機構和調節機構相互配合。
優選地,取樣機構包括有取樣管、拉桿、活塞、吸管、第一導向輪、第一鋼絲繩和拉環,安裝架下部均勻設有取樣管,中部和右部的取樣管連接在調節機構上,左側的取樣管連接在安裝架的左部下方,取樣管內設有拉桿,拉桿穿過取樣管的頂部,拉桿底端連接有活塞,活塞的外壁與取樣管的內壁接觸配合,取樣管的底部中間連接有吸管,拉桿的頂端連接有第一鋼絲繩,第一鋼絲繩穿過安裝架的下部,安裝架的頂部均勻連接有第一導向輪,第一鋼絲繩繞過第一導向輪,第一鋼絲繩上部右端連接有拉環。
優選地,調節機構包括有滑軌、滑塊、彈簧、升降桿和接觸輪,安裝架的下部中部與右側均連接有滑軌,滑軌上滑動式連接有滑塊,滑軌與滑塊配合,中部和右部的滑塊右端分別與中部和右部的取樣管連接,滑塊頂端與安裝架的下部之間連接有彈簧,安裝架下部的中部和右部均開有螺紋孔,螺紋孔內通過螺紋連接的方式連接有升降桿,升降桿上設有與螺紋孔配合的外螺紋,升降桿底端轉動式連接有接觸球,接觸球與滑塊接觸配合。
優選地,還包括有支架、移動框、滾輪、第二鋼絲繩、轉輪、第三鋼絲繩和第二導向輪,安裝架外部設有支架,支架頂部設有移動框,移動框的左右前后兩側均轉動式連接有滾輪,滾輪與支架頂部接觸配合,移動框內中部的左右兩側轉動式對稱連接有轉輪,支架的頂部左側連接有第二鋼絲繩,第二鋼絲繩繞過轉輪,第二鋼絲繩穿過支架的上部,第二鋼絲繩的底端與安裝架的頂部連接,支架的上部右端連接有第二導向輪,移動框的右端連接有第三鋼絲繩,第三鋼絲繩繞過第二導向輪。
優選地,還包括有滾動軸承座、轉桿、繞線輪、蝸輪、電機和蝸桿,支架右側中部連接有滾動軸承座,滾動軸承座上連接有轉桿,轉桿的中部連接有繞線輪,第三鋼絲繩繞在繞線輪上,轉桿的右部連接有蝸輪,支架的右側下部連接有電機,電機的輸出軸后端連接有蝸桿,蝸桿與蝸輪嚙合。
優選地,還包括有環形塊、濾網框和轉塊,取樣管的下部連接有環形塊,環形塊下部開有螺紋槽,取樣管下部設有濾網框,濾網框上部外壁連接有轉塊,轉塊頂部設有與螺紋槽配合的外螺紋。
工作原理:需要對工業污水的水道內抽取水質時,先根據需求通過調節機構對取樣機構進行調節,調節好后,將安裝架放置在水道內,通過取樣機構對水道內不同深度的水質進行取樣,取樣結束后,將安裝架取出,將取樣機構內的污水取出即可。
因為取樣機構包括有取樣管、拉桿、活塞、吸管、第一導向輪、第一鋼絲繩和拉環,安裝架下部均勻設有取樣管,中部和右部的取樣管連接在調節機構上,左側的取樣管連接在安裝架的左部下方,取樣管內設有拉桿,拉桿穿過取樣管的頂部,拉桿底端連接有活塞,活塞的外壁與取樣管的內壁接觸配合,取樣管的底部中間連接有吸管,拉桿的頂端連接有第一鋼絲繩,第一鋼絲繩穿過安裝架的下部,安裝架的頂部均勻連接有第一導向輪,第一鋼絲繩繞過第一導向輪,第一鋼絲繩上部右端連接有拉環。將中部和右部的取樣管調節好位置后,將安裝架放置在水道內,向右拉動拉環,拉環帶動第一鋼絲繩向右移動,從而帶動第一鋼絲繩的下部向上移動,第一鋼絲繩帶動拉桿向上移動,拉桿帶動活塞向上移動,在壓強的作用下,吸管將污水吸入取樣管內,取樣結束后,即可將安裝架取出,再將取樣管內的污水取出即可。如此可以實現多個取樣管同時取樣水質,方便了工作人員的工作。
因為調節機構包括有滑軌、滑塊、彈簧、升降桿和接觸輪,安裝架的下部中部與右側均連接有滑軌,滑軌上滑動式連接有滑塊,滑軌與滑塊配合,中部和右部的滑塊右端分別與中部和右部的取樣管連接,滑塊頂端與安裝架的下部之間連接有彈簧,安裝架下部的中部和右部均開有螺紋孔,螺紋孔內通過螺紋連接的方式連接有升降桿,升降桿上設有與螺紋孔配合的外螺紋,升降桿底端轉動式連接有接觸球,接觸球與滑塊接觸配合。當需要對不同地方的水質取樣時,轉動升降桿,升降桿帶動接觸輪轉動,由于升降桿與螺紋孔配合,當升降桿順時針轉動升降桿時,升降桿帶動滑塊向下移動,滑塊帶動取樣管向下移動,當升降桿逆時針轉動升降桿時,在彈簧的彈力下,滑塊向上移動,滑塊帶動取樣管向上移動,如此可以方便對取樣管高度的調節,從而實現對同一個地方不同深度的污水水質同時進行取樣。
因為還包括有支架、移動框、滾輪、第二鋼絲繩、轉輪、第三鋼絲繩和第二導向輪,安裝架外部設有支架,支架頂部設有移動框,移動框的左右前后兩側均轉動式連接有滾輪,滾輪與支架頂部接觸配合,移動框內中部的左右兩側轉動式對稱連接有轉輪,支架的頂部左側連接有第二鋼絲繩,第二鋼絲繩繞過轉輪,第二鋼絲繩穿過支架的上部,第二鋼絲繩的底端與安裝架的頂部連接,支架的上部右端連接有第二導向輪,移動框的右端連接有第三鋼絲繩,第三鋼絲繩繞過第二導向輪。需要對工業污水進行取樣時,將支架放置在水道的兩側固定住,再松放第三鋼絲繩,在安裝架整體的重力作用下,第二鋼絲繩向下移動,從而帶動移動框向左移動,此時整個安裝架向左下角移動,當移動至合適的位置時,將第三鋼絲繩固定住,即可對水質進行取樣,一處的水質取樣好后,向下拉動第三鋼絲繩,移動框向右移動,即可帶動整個安裝架向右上角移動,從而將取樣管內的水質取下,根據需要取樣的位置調節安裝架的位置進行取樣,如此可以實現對不同地方進行取樣,使得水質的取樣更加方便。
因為還包括有滾動軸承座、轉桿、繞線輪、蝸輪、電機和蝸桿,支架右側中部連接有滾動軸承座,滾動軸承座上連接有轉桿,轉桿的中部連接有繞線輪,第三鋼絲繩繞在繞線輪上,轉桿的右部連接有蝸輪,支架的右側下部連接有電機,電機的輸出軸后端連接有蝸桿,蝸桿與蝸輪嚙合。需要將安裝架下降至水道中時,控制電機順時針轉動,電機帶動蝸桿順時針轉轉動,蝸桿帶動蝸輪逆時針轉動,蝸輪帶動轉桿逆時針轉動,轉桿帶動繞線輪逆時針轉動,繞線輪放拉第三鋼絲繩,從而實現安裝架的下降,當需要將安裝架收起時,控制電機逆時針轉動,電機帶動蝸桿逆時針轉動,蝸桿帶動蝸輪順時針轉轉動,蝸輪帶動轉桿順時針轉轉動,轉桿帶動繞線輪順時針轉轉動,繞線輪收拉第三鋼絲繩,從而實現安裝架的上升,如此不需要人工拉動第三鋼絲繩,減少了工作人員的勞動力,從而方便了工作人員的工作。
因為還包括有環形塊、濾網框和轉塊,取樣管的下部連接有環形塊,環形塊下部開有螺紋槽,取樣管下部設有濾網框,濾網框上部外壁連接有轉塊,轉塊頂部設有與螺紋槽配合的外螺紋。在將取樣管放進水道內進行取樣前,將濾網框上的轉塊轉動固定在環狀塊上,即可將濾網框固定住,固定好后,即可在水道內取樣水質,可以方便吸管吸取水,防止在吸取時有很多雜質堵塞吸管。
(3)有益效果
本發明設置了一種工業廢水處理用不同深度的水質取樣設備,取樣機構的設置可以實現多個取樣管同時取樣水質,方便了工作人員的工作,調節機構的設置可以方便對取樣管高度的調節,從而實現對同一個地方不同深度的污水水質同時進行取樣,支架的設置可以實現對不同地方進行取樣,使得水質的取樣更加方便,電機和繞線輪的設置不需要人工拉動第三鋼絲繩,減少了工作人員的勞動力,濾網框的設置可以方便吸管吸取水,防止在吸取時有很多雜質堵塞吸管。



