申請日2017.09.30
公開(公告)日2018.01.19
IPC分類號C02F9/14; C02F103/14
摘要
本發明公開了一種可達到回用標準的涂裝廢水一體化撬裝處理設備,包括若干存儲池、芬頓反應器、集成過濾器、混凝沉淀池、二級沉淀池、A/O反應器、MBR反應器、活性炭過濾器、精密過濾器和超濾器,所述儲存池包括導槽廢液池、酸洗清洗液池、脫脂清洗液池、磷化清洗液池和生活污水,存儲池均通過計量泵與芬頓反應器連接。本發明通過設定程序將不同槽液按比例泵入,然后通過芬頓反應器、集成過濾器、混凝沉淀、二級沉淀、A/O反應器、MBR反應器、活性炭過濾器、精密過濾器、超濾器等一些列集成設備,最后出水達到回用標準,整個一體化設備結構緊湊合理,處理效果穩定,不受涂裝工廠各種廢水周期性排放影響,出水水質穩定。
權利要求書
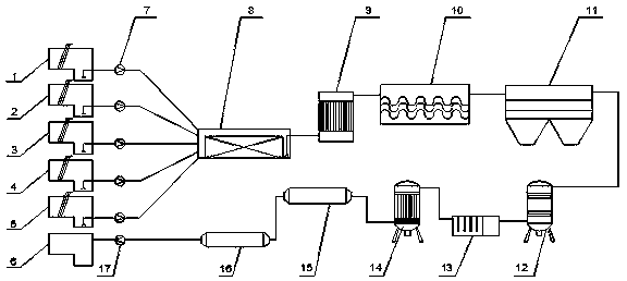
1.一種可達到回用標準的涂裝廢水一體化撬裝處理設備,其特征在于:包括若干存儲池、芬頓反應器(8)、集成過濾器(9)、混凝沉淀池(10)、二級沉淀池(11)、A/O反應器(12)、MBR反應器(13)、活性炭過濾器(14)、精密過濾器(15)和超濾器(16),所述儲存池包括導槽廢液池(1)、酸洗清洗液池(2)、脫脂清洗液池(3)、磷化清洗液池(4)和生活污水(5),存儲池均通過計量泵(7)與芬頓反應器(8)連接,所述芬頓反應器(8)通過管路依次與集成過濾器(9)混凝沉淀池(10)、二級沉淀池(11)、A/O反應器(12)、MBR反應器(13)、活性炭過濾器(14)、精密過濾器(15)和超濾器(16)連接。
2.根據權利要求1所述的一種可達到回用標準的涂裝廢水一體化撬裝處理設備,其特征在于:所述超濾器(16)出水口連接至回水存儲池(6)。
3.根據權利要求2所述的一種可達到回用標準的涂裝廢水一體化撬裝處理設備,其特征在于:所述超濾器(16)與回水儲存池(6)間設置回收泵(17)。
4.根據權利要求1所述的一種可達到回用標準的涂裝廢水一體化撬裝處理設備,其特征在于:所述集成過濾器(9)中至少包括PP棉濾芯、PPF濾芯和反滲透膜。
5.根據權利要求1所述的一種可達到回用標準的涂裝廢水一體化撬裝處理設備,其特征在于:所述精密過濾器(15)優選為微孔膜筒式過濾器。
說明書
一種可達到回用標準的涂裝廢水一體化撬裝處理設備
技術領域
本發明涉及污水處理技術領域,具體是一種可達到回用標準的涂裝廢水一體化撬裝處理設備。
背景技術
車涂裝廢水污染物濃度高、成分復雜、水質變化大、可生化性差,是環保業內公認的高難度處理廢水。
在涂裝工藝生產中產生的廢水主要分前處理廢水、電泳涂漆廢水和噴漆廢水。前處理廢水來自漆前表面處理的脫脂、磷化表面等工序,含有乳化油、表面活性劑、磷酸鹽、重金屬離子填料、溶劑等等。電泳涂漆廢水產生于涂件上附著的浮漆和槽液的清洗過程,一般包括往離子洗水和超濾液;其成分與槽液成分相同,含有水溶性樹脂(如環氧樹脂、酚醛樹脂等),顏料(如炭黑、氧化鐵紅、鉛汞等),填料(如鈦白粉、滑石粉等),助溶劑(如三乙醇胺、丁醇等)和少量重金屬離子。濕式噴涂室用水洗滌噴漆室作業區空氣,空氣中漆物和有機溶劑被轉移到水中形成了廢水;廢水中含有大量的漆物顆粒,其水質由所用漆料(以硝基漆、氨基漆、醇酸漆和環氧漆為主)和溶劑(如乙醇、丙酮、脂類、苯類等),助溶劑而定。
由于成分復雜,處理較難,現有的處理方法鮮有能夠達到可回收利用的標準,而本發明提供專門用于涂裝廢水處理的一體化設備,能夠使處理后的涂裝廢水達到回用標準。
發明內容
本發明的目的在于提供一種可達到回用標準的涂裝廢水一體化撬裝處理設備,以解決上述背景技術中提出的問題。
為實現上述目的,本發明提供如下技術方案:
一種可達到回用標準的涂裝廢水一體化撬裝處理設備,包括若干存儲池、芬頓反應器、集成過濾器、混凝沉淀池、二級沉淀池、A/O反應器、MBR反應器、活性炭過濾器、精密過濾器和超濾器,所述儲存池包括導槽廢液池、酸洗清洗液池、脫脂清洗液池、磷化清洗液池和生活污水,存儲池均通過計量泵與芬頓反應器連接,所述芬頓反應器通過管路依次與集成過濾器混凝沉淀池、二級沉淀池、A/O反應器、MBR反應器、活性炭過濾器、精密過濾器和超濾器連接。
作為本發明進一步的方案:所述超濾器出水口連接至回水存儲池。
作為本發明進一步的方案:所述超濾器與回水儲存池間設置回收泵。
作為本發明進一步的方案:所述集成過濾器中至少包括PP棉濾芯、PPF濾芯和反滲透膜。
作為本發明進一步的方案:所述精密過濾器優選為微孔膜筒式過濾器。
與現有技術相比,本發明的有益效果是:本發明通過設定程序將不同槽液按比例泵入,然后通過芬頓反應器、集成過濾器、混凝沉淀、二級沉淀、A/O反應器、MBR反應器、活性炭過濾器、精密過濾器、超濾器等一些列集成設備,最后出水達到回用標準,整個一體化設備結構緊湊合理,處理效果穩定,不受涂裝工廠各種廢水周期性排放影響,出水水質穩定。



