申請日2016.07.20
公開(公告)日2016.12.14
IPC分類號C02F11/12
摘要
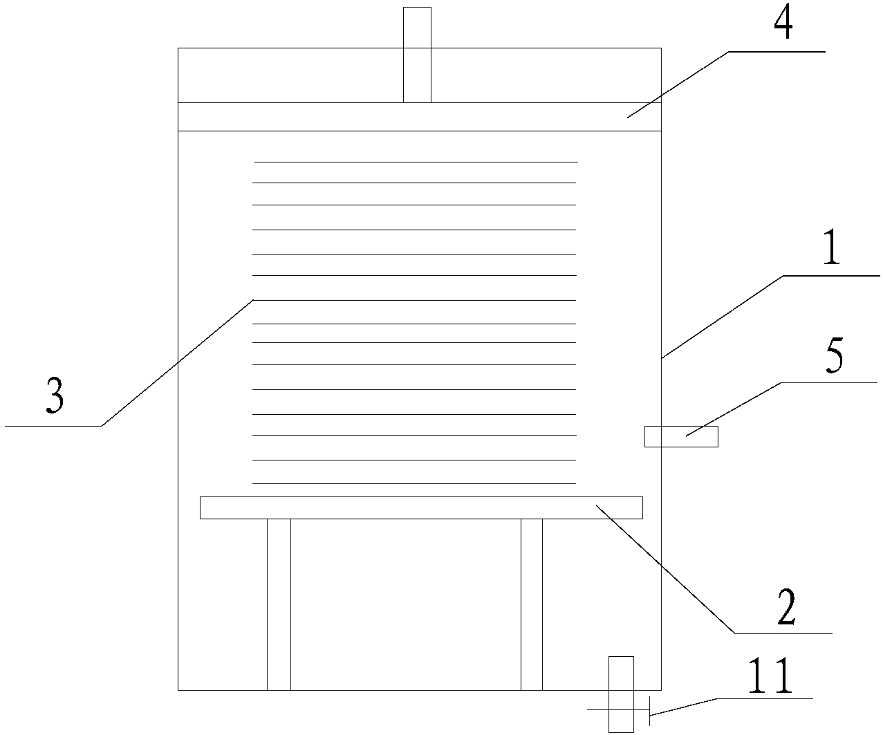
本實用新型涉及一種紡織污泥預干化設備,它包括密封容器、設置于所述密封容器的支撐架、層疊設置于所述支撐架上的多層濾布以及設置于所述濾布上方用于對其進行擠壓的按壓板,相鄰兩層所述濾布之間的間距≤2cm,所述密封容器底部安裝有出液閥。通過在支撐架設置層疊的多層濾布,使得相鄰兩層濾布之間的間距≤2cm,并在其之間填充污泥,再借助于按壓板對濾布進行擠壓,這樣能夠實現對污泥的擠壓使得其中的液體從濾布邊緣排出再排至密封容器外,結構簡單、使用方便,利于大規模推廣使用。
權利要求書
1.一種紡織污泥預干化設備,其特征在于:它包括密封容器(1)、設置于所述密封容器(1)的支撐架(2)、層疊設置于所述支撐架(2)上的多層濾布(3)以及設置于所述濾布(3)上方用于對其進行擠壓的按壓板(4),相鄰兩層所述濾布(3)之間的間距≤2cm,所述密封容器(1)底部安裝有出液閥(11)。
2.根據權利要求1所述的紡織污泥預干化設備,其特征在于:所述密封容器(1)側壁上安裝有與其相連通的蒸汽管(5)。
3.根據權利要求1所述的紡織污泥預干化設備,其特征在于:所述濾布(3)為100~200層。
說明書
一種紡織污泥預干化設備
技術領域
本實用新型涉及一種干化設備,具體涉及一種紡織污泥預干化設備。
背景技術
噴水織機是紡織業中常用的一種專用設備,在作業過程中需要有一定的清潔水進行噴射帶動,每臺織機日用水量一般在1.5-2噸之間,所產生的廢水中主要含有油脂、膠狀物、懸浮物、化學漿液、色度、微生物及有機物等,其廢水的濃度約為COD500mg/l,pH約為6.5,SS為420mg/L左右,而且可生化性較差,屬難處理的工業廢水之一,這些廢水在經過處理后會產生一定量的污泥。
隨著污水處理規模的擴大及標準的提高,污泥產生量不斷增加,加之過往積累下來的污泥,中國污泥處理處置成為污水處理領域一個重大問題。從污水處理廠產生的污泥含液率(含水和油的比率)很高,一般>80%,而且含有諸如化學漿液、油脂等有機物。因此需要對這些污泥進行無害化處理,最終達到還田的效果。在對這些污泥進行處理前,需要對其進行預干化處理使得它的液含率由80%以上降低至30%左右,因此需要采用對應的預干化設備。
發明內容
本實用新型目的是為了克服現有技術的不足而提供一種紡織污泥預干化設備。
為達到上述目的,本實用新型采用的技術方案是:一種紡織污泥預干化設備,它包括密封容器、設置于所述密封容器的支撐架、層疊設置于所述支撐架上的多層濾布以及設置于所述濾布上方用于對其進行擠壓的按壓板,相鄰兩層所述濾布之間的間距≤2cm,所述密封容器底部安裝有出液閥。
優化地,所述密封容器側壁上安裝有與其相連通的蒸汽管。
優化地,所述濾布為100~200層。
由于上述技術方案運用,本實用新型與現有技術相比具有下列優點:本實用新型紡織污泥預干化設備,通過在支撐架設置層疊的多層濾布,使得相鄰兩層濾布之間的間距≤2cm,并在其之間填充污泥,再借助于按壓板對濾布進行擠壓,這樣能夠實現對污泥的擠壓使得其中的液體從濾布邊緣排出再排至密封容器外,結構簡單、使用方便,利于大規模推廣使用。



