申請日2016.05.16
公開(公告)日2016.09.28
IPC分類號F23G7/04
摘要
本實用新型公開了一種病毒廢水廢物燃燒爐;其特征在于:包括燃燒爐系統和儲煙塵箱;燃燒爐系統頂部的爐蓋處通過煙道連通儲煙塵箱,煙道內設置風機和噴水嘴;所述儲煙塵箱中帶有除煙濕灰門,儲煙塵箱還與煙囪連通;燃燒爐系統中爐體的外側設置燃水開關、進冷水開關、熱水龍頭。所述風機對應于爐蓋的出煙上部,所述噴水嘴對應于儲煙塵箱的上部。所述儲煙塵箱外部設置水溫表、氣壓表。本實用新型使其徹底燒滅病毒菌;本專利可以利用柴煤及各種燃氣作燃源,能夠變廢為寶、又能環保節能,滅病除害。
權利要求書
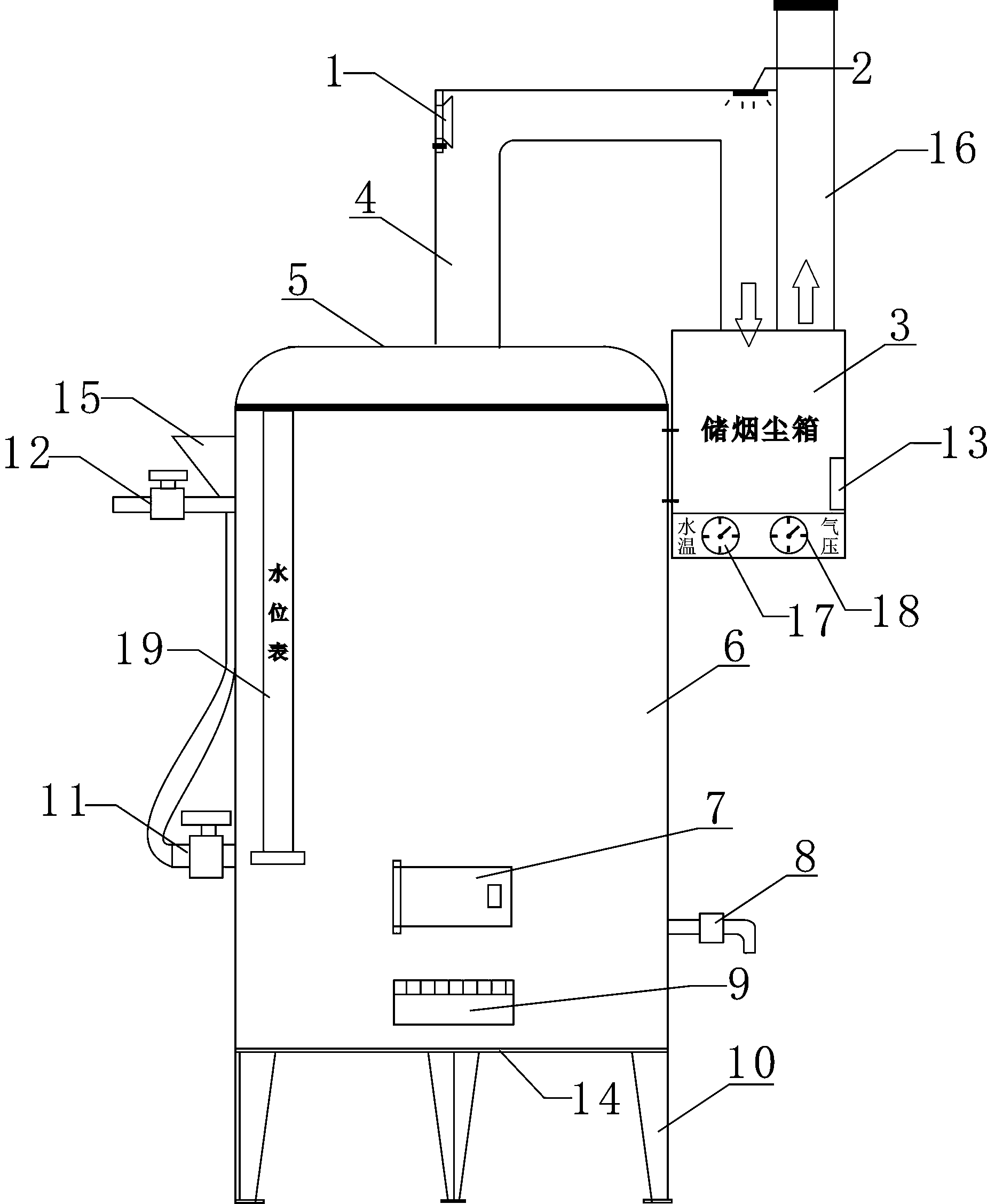
1.一種病毒廢水廢物燃燒爐,其特征在于:包括燃燒爐系統和儲煙塵箱(3);燃燒爐系統頂部的爐蓋(5)處通過煙道(4)連通儲煙塵箱(3),煙道(4)內設置風機(1)和噴水嘴(2);所述儲煙塵箱(3)中帶有除煙濕灰門(13),儲煙塵箱(3)還與煙囪(16)連通;燃燒爐系統中爐體(6)的外側設置燃水開關(11)、進冷水開關(12)、熱水龍頭(8)。
2.根據權利要求1所述病毒廢水廢物燃燒爐,其特征在于:所述風機(1)對應于爐蓋(5)的出煙上部,所述噴水嘴(2)對應于儲煙塵箱(3)的上部。
3.根據權利要求1所述病毒廢水廢物燃燒爐,其特征在于:所述儲煙塵箱(3)外部設置水溫表(17)、氣壓表(18)。
4.根據權利要求1所述病毒廢水廢物燃燒爐,其特征在于:燃燒爐系統中爐體(6)外設置有加料門(7)、觀察風口(9)、廢水口(15);廢水口(15)與燃水開關(11)連通。
5.根據權利要求1所述病毒廢水廢物燃燒爐,其特征在于:燃燒爐系統中爐底(14)下方為爐腳(10)。
說明書
病毒廢水廢物燃燒爐
技術領域
本實用新型涉及一種燃燒爐,具體來講是一種病毒廢水廢物燃燒爐。
背景技術
有史以來,病毒傳染危害匪淺,特別是近年發生的非典、埃博拉等肝炎、結核,用多種藥物殺滅不絕;為此,研究了一種用火燒滅病毒的病毒廢水廢物燃燒爐,使其徹底燒滅病毒菌。
實用新型內容
本實用新型的目的在于克服現有技術的不足,在此提供一種病毒廢水廢物燃燒爐;使其徹底燒滅病毒菌;本專利可以利用柴煤及各種燃氣作燃源,能夠變廢為寶、又能環保節能,滅病除害。
本實用新型通過改進提供一種病毒廢水廢物燃燒爐,其特征在于:包括燃燒爐系統和儲煙塵箱;燃燒爐系統頂部的爐蓋處通過煙道連通儲煙塵箱,煙道內設置風機和噴水嘴;所述儲煙塵箱中帶有除煙濕灰門,儲煙塵箱還與煙囪連通;燃燒爐系統中爐體的外側設置燃水開關、進冷水開關、熱水龍頭。
根據本實用新型所述病毒廢水廢物燃燒爐,其特征在于:所述風機對應于爐蓋的出煙上部,所述噴水嘴對應于儲煙塵箱的上部。
根據本實用新型所述病毒廢水廢物燃燒爐,其特征在于:所述儲煙塵箱外部設置水溫表、氣壓表。
根據本實用新型所述病毒廢水廢物燃燒爐,其特征在于:燃燒爐系統中爐體外設置有加料門、觀察風口、廢水口;廢水口與燃水開關連通。
根據本實用新型所述病毒廢水廢物燃燒爐,其特征在于:燃燒爐系統中爐底下方為爐腳。
本實用新型的優點在于:本實用新型提供了一種用火燒滅病毒的病毒廢水廢物燃燒爐,使其徹底燒滅病毒菌;本專利可以利用柴煤及各種燃氣作燃源,能夠變廢為寶、又能環保節能,滅病除害。實施時燃燒爐系統可以采用現有的燃燒爐體來實施,燃燒爐系統具有爐蓋、爐體、爐底、爐腳、加料門、觀察風口等等;與傳統燃燒爐不同的是,爐體外帶有燃水開關;帶有病毒的廢水從燃水開關進入,在爐體經過高溫滅菌的同時使廢水變成煙氣從爐蓋處的煙道排除,煙氣在風機的作用下帶動,同時在噴水嘴的作用下轉移至儲煙塵箱中。帶有病毒的廢物可以從加料門處投入爐體中燃燒滅菌。
爐體外還帶有進冷水開關、熱水龍頭;進冷水開關為冷水進入,同時在爐體內熱傳遞后形成熱水經熱水龍頭輸出。



