申請日2016.05.30
公開(公告)日2016.07.27
IPC分類號C02F3/00
摘要
本發明公開了一種生物輪盤式處理有毒有機物污水的裝置及其處理方法,由生物分解池支架,污水池,輸水系統,生物分解池,清水管,上部排渣管,底部排渣管,控制中心組成;控制中心啟動輸水系統將含有毒有機物污水從頂部輸入生物分解池內,污水在生物分解池內依次通過過濾及微生物分解處理,處理后的泥渣通過上部排渣管及底部排渣管排出,清水由清水管排出。本發明所述的一種生物輪盤式處理有毒有機物污水的裝置及其處理方法結構新穎合理,有毒有機物去除率高,適用范圍廣闊。
摘要附圖
權利要求書
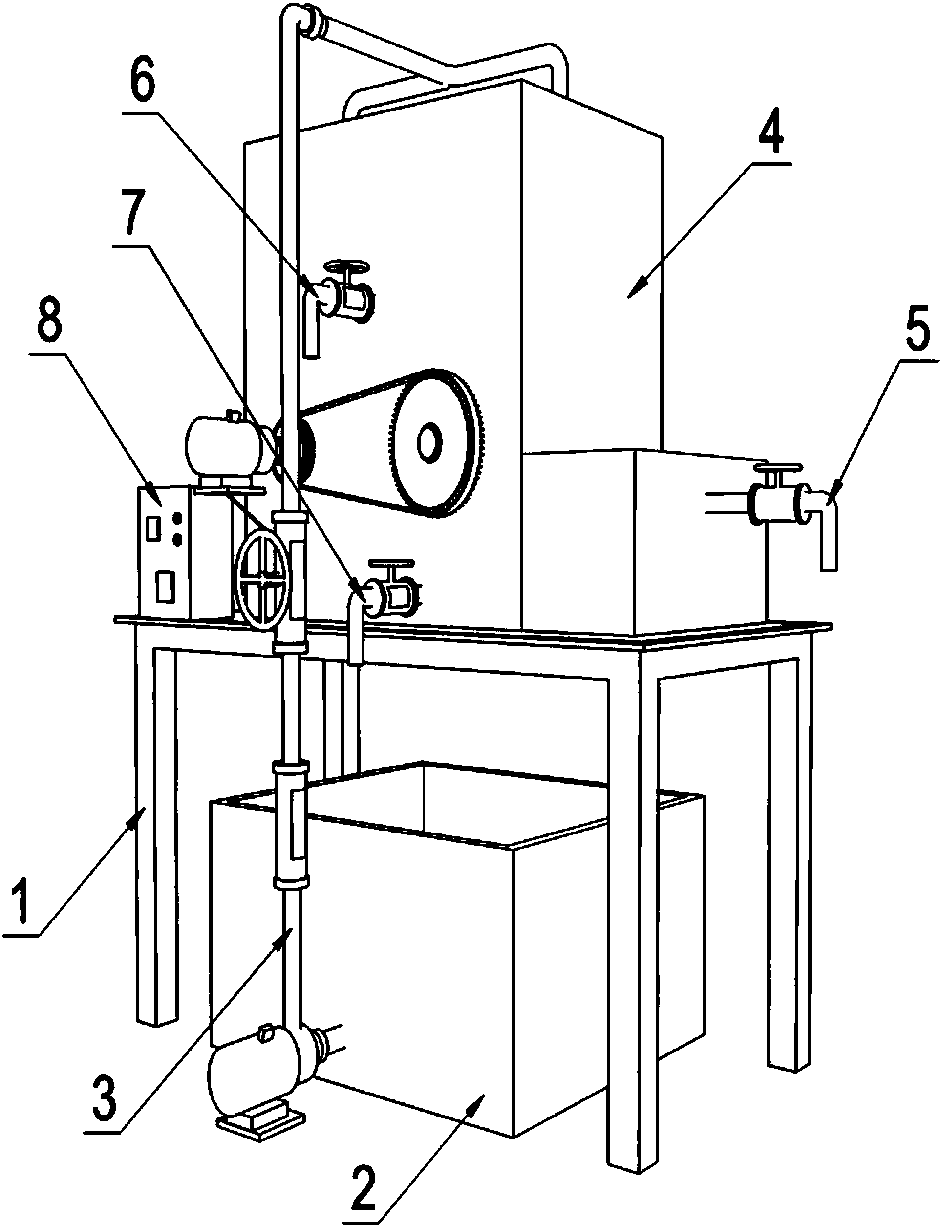
1.一種生物輪盤式處理有毒有機物污水的裝置,包括:生物分解池支架(1),污水池(2),輸水系統(3),生物分解池(4),清水管(5),上部排渣管(6),底部排渣管(7),控制中心(8);其特征在于,所述生物分解池支架(1)上部表面設有控制中心(8)及生物分解池(4),所述生物分解池支架(1)底部設有污水池(2),所述污水池(2)與生物分解池(4)之間設有輸水系統(3),所述生物分解池(4)右側側壁設有清水管(5),所述生物分解池(4)前后側壁設有上部排渣管(6),所述上部排渣管(6)下方設有底部排渣管(7);
所述上部排渣管(6)數量為2個,上部排渣管(6)對稱分布在生物分解池(4)前后兩側;所述輸水系統(3)中的水泵、水體流量計、電磁閥,清水管(5)上的電磁閥,上部排渣管(6)上的電磁閥,底部排渣管(7)上的電磁閥與控制中心(8)導線控制連接。
2.根據權利要求1所述的一種生物輪盤式處理有毒有機物污水的裝置,其特征在于,所述生物分解池(4)包括:污水處理區(4-1),大顆粒過濾板(4-2),生物輪盤系統(4-3),污水處理區液位傳感器(4-4),有毒有機物分解能力傳感器(4-5),出水口(4-6),清水集水區(4-7),溢流堰(4-8),清水集水區液位傳感器(4-9);其中所述污水處理區(4-1)為矩形結構,污水處理區(4-1)頂部開口且正對輸水系統(3)的進水管;所述污水處理區(4-1)側壁設有清水集水區(4-7),所述清水集水區(4-7)為矩形結構,清水集水區(4-7)與污水處理區(4-1)之間通過出水口(4-6)相連通;所述大顆粒過濾板(4-2)位于污水處理區(4-1)內部上方位置,大顆粒過濾板(4-2)距污水處理區(4-1)上端檐口6cm~12cm,大顆粒過濾板(4-2)為蝶型翅膀結構;所述生物輪盤系統(4-3)位于大顆粒過濾板(4-2)下方位置,生物輪盤系統(4-3)中心距污水處理區(4-1)底平面30cm~80cm;所述污水處理區液位傳感器(4-4)位于污水處理區(4-1)內部上方位置,污水處理區液位傳感器(4-4)距污水處理區(4-1)上端檐口3cm~10cm,污水處理區液位傳感器(4-4)與控制中心(8)導線控制連接;所述有毒有機物分解能力傳感器(4-5)位于污水處理區(4-1)內部靠近底端位置,有毒有機物分解能力傳感器(4-5)與控制中心(8)導線控制連接;所述溢流堰(4-8)位于清水集水區(4-7)內部中間位置,溢流堰(4-8)兩端與清水集水區(4-7)內壁無縫焊接,溢流堰(4-8)上端面距清水集水區(4-7)上端面10cm~20cm;所述清水集水區液位傳感器(4-9)位于清水集水區(4-7)內部上方位置,清水集水區液位傳感器(4-9)距清水集水區(4-7)上端檐口3cm~10cm,清水集水區液位傳感器(4-9)與控制中心(8)導線控制連接。
3.根據權利要求2所述的一種生物輪盤式處理有毒有機物污水的裝置,其特征在于,所述大顆粒過濾板(4-2)包括:斜板(4-2-1),過濾孔(4-2-2),大顆粒集中槽(4-2-3);其中所述斜板(4-2-1)為矩形不銹鋼板材料,斜板(4-2-1)數量為5~10塊,斜板(4-2-1)兩兩無縫焊接,相鄰兩斜板(4-2-1)夾角示為α,所述α范圍值為90°~120°;所述過濾孔(4-2-2)位于斜板(4-2-1)表面,過濾孔(4-2-2)數量為2000~5000個,過濾孔(4-2-2)孔徑范圍值為2mm~5mm;所述大顆粒集中槽(4-2-3)為一矩形槽結構,大顆粒集中槽(4-2-3)兩端分別與斜板(4-2-1)側壁無縫焊接。
4.根據權利要求2所述的一種生物輪盤式處理有毒有機物污水的裝置,其特征在于,所述生物輪盤系統(4-3)包括:生物輪盤啟動電機(4-3-1),主動轉軸(4-3-2),主動皮帶輪(4-3-3),生物輪盤(4-3-4),皮帶(4-3-5),從動轉軸(4-3-6),從動皮帶輪(4-3-7);其中所述生物輪盤啟動電機(4-3-1)固定在生物分解池(4)外部側壁位置,生物輪盤啟動電機(4-3-1)與控制中心(8)導線控制連接,所述生物輪盤啟動電機(4-3-1)輸出端連接在主動轉軸(4-3-2)一端,所述主動轉軸(4-3-2)的另一端伸入生物分解池(4)內部,主動轉軸(4-3-2)的外徑表面固定有主動皮帶輪(4-3-3),所述主動皮帶輪(4-3-3)位于生物分解池(4)外部,主動皮帶輪(4-3-3)通過皮帶(4-3-5)與從動皮帶輪(4-3-7)傳動連接,所述從動皮帶輪(4-3-7)圓心處固定有從動轉軸(4-3-6),所述從動轉軸(4-3-6)與生物分解池(4)側壁固定連接;所述主動轉軸(4-3-2)與從動轉軸(4-3-6)外徑表面分別固定有數量不少于2個的生物輪盤(4-3-4),生物輪盤(4-3-4)與主動轉軸(4-3-2)及從動轉軸(4-3-6)過盈配合連接;
所述生物輪盤(4-3-4)包括:生物盤片(4-3-4-1),弧形旋轉環(4-3-4-2);其中所述生物盤片(4-3-4-1)為扇形結構,多個生物盤片(4-3-4-1)以生物輪盤(4-3-4)中心軸線為圓心線周向均勻排列,生物盤片(4-3-4-1)數量為5~10個,相鄰生物盤片(4-3-4-1)夾角范圍值為36°~72°;所述弧形旋轉環(4-3-4-2)對應固定在生物盤片(4-3-4-1)表面,生物盤片(4-3-4-1)對立面均設有弧形旋轉環(4-3-4-2),所述弧形旋轉環(4-3-4-2)是截面為標準圓形的半環狀結構。
5.根據權利要求4所述的一種生物輪盤式處理有毒有機物污水的裝置,其特征在于,所述生物盤片(4-3-4-1)由高分子材料壓模成型,生物盤片(4-3-4-1)的組成成分和制造過程如下:
一、生物盤片(4-3-4-1)組成成分:
按重量份數計,α-甲基烯丙基·苯基硫醚35~115份,2,2-二甲基-3-(2-甲基-1-丙烯基)-(5-芐基-3-呋喃)甲基環丙甲酸酯50~95份,2,2-二甲基-3-(2-氯-3,3,3-三氟-1-丙烯基)環丙烷羧酸-alpha-氰基-3-苯氧基芐酯120~195份,(1R,S)-順,反式-2,2-二甲基-3-(2-甲基-1-丙烯基)環丙烷羧酸-5-芐基-3-呋喃甲基酯38~165份,右旋反式-2,2-二甲基-3-(2-甲基-1-丙烯基)環丙烷羧酸-3-苯氧基芐基酯50~170份,2,2-二甲基-3-(2,2-二氯乙烯基)-環丙烷羧酸-alpha-氰基-3-苯氧基-芐基酯130~310份,濃度為55ppm~80ppm的(R,S)-3-烯丙基-2-甲基-4-氧代環戊-2烯基(R、S)順,反-2,2-二甲基-3-(2-甲基-1-丙烯基)環丙烷羧酸酯50~130份,3-(N,N-二烯丙基)氨基-4-甲氧基乙酰苯胺85~165份,N-乙基-N-3-((3-二甲氨基-1-氧代-2-丙烯基)苯基)乙酰胺60~190份,交聯劑80~155份,N-[3-[3-(二甲基氨基)-1-氧基-2-丙烯基]-苯基]-乙酰胺75~140份,N-[2-[[4-(2,2-二氰基乙烯基)-3-甲基苯基]乙氨基]乙基]-苯甲酰胺90~180份,L-2-(N-叔丁氧酰基)-3',4'-二甲氧基苯丙氨酸乙酯30~95份,N-[3-(乙酰氨基)-4-[(4-硝基苯基)偶氮]苯基]-N-(3-甲氧基-3-氧代丙基)-β-丙氨酸甲酯35~140份;
所述交聯劑為N-[1-(乙氧甲酰基)-3-苯丙基]-L-丙氨酸、N-(9-芴甲氧羰酰基)-L-3-三氟甲基苯丙氨酸、L-3-(鄰甲氧基苯甲酰基)丙氨酸中的任意一種;
二、生物盤片(4-3-4-1)的制造過程,包含以下步驟:
第1步:在反應釜中加入電導率為0.35μS/cm~0.85μS/cm的超純水630~1500份,啟動反應釜內攪拌器,轉速為95rpm~230rpm,啟動加熱泵,使反應釜內溫度上升至63℃~78℃;依次加入α-甲基烯丙基·苯基硫醚、2,2-二甲基-3-(2-甲基-1-丙烯基)-(5-芐基-3-呋喃)甲基環丙甲酸酯、2,2-二甲基-3-(2-氯-3,3,3-三氟-1-丙烯基)環丙烷羧酸-alpha-氰基-3-苯氧基芐酯,攪拌至完全溶解,調節pH值為2.0~7.0,將攪拌器轉速調至125rpm~245rpm,溫度為85℃~150℃,酯化反應25~35小時;
第2步:取(1R,S)-順,反式-2,2-二甲基-3-(2-甲基-1-丙烯基)環丙烷羧酸-5-芐基-3-呋喃甲基酯、右旋反式-2,2-二甲基-3-(2-甲基-1-丙烯基)環丙烷羧酸-3-苯氧基芐基酯進行粉碎,粉末粒徑為300~1100目;加入2,2-二甲基-3-(2,2-二氯乙烯基)-環丙烷羧酸-alpha-氰基-3-苯氧基-芐基酯混合均勻,平鋪于托盤內,平鋪厚度為18mm~50mm,采用劑量為2.5kGy~10.5kGy、能量為6.0MeV~17MeV的α射線輻照50~130分鐘,以及同等劑量的β射線輻照75~165分鐘;
第3步:經第2步處理的混合粉末溶于(R,S)-3-烯丙基-2-甲基-4-氧代環戊-2烯基(R、S)順,反-2,2-二甲基-3-(2-甲基-1-丙烯基)環丙烷羧酸酯中,加入反應釜,攪拌器轉速為80rpm~195rpm,溫度為90℃~145℃,啟動真空泵使反應釜的真空度達到-0.40MPa~-0.85MPa,保持此狀態反應18~33小時;泄壓并通入氮氣,使反應釜內壓力為0.30MPa~0.70MPa,保溫靜置13~27小時;攪拌器轉速提升至110rpm~250rpm,同時反應釜泄壓至0MPa;依次加入3-(N,N-二烯丙基)氨基-4-甲氧基乙酰苯胺、N-乙基-N-3-((3-二甲氨基-1-氧代-2-丙烯基)苯基)乙酰胺完全溶解后,加入交聯劑攪拌混合,使得反應釜溶液的親水親油平衡值為4.0~7.0,保溫靜置12~28小時;
第4步:在攪拌器轉速為130rpm~260rpm時,依次加入N-[3-[3-(二甲基氨基)-1-氧基-2-丙烯基]-苯基]-乙酰胺、N-[2-[[4-(2,2-二氰基乙烯基)-3-甲基苯基]乙氨基]乙基]-苯甲酰胺、L-2-(N-叔丁氧酰基)-3',4'-二甲氧基苯丙氨酸乙酯和N-[3-(乙酰氨基)-4-[(4-硝基苯基)偶氮]苯基]-N-(3-甲氧基-3-氧代丙基)-β-丙氨酸甲酯,提升反應釜壓力,使其達到0.80MPa~1.60MPa,溫度為130℃~270℃,聚合反應17~35小時;反應完成后將反應釜內壓力降至0MPa,降溫至30℃~44℃,出料,入壓模機即可制得生物盤片(4-3-4-1)。
6.一種生物輪盤式處理有毒有機物污水的方法,其特征在于,該方法包括以下幾個步驟:
第1步:控制中心(8)通過污水處理區液位傳感器(4-4)檢測到生物分解池(4)中水位下降到最低水位時,啟動輸水系統(3)中的水泵,將儲存在污水池(2)中的含有毒有機物污水從頂部輸入生物分解池(4)中,輸水系統(3)上的電磁水閥使出水量控制在12m3/h~36m3/h;污水進入污水處理區(4-1)后率先流經大顆粒過濾板(4-2),污水中的大顆粒泥渣隨大顆粒過濾板(4-2)斜面向下匯聚到大顆粒集中槽(4-2-3)內并通過上部排渣管(6)排出;
第2步:經大顆粒過濾板(4-2)初過濾后的污水繼續向下流淌,控制中心(8)啟動生物輪盤系統(4-3)使其進行旋轉運動,生物輪盤(4-3-4)表面的微生物對污水中的有毒有機物進行分解作用,分解后的雜質經底部排渣管(7)排出;在分解過程中,有毒有機物分解能力傳感器(4-5)對微生物的分解能力進行實時監控,當有毒有機物分解能力傳感器(4-5)檢測到微生物的分解能力低于預設值時,有毒有機物分解能力傳感器(4-5)向控制中心(8)發送反饋信號并報警15s,提示工作人員增加生物輪盤(4-3-4)表面的微生物量;
第3步:經微生物分解后的清水通過污水處理區(4-1)底部側壁的出水口(4-6)流至清水集水區(4-7)中,控制中心(8)開啟清水管(5)上的電磁閥將清水排出;與此同時,清水集水區液位傳感器(4-9)對清水集水區(4-7)內的水位進行實時監控,當清水集水區液位傳感器(4-9)檢測到清水集水區(4-7)內的水位超標時,清水集水區液位傳感器(4-9)向控制中心(8)發送反饋信號,控制中心(8)關閉輸水系統(3)停止供水,待清水集水區液位傳感器(4-9)檢測到清水集水區(4-7)內的水位恢復正常值時,清水集水區液位傳感器(4-9)向控制中心(8)發送反饋信號,控制中心(8)重新開啟輸水系統(3)繼續供水,系統恢復正常運行狀態。
說明書
一種生物輪盤式處理有毒有機物污水的裝置及其處理方法
技術領域
本發明屬于污水凈化裝置領域,具體涉及一種生物輪盤式處理有毒有機物污水的裝置及其處理方法。
背景技術
水環境的污染治理是全球性可持續發展的重要戰略問題之一。特別是我國人口眾多、水資源十分匾乏,污水處理尤其重要。隨著我國城鎮數量以及人口總量的不斷增加,城市污水處理廠作為重要的基礎設施之一,必將隨著城市化的進程得到迅猛發展,因此我國將成為世界范圍內使用水處理設備的大國。
污水處理設備在我國的廣泛應用與發展是從20世紀90年代初開始的,隨著我國經濟的高速發展,環境污染程度也日益嚴重,特別是水污染的范圍與程度不斷擴大,已嚴重影響到我國國民經濟的發展。污水治理已經成為刻不容緩的緊迫課題,主要城市污水處理廠的興建初步緩解了環境污染,而污水處理設備的應用也隨著污水處理規模的擴大而不斷擴大。然而由于各種原因,我國污水處理行業所用設備中70%以上為國外進口。這不但浪費了我國大量資金,而且很大程度上不利于污水處理設備的國產化發展。由于我國水處理設備的起步較晚,目前,我國污水處理設備的技術水平與國際先進設備相比,尚有差距。隨著我國污水處理規模的不斷擴大,我國對污水處理的相關設備的需求也會日益增加,而且污水治理將是未來發展中必不可少的環節。因而,我國對污水處理設備的需求將會不斷增加,而且也是持久的。污水處理設備有著廣闊的發展空間,而污水處理設備的國產化有著巨大的經濟價值與社會意義。
污水處理設備的發展同污水處理技術的發展是分不開的,社會資源的短缺必然使得污水處理向著經濟、實用、節約、有效的方向發展,而對設備的要求則也會隨之變化,購買成本低、使用方便、處理與使用效果好、節約能源的產品才能適應污水處理工業發展變化需求。因而,掌握先進技術、預見未來污水處理工業發展走向,在此基礎上開發出經濟、實效、節能、簡潔的產品是發展的趨勢,設備的機械化、自動化程度要求也會越來越高,這樣會節約人力與物力成本,符合未來社會總體發展趨勢,由于污水處理工藝多樣性的需求,污水處理設備的多元化也是發展趨勢。
污水處理過程是一個變量繁多的生化反應過程,對污水進行有效處理已成為當今世界為解決水環境問題的重要議題。為了提高污水處理裝置運行效率、保證出水質量、降低運行費用,研究新型的智能優化控制方法來實現節能達標的目標,是當前污水處理行業的發展趨勢。
現有的常用污水處理設備有:曝氣系統設備、攔污設備、排泥排渣設備、分離設備、攪拌設備、過濾設備、提升設備、消毒設備、各式污泥濃縮機、污泥螺桿泵、污泥脫水機、污泥烘干機、污泥離心分離機、污泥堆肥機械、污泥焚燒機械、污泥厭氧消化氣儲存設備、發電設備、污水廠供電設備、溶藥設備、水質水量監測設備、控制設備等。
在現有技術條件下,處理生活污水的設備建設成本和運行成本的增加將成為必然,現有的傳統工藝、處理方法具有工藝流程長,控制復雜,占地大,處理成本高等缺點。
發明內容
為了解決上述技術問題,本發明提供一種生物輪盤式處理有毒有機物污水的裝置,包括:
生物分解池支架1,污水池2,輸水系統3,生物分解池4,清水管5,上部排渣管6,底部排渣管7,控制中心8;所述生物分解池支架1上部表面設有控制中心8及生物分解池4,所述生物分解池支架1底部設有污水池2,所述污水池2與生物分解池4之間設有輸水系統3,所述生物分解池4右側側壁設有清水管5,所述生物分解池4前后側壁設有上部排渣管6,所述上部排渣管6下方設有底部排渣管7;
所述上部排渣管6數量為2個,上部排渣管6對稱分布在生物分解池4前后兩側;
所述輸水系統3中的水泵、水體流量計、電磁閥,清水管5上的電磁閥,上部排渣管6上的電磁閥,底部排渣管7上的電磁閥與控制中心8導線控制連接。
進一步的,所述生物分解池4包括:污水處理區4-1,大顆粒過濾板4-2,生物輪盤系統4-3,污水處理區液位傳感器4-4,有毒有機物分解能力傳感器4-5,出水口4-6,清水集水區4-7,溢流堰4-8,清水集水區液位傳感器4-9;所述污水處理區4-1為矩形結構,污水處理區4-1頂部開口且正對輸水系統3的進水管;所述污水處理區4-1側壁設有清水集水區4-7,所述清水集水區4-7為矩形結構,清水集水區4-7與污水處理區4-1之間通過出水口4-6相連通;所述大顆粒過濾板4-2位于污水處理區4-1內部上方位置,大顆粒過濾板4-2距污水處理區4-1上端檐口6cm~12cm,大顆粒過濾板4-2為蝶型翅膀結構;所述生物輪盤系統4-3位于大顆粒過濾板4-2下方位置,生物輪盤系統4-3中心距污水處理區4-1底平面30cm~80cm;所述污水處理區液位傳感器4-4位于污水處理區4-1內部上方位置,污水處理區液位傳感器4-4距污水處理區4-1上端檐口3cm~10cm,污水處理區液位傳感器4-4與控制中心8導線控制連接;所述有毒有機物分解能力傳感器4-5位于污水處理區4-1內部靠近底端位置,有毒有機物分解能力傳感器4-5與控制中心8導線控制連接;所述溢流堰4-8位于清水集水區4-7內部中間位置,溢流堰4-8兩端與清水集水區4-7內壁無縫焊接,溢流堰4-8上端面距清水集水區4-7上端面10cm~20cm;所述清水集水區液位傳感器4-9位于清水集水區4-7內部上方位置,清水集水區液位傳感器4-9距清水集水區4-7上端檐口3cm~10cm,清水集水區液位傳感器4-9與控制中心8導線控制連接。
進一步的,所述大顆粒過濾板4-2包括:斜板4-2-1,過濾孔4-2-2,大顆粒集中槽4-2-3;所述斜板4-2-1為矩形不銹鋼板材料,斜板4-2-1數量為5~10塊,斜板4-2-1兩兩無縫焊接,相鄰兩斜板4-2-1夾角示為α,所述α范圍值為90°~120°;所述過濾孔4-2-2位于斜板4-2-1表面,過濾孔4-2-2數量為2000~5000個,過濾孔4-2-2孔徑范圍值為2mm~5mm;所述大顆粒集中槽4-2-3為一矩形槽結構,大顆粒集中槽4-2-3兩端分別與斜板4-2-1側壁無縫焊接。
進一步的,所述生物輪盤系統4-3包括:生物輪盤啟動電機4-3-1,主動轉軸4-3-2,主動皮帶輪4-3-3,生物輪盤4-3-4,皮帶4-3-5,從動轉軸4-3-6,從動皮帶輪4-3-7;所述生物輪盤啟動電機4-3-1固定在生物分解池4外部側壁位置,生物輪盤啟動電機4-3-1與控制中心8導線控制連接,所述生物輪盤啟動電機4-3-1輸出端連接在主動轉軸4-3-2一端,所述主動轉軸4-3-2的另一端伸入生物分解池4內部,主動轉軸4-3-2的外徑表面固定有主動皮帶輪4-3-3,所述主動皮帶輪4-3-3位于生物分解池4外部,主動皮帶輪4-3-3通過皮帶4-3-5與從動皮帶輪4-3-7傳動連接,所述從動皮帶輪4-3-7圓心處固定有從動轉軸4-3-6,所述從動轉軸4-3-6與生物分解池4側壁固定連接;所述主動轉軸4-3-2與從動轉軸4-3-6外徑表面分別固定有數量不少于2個的生物輪盤4-3-4,生物輪盤4-3-4與主動轉軸4-3-2及從動轉軸4-3-6過盈配合連接;所述生物輪盤4-3-4包括:生物盤片4-3-4-1,弧形旋轉環4-3-4-2;所述生物盤片4-3-4-1為扇形結構,多個生物盤片4-3-4-1以生物輪盤4-3-4中心軸線為圓心線周向均勻排列,生物盤片4-3-4-1數量為5~10個,相鄰生物盤片4-3-4-1夾角范圍值為36°~72°;所述弧形旋轉環4-3-4-2對應固定在生物盤片4-3-4-1表面,生物盤片4-3-4-1對立面均設有弧形旋轉環4-3-4-2,所述弧形旋轉環4-3-4-2是截面為標準圓形的半環狀結構。
進一步的,所述生物盤片4-3-4-1由高分子材料壓模成型,生物盤片4-3-4-1的組成成分和制造過程如下:
一、生物盤片4-3-4-1組成成分:
按重量份數計,α-甲基烯丙基·苯基硫醚35~115份,2,2-二甲基-3-(2-甲基-1-丙烯基)-(5-芐基-3-呋喃)甲基環丙甲酸酯50~95份,2,2-二甲基-3-(2-氯-3,3,3-三氟-1-丙烯基)環丙烷羧酸-alpha-氰基-3-苯氧基芐酯120~195份,(1R,S)-順,反式-2,2-二甲基-3-(2-甲基-1-丙烯基)環丙烷羧酸-5-芐基-3-呋喃甲基酯38~165份,右旋反式-2,2-二甲基-3-(2-甲基-1-丙烯基)環丙烷羧酸-3-苯氧基芐基酯50~170份,2,2-二甲基-3-(2,2-二氯乙烯基)-環丙烷羧酸-alpha-氰基-3-苯氧基-芐基酯130~310份,濃度為55ppm~80ppm的(R,S)-3-烯丙基-2-甲基-4-氧代環戊-2烯基(R、S)順,反-2,2-二甲基-3-(2-甲基-1-丙烯基)環丙烷羧酸酯50~130份,3-(N,N-二烯丙基)氨基-4-甲氧基乙酰苯胺85~165份,N-乙基-N-3-((3-二甲氨基-1-氧代-2-丙烯基)苯基)乙酰胺60~190份,交聯劑80~155份,N-[3-[3-(二甲基氨基)-1-氧基-2-丙烯基]-苯基]-乙酰胺75~140份,N-[2-[[4-(2,2-二氰基乙烯基)-3-甲基苯基]乙氨基]乙基]-苯甲酰胺90~180份,L-2-(N-叔丁氧酰基)-3',4'-二甲氧基苯丙氨酸乙酯30~95份,N-[3-(乙酰氨基)-4-[(4-硝基苯基)偶氮]苯基]-N-(3-甲氧基-3-氧代丙基)-β-丙氨酸甲酯35~140份;
所述交聯劑為N-[1-(乙氧甲酰基)-3-苯丙基]-L-丙氨酸、N-(9-芴甲氧羰酰基)-L-3-三氟甲基苯丙氨酸、L-3-(鄰甲氧基苯甲酰基)丙氨酸中的任意一種;
二、生物盤片4-3-4-1的制造過程,包含以下步驟:
第1步:在反應釜中加入電導率為0.35μS/cm~0.85μS/cm的超純水630~1500份,啟動反應釜內攪拌器,轉速為95rpm~230rpm,啟動加熱泵,使反應釜內溫度上升至63℃~78℃;依次加入α-甲基烯丙基·苯基硫醚、2,2-二甲基-3-(2-甲基-1-丙烯基)-(5-芐基-3-呋喃)甲基環丙甲酸酯、2,2-二甲基-3-(2-氯-3,3,3-三氟-1-丙烯基)環丙烷羧酸-alpha-氰基-3-苯氧基芐酯,攪拌至完全溶解,調節pH值為2.0~7.0,將攪拌器轉速調至125rpm~245rpm,溫度為85℃~150℃,酯化反應25~35小時;
第2步:取(1R,S)-順,反式-2,2-二甲基-3-(2-甲基-1-丙烯基)環丙烷羧酸-5-芐基-3-呋喃甲基酯、右旋反式-2,2-二甲基-3-(2-甲基-1-丙烯基)環丙烷羧酸-3-苯氧基芐基酯進行粉碎,粉末粒徑為300~1100目;加入2,2-二甲基-3-(2,2-二氯乙烯基)-環丙烷羧酸-alpha-氰基-3-苯氧基-芐基酯混合均勻,平鋪于托盤內,平鋪厚度為18mm~50mm,采用劑量為2.5kGy~10.5kGy、能量為6.0MeV~17MeV的α射線輻照50~130分鐘,以及同等劑量的β射線輻照75~165分鐘;
第3步:經第2步處理的混合粉末溶于(R,S)-3-烯丙基-2-甲基-4-氧代環戊-2烯基(R、S)順,反-2,2-二甲基-3-(2-甲基-1-丙烯基)環丙烷羧酸酯中,加入反應釜,攪拌器轉速為80rpm~195rpm,溫度為90℃~145℃,啟動真空泵使反應釜的真空度達到-0.40MPa~-0.85MPa,保持此狀態反應18~33小時;泄壓并通入氮氣,使反應釜內壓力為0.30MPa~0.70MPa,保溫靜置13~27小時;攪拌器轉速提升至110rpm~250rpm,同時反應釜泄壓至0MPa;依次加入3-(N,N-二烯丙基)氨基-4-甲氧基乙酰苯胺、N-乙基-N-3-((3-二甲氨基-1-氧代-2-丙烯基)苯基)乙酰胺完全溶解后,加入交聯劑攪拌混合,使得反應釜溶液的親水親油平衡值為4.0~7.0,保溫靜置12~28小時;
第4步:在攪拌器轉速為130rpm~260rpm時,依次加入N-[3-[3-(二甲基氨基)-1-氧基-2-丙烯基]-苯基]-乙酰胺、N-[2-[[4-(2,2-二氰基乙烯基)-3-甲基苯基]乙氨基]乙基]-苯甲酰胺、L-2-(N-叔丁氧酰基)-3',4'-二甲氧基苯丙氨酸乙酯和N-[3-(乙酰氨基)-4-[(4-硝基苯基)偶氮]苯基]-N-(3-甲氧基-3-氧代丙基)-β-丙氨酸甲酯,提升反應釜壓力,使其達到0.80MPa~1.60MPa,溫度為130℃~270℃,聚合反應17~35小時;反應完成后將反應釜內壓力降至0MPa,降溫至30℃~44℃,出料,入壓模機即可制得生物盤片4-3-4-1。
本發明還公開了一種生物輪盤式處理有毒有機物污水的方法,該方法包括以下幾個步驟:
第1步:控制中心8通過污水處理區液位傳感器4-4檢測到生物分解池4中水位下降到最低水位時,啟動輸水系統3中的水泵,將儲存在污水池2中的含有毒有機物污水從頂部輸入生物分解池4中,輸水系統3上的電磁水閥使出水量控制在12m3/h~36m3/h;污水進入污水處理區4-1后率先流經大顆粒過濾板4-2,污水中的大顆粒泥渣隨大顆粒過濾板4-2斜面向下匯聚到大顆粒集中槽4-2-3內并通過上部排渣管6排出;
第2步:經大顆粒過濾板4-2初過濾后的污水繼續向下流淌,控制中心8啟動生物輪盤系統4-3使其進行旋轉運動,生物輪盤4-3-4表面的微生物對污水中的有毒有機物進行分解作用,分解后的雜質經底部排渣管7排出;在分解過程中,有毒有機物分解能力傳感器4-5對微生物的分解能力進行實時監控,當有毒有機物分解能力傳感器4-5檢測到微生物的分解能力低于預設值時,有毒有機物分解能力傳感器4-5向控制中心8發送反饋信號并報警15s,提示工作人員增加生物輪盤4-3-4表面的微生物量;
第3步:經微生物分解后的清水通過污水處理區4-1底部側壁的出水口4-6流至清水集水區4-7中,控制中心8開啟清水管5上的電磁閥將清水排出;與此同時,清水集水區液位傳感器4-9對清水集水區4-7內的水位進行實時監控,當清水集水區液位傳感器4-9檢測到清水集水區4-7內的水位超標時,清水集水區液位傳感器4-9向控制中心8發送反饋信號,控制中心8關閉輸水系統3停止供水,待清水集水區液位傳感器4-9檢測到清水集水區4-7內的水位恢復正常值時,清水集水區液位傳感器4-9向控制中心8發送反饋信號,控制中心8重新開啟輸水系統3繼續供水,系統恢復正常運行狀態。
本發明專利公開的一種生物輪盤式處理有毒有機物污水的裝置及其處理方法,其優點在于:
(1)該裝置大顆粒過濾板采用蝶型結構,大顆粒過濾效果更好;
(2)該裝置結構設計合理緊湊,集成度高;
(3)該裝置生物盤片采用高分子材料制備,有毒有機物凈化率提升顯著。
本發明所述的一種生物輪盤式處理有毒有機物污水的裝置及其處理方法結構新穎合理,有毒有機物去除率高,適用范圍廣闊。


