申請日2016.05.30
公開(公告)日2016.09.28
IPC分類號C02F1/00; C02F103/30
摘要
本發明的目的是提供一種筒子紗染色廢水調節池,通過在池體上方左側設置進水管進水,池體內右側設置抽水管抽水,抽水管底端外包覆過濾層避免污物抽出,池體左側設置投料口投料調節水質,設置可下移的攪拌電機帶動攪拌棒攪拌,十分方便,廢水的污物通過除污泵抽出;本發明結構簡單易操作,可以高效的調節廢水,適用于生產中。
摘要附圖
權利要求書
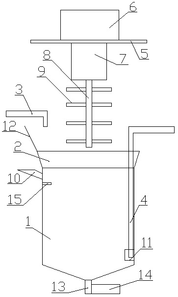
1.一種筒子紗染色廢水調節池,包括有池體(1),其特征在于:所述池體(1)頂部為開口罩(2),開口罩(2)頂部左側上方設置有進水管(3),所述池體(1)內右側設置有抽水管(4),抽水管(4)從開口罩伸出池體(1)右側;所述池體(1)上方設置有頂板(5),頂板(5)頂部設置有下移電機(6),頂板(5)底部設置有攪拌電機(7),攪拌電機(7)下方連接有攪拌棒(8),攪拌棒(8)伸入池體(1)內,攪拌棒(8)側壁設置有攪拌葉(9);所述池體(1)左側頂部設置有投料口(10)用于添加調節料;所述池體(1)內位于抽水管(4)底部外設置有過濾層(11),過濾層(11)將抽水管(4)底端包覆住。
2.如權利要求1所述筒子紗染色廢水調節池,其特征在于:所述開口罩(2)頂部左端設置有擋板(12)。
3.如權利要求1所述筒子紗染色廢水調節池,其特征在于:所述池體(1)底部呈漏斗狀,池體(1)底部中間設置有除污管(13),除污管(13)連接有除污泵(14)。
4.如權利要求1所述筒子紗染色廢水調節池,其特征在于:所述池體(1)內左側壁位于投料口(10)下方設置有液位感應器(15)。
說明書
筒子紗染色廢水調節池
技術領域
本發明涉及筒子紗染色廢水處理領域,尤其涉及一種筒子紗染色廢水調節池。
背景技術
印染廢水屬于工業廢水中較難治理的一種。由于技術、經濟等原因,目前大多數采用的生物—物理治理方法只能達到基本排放要求。雖然在色度上略有下降,但對有機物質只是分解成較小物質,對這些分解產物性質很難控制也很難掌握,無法保證對環境不產生危害。在對染色廢水的處理過程中需要對廢水進行調節水質以達到處理要求,目前生產中的調節水池效果差,無法滿足生產的需要。因此解決上述問題就顯得十分必要了。
發明內容
為解決上述問題,本發明提供一種筒子紗染色廢水調節池,通過在池體上方左側設置進水管進水,池體內右側設置抽水管抽水,抽水管底端外包覆過濾層避免污物抽出,池體左側設置投料口投料調節水質,設置可下移的攪拌電機帶動攪拌棒攪拌,十分方便,廢水的污物通過除污泵抽出,解決了背景技術中出現的問題。
本發明的目的是提供一種筒子紗染色廢水調節池,包括有池體,所述池體頂部為開口罩,開口罩頂部左側上方設置有進水管,所述池體內右側設置有抽水管,抽水管從開口罩伸出池體右側;所述池體上方設置有頂板,頂板頂部設置有下移電機,頂板底部設置有攪拌電機,攪拌電機下方連接有攪拌棒,攪拌棒伸入池體內,攪拌棒側壁設置有攪拌葉;所述池體左側頂部設置有投料口用于添加調節料;所述池體內位于抽水管底部外設置有過濾層,過濾層將抽水管底端包覆住。
進一步改進在于:所述開口罩頂部左端設置有擋板。
進一步改進在于:所述池體底部呈漏斗狀,池體底部中間設置有除污管,除污管連接有除污泵。
進一步改進在于:所述池體內左側壁位于投料口下方設置有液位感應器。
本發明的有益效果:本發明通過在池體上方左側設置進水管進水,池體內右側設置抽水管抽水,抽水管底端外包覆過濾層避免污物抽出,池體左側設置投料口投料調節水質,設置可下移的攪拌電機帶動攪拌棒攪拌,十分方便,廢水的污物通過除污泵抽出;本發明結構簡單易操作,可以高效的調節廢水,適用于生產中。


