申請日2016.05.30
公開(公告)日2016.09.28
IPC分類號H01M8/10; H01M8/16
摘要
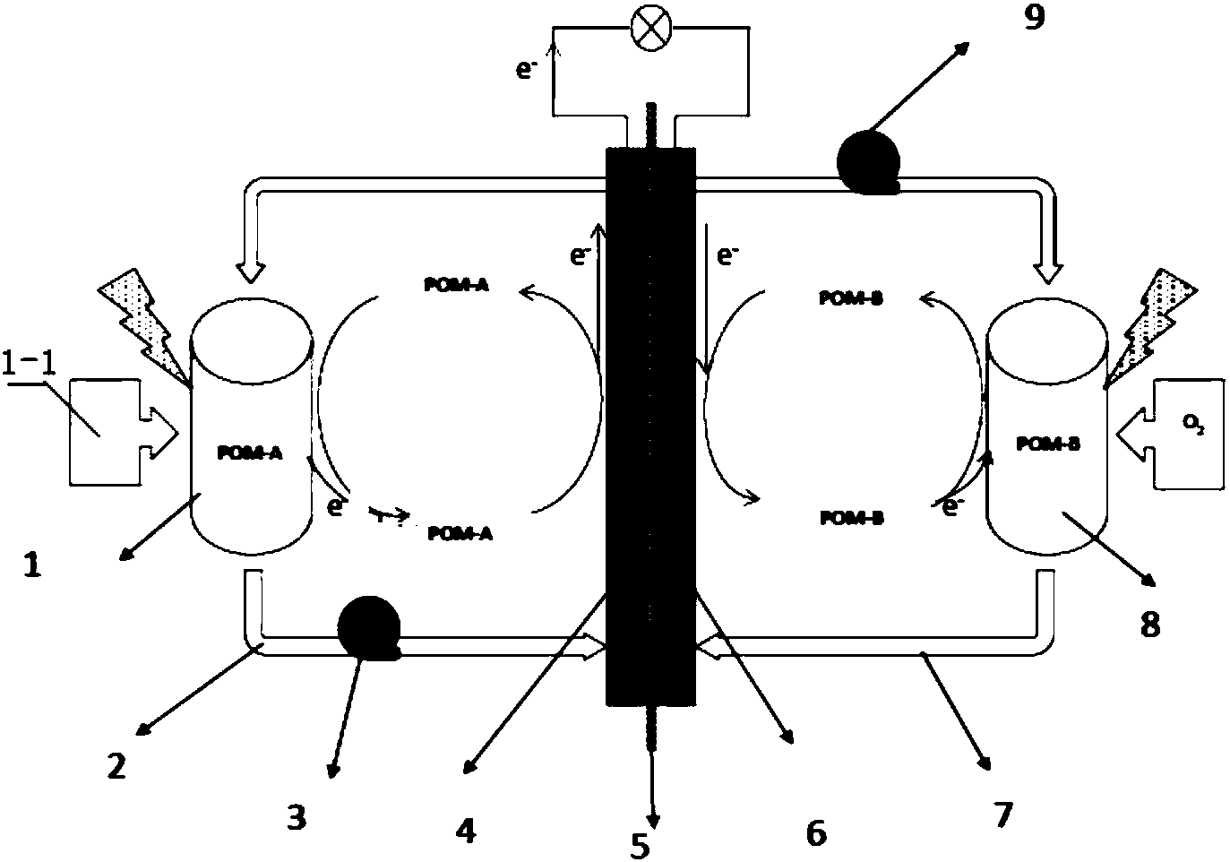
本發明涉及一種污泥燃料電池,其特征在于,包括陽極側組成物質、陽極循環系統、質子交換膜、陰極側組成物質、陰極循環系統。其中質子交換膜置于陰極循環系統和陽極循環系統之間,陽極側組成物質儲存于陽極循環系統內,陰極側組成物質儲存于陰極循環系統內,兩側物質被質子交換膜隔離開,陽極側組成物質通過陽極循環系統將攜帶的電子傳遞到外部電路中,質子通過質子交換膜與通過陰極循環系統泵入陰極側組成物質、外電路電子結合生成水。本發明提供的污泥燃料電池,污泥首先被雜多酸‑A(POM‑A)溶液氧化,被還原的POM將所獲得的電子輸送至燃料電池的陽極。這些電子通過外部電路,最終被陰極的雜多酸‑B(POM‑B)所捕獲,可以將污泥中有機質的化學能轉化為電能而不造成任何環境污染問題。
摘要附圖
權利要求書
1.一種污泥燃料電池,其特征在于,包括陽極側組成物質、陽極循環系統、質子交換膜、陰極側組成物質、陰極循環系統,所述質子交換膜置于陰極循環系統和陽極循環系統之間,陽極側組成物質儲存于陽極循環系統內,陰極側組成物質儲存于陰極循環系統內。
2.根據權利要求1所述的污泥燃料電池,其特征在于,所述質子交換膜具有第一側和第二側,陽極電極及溶液置于質子交換膜的第一側,陰極電極及溶液置于質子交換膜的第二側。
3.根據權利要求1所述的污泥燃料電池,其特征在于,所述陽極循環系統包括陽極液體蠕動泵、連接陽極電極板與陽極反應池的陽極管路。
4.根據權利要求1所述的污泥燃料電池,其特征在于,所述陰極循環系統包括陰極液體蠕動泵、連接陰極電極板與陰極反應池的陰極管路。
5.根據權利要求1所述的污泥燃料電池,其特征在于,所述陽極側組成物質包括污泥、液體氧化劑、水、促進劑、污泥降解過程中所生成的中間產物。
6.根據權利要求5所述污泥燃料電池,其特征在于,所述污泥是指城市污水處理過程中產生的活性污泥,含水量在0-90%之間,基于脫水后污泥干基固體的揮發性固體含量30-95%。
7.根據權利要求5所述污泥燃料電池,其特征在于,所述污泥固體總有機碳含量為50g/kg-500g/kg。
8.根據權利要求5所述污泥燃料電池,其特征在于,所述污泥的平均顆粒物直徑為15nm-100cm。
9.根據權利要求5所述污泥燃料電池,其特征在于,所述污泥的質量濃度為0.5%至70%,所述污泥質量濃度以污泥干基為標準。
10.根據權利要求5所述的污泥燃料電池,其特征在于,所述污泥與氧化劑之間的氧化還原反應由光照或者加熱或者光照和加熱同時作用引發。
11.根據權利要求10所述的污泥燃料電池,其特征在于,所述光照為太陽光或者人造光源或者太陽光與人造光組合。
12.根據權利要求10所述的污泥燃料電池,其特征在于,所述光照強度范圍為1-100mW/cm2。
13.根據權利要求10所述的污泥燃料電池,其特征在于,所述光照的波長范圍為10-750nm。
14.根據權利要求10所述的污泥燃料電池,其特征在于,所述加熱的溫度范圍為25-350℃。
15.根據權利要求5所述的污泥燃料電池,其特征在于,所述氧化劑包括以下一項或任意兩項或兩項以上組合:磷鉬酸(PMo12O40)、磷鎢酸(PW12O40)、釩取代的磷鉬酸H5[PMo10V2O40]、H5[PMo9V3O40]、多金屬氧酸鹽的組合物(H3PW11MoO40)。
16.根據權利要求5所述的污泥燃料電池,其特征在于,所述氧化劑的所占陽極溶液的質量分數為0.5-50%。
17.根據權利要求5所述的污泥燃料電池,其特征在于,所述促進劑為增強污泥與氧化劑反應程度的組合物,包括以下一項或任意兩項或兩項以上的組合:路易斯酸、布朗斯臺德酸、路易斯堿。
18.根據權利要求5所述污泥燃料電池,其特征在于,所述促進劑濃度為2ppm-2%。
19.根據權利要求1所述的污泥燃料電池,其特征在于,所述陰極側組成物質包括催化劑、水和氧化劑。
20.根據權利要求19所述的污泥燃料電池,其特征在于,所述催化劑包括以下一項或任意兩項或者兩項以上的組合:磷鉬酸(PMo12O40)及其鹽類,磷鎢酸(PW12O40)及其鹽類,釩取代的磷鉬酸(PMo9V3O40,P3Mo18V7O85)及其鹽類,多金屬氧酸鹽的組合物(H3PW11MoO40)。
21.根據權利要求19所述的污泥燃料電池,其特征在于,所述催化劑的質量分數為0.1-70%。
22.根據權利要求19所述的污泥燃料電池,其特征在于,所述氧化劑為氧氣或者空氣。
23.根據權利要求1所述的污泥燃料電池,其特征在于,燃料流體連通的陽極電極的部分的溫度22℃至350℃。
24.根據權利要求1所述的污泥燃料電池,其特征在于,陽極溶液體積與陰極溶液體積比為1:0.5~1:20。
說明書
一種污泥燃料電池
技術領域
本發明屬于直接液體催化燃料電池領域,具體涉及一種污泥燃料電池,在低溫下直接將污泥轉化為電能,燃料不需要進行任何預處理。
背景技術
污泥(sludge)是污水處理過程所產生的介于液體和固體之間的粘稠物,由有機殘渣、細菌菌體、無機雜質和膠體等組成的極其復雜非均質體。隨著城市化進程的加快和水處理程度的加深,城市污水污泥的產量也急劇增加,預計到2020年,污泥產量將突破6000萬噸。此外,污泥中還含有Cd、Pb、As、Cu和Zn等對環境和人類健康有嚴重危害的重金屬元素及較多的病原微生物、寄生蟲卵和毒性有機物。污泥導致的環境污染問題日益突出,已造成極大的安全隱患、環境壓力和經濟負擔。如何合理地處置城市污水污泥,使其達到“減量化、無害化及資源化”的目的,已成為我國城市生態環境可持續發展的關鍵問題。
另一方面,從能源角度出發,城市污水污泥中日益提高的有機物含量和熱值也使其極具能源回收價值,利用先進的處理技術,提高城城市污水污泥的能源回收率,并用于替代部分化石燃料,對于解決全球變暖、促進能源結構調整,實現能源的可持續多元化發展,具有十分重要的意義。
污泥發電不但可以實現污泥的安全處理,同時還可以實現污泥資源化利用,是污泥合理利用的發展趨勢。燃料電池具有能量轉化效率和綠色環保的優點,被認為是一項非常具有前景的技術。以污泥為底物的微生物燃料電池技術(MFC),可以實現污泥降解和發電同步,功率輸出密度為40~250mW/m2。然而,該技術也存在具有諸多不足,如輸出功率密度低、穩定性差、污泥降解效率低、電極材料催化劑價格昂貴等。直接液體催化燃料電池技術是一種全新的燃料電池技術,該技術可以將如淀粉、纖維素、木質素等生物質在室溫下直接轉換為電能。污泥中含有一定量的有機質,理論上污泥中的有機質部分也可以與液體直接燃料電池中的陽極電解質發生氧化還原反應,產生電子和質子,電子經過外電路,對外做功從而實現污泥中的有機質能轉化為電能。以污泥為燃料的液體直接燃料電池技術可以實現污泥的高效、清潔利用,是一項極有前景的新型燃料電池技術。
發明內容
本發明涉及到一種污泥燃料電池,可以在低溫下直接將污泥轉化為電能,燃料不需要進行任何預處理。該污泥燃料電池的陰極和陽極分別采用不同類型的雜多酸(POMs)為催化劑和電荷載體,代替原來燃料電池中的貴金屬催化劑,最終實現了無貴金屬的直接污泥-電能液體催化燃料電池技術(LCFC)。由于采用雜多酸作為催化劑,其性能穩定、對燃料中雜質,如硫元素、氮元素等不敏感,因此污泥不需要進行任何 預處理。
該燃料電池包含兩個反應池,分別是陽極的雜多酸催化劑(POM-A)和污泥燃料以及陰極的雜多酸催化劑(POM-B)和氧氣。陽極反應器內POM-A首先被污泥還原,同時,POM-B在陰極被還原,被還原的POM-B可以被氧氣氧化再生。實際上,POM-A和POM-B均作為催化劑而不是反應劑,因為兩種多酸溶液可以完全被再生,沒有任何質量損失。因此,該燃料電池的凈反應僅涉及到了污泥的有機質成分和氧氣。具體反應過程可以分為四個步驟:
第一步,POM-A溶液首先在加熱條件下在陽極內被污泥里有機質成分還原,有機質上的電子由有機質轉移至POM-A;
第二步,通過蠕動泵使還原態POM-A溶液循環至石墨電極板上,此時,POM-A分子上所攜帶的電子通過石墨電極傳遞到外部電路,最終轉移到陰極的POM-B。與此同時,質子通過膜由POM-A轉移到POM-B。通過整個過程,儲存在的污泥有機質內的化學能轉化為電能,對外做功。
第三步,氧化態的POM-B接受外電路電子,被還原為相對低價態,電極電勢降低。
第四步,還原態的POM-B被氧氣氧化,失去電子,化合價升高,從而得到再生。與此同時,穿過質子膜的氫離子與氧離子結合生成水。
為了解決上述技術問題,本發明采取如下技術方案:
(1)一種污泥燃料電池,包括陽極側組成物質、陽極循環系統、質子交換膜、陰極側組成物質、陰極循環系統,所述質子交換膜置于陰極循環系統和陽極循環系統之間,陽極側組成物質儲存于陽極循環系統內,陰極側組成物質儲存于陰極循環系統內,兩側物質被質子交換膜隔離開,陽極側組成物質通過陽極循環系統將攜帶的電子傳遞到外部電路中,質子通過質子交換膜與通過陰極循環系統泵入陰極側組成物質、外電路電子結合生成水。
(2)根據(1)所述的污泥燃料電池,所述質子交換膜具有第一側和第二側,陽極電極及溶液置于質子交換膜的第一側,陰極電極及溶液置于質子交換膜的第二側。
(3)根據(1)或(2)所述的污泥燃料電池,所述陽極循環系統包括陽極液體蠕動泵、連接陽極電極板與陽極反應池的陽極管路。
(4)根據(1)-(3)任一項所述的污泥燃料電池,所述陰極循環系統包括陰極蠕動泵、連接陰極電極板與陰極反應池的陰極管路。
(5)根據(1)-(4)任一項所述的污泥燃料電池,所述陽極側組成物質包括污泥、液體氧化劑、水、促進劑、污泥降解過程中所生成的中間產物。
(6)根據(1)-(5)任一項所述的污泥燃料電池,所述污泥是指城市污水處理過程中產生的活性污泥,含水量在0-90%之間,基于脫水后污泥干基固體的揮發性固體含量30-95%。
(7)根據(1)-(6)任一項所述的污泥燃料電池,所述污泥干基的固體總有機碳含量為50g/kg-500g/kg。
(8)根據(1)-(7)任一項所述的污泥燃料電池,所述污泥的平均顆粒物直徑為15nm-100cm。
(9)根據(1)-(8)任一項所述的污泥燃料電池,所述污泥的質量濃度為0.5%至70%,所述污泥質量濃度以污泥干基為標準。
(10)根據(1)-(9)任一項所述的污泥燃料電池,所述污泥與氧化劑之間的氧化還原反應由光照或者加熱或者光照和加熱同時作用引發。
(11)根據(1)-(10)任一項所述的污泥燃料電池,所述光照為太陽光或者人造光源或者太陽光與人造光組合。
(12)根據(1)-(11)任一項所述的污泥燃料電池,所述光照強度范圍為1-100mW/cm2。
(13)根據(1)-(12)任一項所述的污泥燃料電池,所述光照的波長范圍為10-750nm。
(14)根據(1)-(13)任一項所述的污泥燃料電池,所述加熱的溫度范圍為25-350℃。
(15)根據(1)-(14)任一項所述的污泥燃料電池,所述氧化劑包括以下一項或任意兩項或兩項以上組合:磷鉬酸(PMo12O40)、磷鎢酸(PW12O40)、釩取代的磷鉬酸H5[PMo10V2O40]、H5[PMo9V3O40]、多金屬氧酸鹽的組合物(H3PW11MoO40)。
(16)根據(1)-(15)任一項所述的污泥燃料電池,所述氧化劑的所占陽極溶液的質量分數為0.5-50%。
(17)根據(1)-(16)任一項所述的污泥燃料電池,所述促進劑為增強污泥與氧化劑反應程度的組合物,包括以下一項或任意兩項或兩項以上的組合:路易斯酸、布朗斯臺德酸、路易斯堿。
(18)根據(1)-(17)任一項所述的污泥燃料電池,所述促進劑濃度為2ppm-2%。
(19)根據(1)-(18)任一項所述的污泥燃料電池,所述陰極側組成物質包括催化劑、水和氧化劑。
(20)根據(1)-(19)任一項所述的污泥燃料電池,所述催化劑包括以下一項或任意兩項或者兩項以上的組合:磷鉬酸(PMo12O40)及其鹽類,磷鎢酸(PW12O40)及其鹽類,釩取代的磷鉬酸(PMo9V3O40,P3Mo18V7O85)及其鹽類,多金屬氧酸鹽的組合物(H3PW11MoO40)。
(21)根據(1)-(20)任一項所述的污泥燃料電池,所述催化劑的質量分數為0.1-70%。
(22)根據(1)-(21)任一項所述的污泥燃料電池,所述氧化劑為氧氣或者空氣。
(23)根據(1)-(22)任一項所述的污泥燃料電池,燃料流體連通的陽極電極的部分的溫度22℃至350℃。
(24)根據(1)-(23)任一項所述的污泥燃料電池,陽極溶液體積與陰極溶液體積比為1:0.5~1:20。
本發明提供的一種污泥燃料電池,污泥首先被雜多酸-A(POM-A)溶液氧化,反應溫度為25~350℃,被還原的POM將所獲得的電子輸送至燃料電池的陽極。這些電子通過外部電路,最終被陰極的雜多酸-B(POM-B)所捕獲。在該燃料電池體系中,POM-B的電極電勢比被還原的POM-A電極電勢高,比氧氣的電極電勢低。因此,在該污泥燃料電池中,處于還原狀態的POM-A作為陽極,POM-B作為陰極。陰極中的 還原狀態的POM-B溶液可以被氧氣再次氧化,回到初始狀態。直接污泥燃料電池的能量密度可以達到100mW/cm2,表明本發明中所涉及的低溫直接燃料電池技術是一項非常有前景的新型燃料電池技術,可以將污泥中有機質的化學能轉化為電能而不造成任何環境污染問題。


