申請日2016.07.20
公開(公告)日2017.01.25
IPC分類號C02F9/06; C02F101/16; C02F101/34
摘要
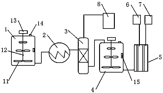
本實用新型公開了一種含烏洛托品甲醇的氨氮廢水的資源化處理系統,包括第一堿度調節罐,所述第一堿度調節罐的入口端與含烏洛托品、甲醇的氨氮廢水相連;所述第一堿度調節罐的出口端與換熱器的冷介質進口管道相連,并設有泵和閥門;所述換熱器的冷介質出口端與脫氨塔管道相連,并設有泵和閥門;所述脫氨塔的塔釜出口端與第二堿度調節罐管道相連,并設有泵和閥門;所述第二堿度調節罐的出口端與電滲析膜組件管道相連,所述電滲析膜組件的出口端分別與烏洛托品水溶液罐和鈉鹽溶液罐管道相連;本實用新型的優點在于:能夠及時準確地調節酸堿度,處理效果好,自動化程度高,提高了工作效率,降低了生產成本。
權利要求書
1.一種含烏洛托品甲醇的氨氮廢水的資源化處理系統,其特征在于:包括第一堿度調節罐,所述第一堿度調節罐的入口端與含烏洛托品、甲醇的氨氮廢水相連;所述第一堿度調節罐的出口端與換熱器的冷介質進口管道相連,并設有泵和閥門;所述換熱器的冷介質出口端與脫氨塔管道相連,并設有泵和閥門;所述脫氨塔的塔釜出口端與第二堿度調節罐管道相連,并設有泵和閥門;所述第二堿度調節罐的出口端與電滲析膜組件管道相連,所述電滲析膜組件的出口端分別與烏洛托品水溶液罐和鈉鹽溶液罐管道相連;所述的第一堿度調節罐和第二堿度調節罐包括罐體,所述罐體的頂部均設有加堿口,并設有加堿電磁閥,內部設有pH傳感器,所述罐體內設有攪拌葉輪,所述攪拌葉輪與設置在所述罐體外部的攪拌電機傳動相連;所述pH傳感器的輸出端與控制器的輸入端相連,所述控制器的輸出端與所述加堿電磁閥控制相連,根據pH傳感器的檢測數值,由控制器控制加堿電磁閥的關閉;所述攪拌葉輪設置在攪拌軸上,所述攪拌軸與所述攪拌電機傳動相連,所述攪拌葉輪垂直設置在所述攪拌軸上,且設有多組,多組所述攪拌葉輪自上而下長度依次增大。
說明書
一種含烏洛托品甲醇的氨氮廢水的資源化處理系統
技術領域
本實用新型涉及一種廢水處理系統,具體地說是一種含烏洛托品甲醇的氨氮廢水的資源化處理系統,屬于廢水處理領域。
背景技術
烏洛托品在酸性溶液中容易水解,在中性到弱堿性體系中加熱容易發生分解。在強堿性環境條件下,烏洛托品不易水解且即使加熱也很難分解。另外烏洛托品是一種有機堿,其在酸性到中性溶液中容易解離,而在強堿性條件下則不會發生解離。傳統處理含烏洛托品氨氮廢水的方法主要有高級氧化法和減壓蒸餾法。名稱為“一種含烏洛托品、甲醛或甲醇的氨氮廢水的資源化處理裝置”申請號為“201420755271.3”的中國實用新型專利公開了一種含烏洛托品、甲醛或甲醇的氨氮廢水的資源化處理裝置,它包括烏洛托品分離純化裝置、換熱器和氨水、甲醛或甲醇液體回收裝置;烏洛托品分離純化裝置通過換熱器與氨水、甲醛或甲醇液體回收裝置相連。然而,該裝置對于酸堿度的調節不夠準確,處理效果較差,自動化程度較低,降低了工作效率,增加了生產成本。
實用新型內容
為了解決上述問題,本實用新型設計了一種含烏洛托品甲醇的氨氮廢水的資源化處理系統,能夠及時準確地調節酸堿度,處理效果好,自動化程度高,提高了工作效率,降低了生產成本。
本實用新型的技術方案為:
一種含烏洛托品甲醇的氨氮廢水的資源化處理系統,包括第一堿度調節罐,所述第一堿度調節罐的入口端與含烏洛托品、甲醇的氨氮廢水相連;所述第一堿度調節罐的出口端與換熱器的冷介質進口管道相連,并設有泵和閥門;所述換熱器的冷介質出口端與脫氨塔管道相連,并設有泵和閥門;所述脫氨塔的塔釜出口端與第二堿度調節罐管道相連,并設有泵和閥門;所述第二堿度調節罐的出口端與電滲析膜組件管道相連,所述電滲析膜組件的出口端分別與烏洛托品水溶液罐和鈉鹽溶液罐管道相連。
其中,所述的第一堿度調節罐和第二堿度調節罐包括罐體,所述罐體的頂部均設有加堿口,并設有加堿電磁閥,內部設有pH傳感器,用于及時檢測罐體內部的酸堿度,所述罐體內設有攪拌葉輪,所述攪拌葉輪與設置在所述罐體外部的攪拌電機傳動相連,從而可以對調節罐內部進行混合攪拌,提高了調節效果。所述pH傳感器的輸出端與控制器的輸入端相連,所述控制器的輸出端與所述加堿電磁閥控制相連,根據pH傳感器的檢測數值,由控制器控制加堿電磁閥的關閉。所述控制器為單片機。
更進一步地,所述攪拌葉輪設置在攪拌軸上,所述攪拌軸與所述攪拌電機傳動相連,所述攪拌葉輪垂直設置在所述攪拌軸上,且設有多組,多組所述攪拌葉輪自上而下長度依次增大,提高了混合攪拌效果,不留死角。
含烏洛托品、甲醇的氨氮廢水首先加NaOH調節pH為12;然后從冷介質進口進入換熱器中換熱,換熱后的廢水從進料口進入脫氨塔中脫除氨和甲醇。塔頂得到氨水和甲醇溶液,塔釜得到烏洛托品的鈉鹽溶液;脫氨塔塔頂得到的氨水和甲醇混合液可直接用于烏洛托品生產工藝;塔釜出來烏洛托品鈉鹽溶液加堿調節pH為11,然后進入電滲析膜組件濃縮,得到烏洛托品水溶液和鈉鹽溶液。
本實用新型的優點在于:能夠及時準確地調節酸堿度,處理效果好,自動化程度高,提高了工作效率,降低了生產成本。



