申請日2016.05.13
公開(公告)日2016.08.03
IPC分類號C02F1/00
摘要
本發明提出一種用于污水處理的浮標式水質監測裝置,包括漂浮體、基座、錨鏈、重力錨,所述基座固定設置于所述漂浮體上,所述漂浮體的底部通過所述錨鏈與所述重力錨固定連接,所述基座的內部設置有蓄電池組、控制芯片,所述基座的頂部設置有LED燈,所述蓄電池組通過所述控制芯片與所述LED燈電聯接,所述基座的底部設置有發電機,所述發電機的底部設置有波浪能發電裝置,所述基座的側部還設置有石墨烯太陽能電池板,所述石墨烯太陽能電池板的輸出端與所述蓄電池組的輸入端電聯接;所述漂浮體上還設置有若干個金屬離子傳感器,每一個所述金屬離子傳感器的一端均與所述發電機電聯接,每一個所述金屬離子傳感器的另一端均與所述控制芯片電聯接。
權利要求書
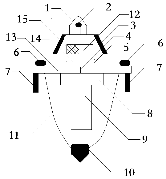
1.一種用于污水處理的浮標式水質監測裝置,其特征在于,包括漂浮體(13)、基座(5)、錨鏈(11)、重力錨(10),所述基座(5)固定設置于所述漂浮體(13)上,所述重力錨(10)設置于所述漂浮體(13)的下方,所述漂浮體(13)的底部通過所述錨鏈(11)與所述重力錨(10)固定連接,所述基座(5)的內部設置有蓄電池組(15)、控制芯片(12),所述基座(5)的頂部設置有LED燈(2),所述蓄電池組(15)通過所述控制芯片(12)與所述LED燈(2)電聯接,所述基座(5)的底部設置有發電機(14),所述發電機(14)的底部設置有波浪能發電裝置,所述基座(5)的側部還設置有石墨烯太陽能電池板(3),所述石墨烯太陽能電池板(3)的輸出端與所述蓄電池組(15)的輸入端電聯接;所述漂浮體(13)上還設置有若干個金屬離子傳感器(6),每一個所述金屬離子傳感器(6)的一端均與所述發電機(14)電聯接,每一個所述金屬離子傳感器(6)的另一端均與所述控制芯片(12)電聯接。
2.根據權利要求1所述的一種用于污水處理的浮標式水質監測裝置,其特征在于,所述波浪能發電裝置包括上葉輪裝置(8)、下葉輪裝置(9),所述上葉輪裝置(8)與所述下葉輪裝置(9)同軸,所述上葉輪裝置(8)的輸出軸與所述發電機(14)的輸入軸相聯接。
3.根據權利要求2所述的一種用于污水處理的浮標式水質監測裝置,其特征在于,所述發電機(14)與所述上葉輪裝置(8)之間還設置有用來釋放水壓力和空氣壓力的開式支撐架(4),所述基座(5)固定設置于所述開式支撐架(4)上。
4.根據權利要求1所述的一種用于污水處理的浮標式水質監測裝置,其特征在于,所述LED燈(2)的上方還設置有透光罩(1),所述透光罩(1)的底部固定設置于所述基座(5)的頂部。
5.根據權利要求1所述的一種用于污水處理的浮標式水質監測裝置,其特征在于,所述漂浮體(13)的底部還設置有若干個采樣筒(7),所述采樣筒(7)的外部設置有過濾網,所述采樣筒(7)的內部設置有開口槽,所述開口槽與所述金屬離子傳感器(6)相連接。
6.根據權利要求1所述的一種用于污水處理的浮標式水質監測裝置,其特征在于,所述金屬離子傳感器(6)采用銅離子傳感器或者汞離子傳感器或者。
說明書
一種用于污水處理的浮標式水質監測裝置
技術領域
本發明涉及一種用于污水處理的浮標式水質監測裝置,屬于污水處理技術領域。
背景技術
隨著工業的大規模發展,水體污染愈發嚴重,工業廢水在排放之前以及排放過程中都必須對水體進行不間斷監測,以保證千家萬戶的用水安全。
發明內容
本發明的目的在于克服現有技術存在的缺陷,解決上述技術問題,提出一種用于污水處理的浮標式水質監測裝置。
本發明采用如下技術方案:一種用于污水處理的浮標式水質監測裝置,其特征在于,包括漂浮體、基座、錨鏈、重力錨,所述基座固定設置于所述漂浮體上,所述重力錨設置于所述漂浮體的下方,所述漂浮體的底部通過所述錨鏈與所述重力錨固定連接,所述基座的內部設置有蓄電池組、控制芯片,所述基座的頂部設置有LED燈,所述蓄電池組通過所述控制芯片與所述LED燈電聯接,所述基座的底部設置有發電機,所述發電機的底部設置有波浪能發電裝置,所述基座的側部還設置有石墨烯太陽能電池板,所述石墨烯太陽能電池板的輸出端與所述蓄電池組的輸入端電聯接;所述漂浮體上還設置有若干個金屬離子傳感器,每一個所述金屬離子傳感器的一端均與所述發電機電聯接,每一個所述金屬離子傳感器的另一端均與所述控制芯片電聯接。
優選地,波浪能發電裝置包括上葉輪裝置、下葉輪裝置,上葉輪裝置與下葉輪裝置同軸,上葉輪裝置的輸出軸與發電機的輸入軸相聯接。
優選地,發電機與上葉輪裝置之間還設置有用來釋放水壓力和空氣壓力的開式支撐架,基座固定設置于開式支撐架上。
優選地,LED燈的上方還設置有透光罩,透光罩的底部固定設置于基座的頂部。
優選地,漂浮體的底部還設置有若干個采樣筒,采樣筒的外部設置有過濾網,采樣筒的內部設置有開口槽,開口槽與金屬離子傳感器相連接。
優選地,金屬離子傳感器采用銅離子傳感器或者汞離子傳感器或者。
本發明所達到的有益效果:本發明通過利用波浪能給金屬離子傳感器供電,利用太陽能給LED燈供電,利用控制芯片控制LED燈的通斷,實現了對于水體的水質實時監測,具有結構簡單、清潔環保、使用方便的優點。



